Banner
HomeTOCPrevNextGlossSearchHelp

PDF

Table of Contents

Installation

Installation

Installation


Parts Checklist

Before installing the system, verify that all ordered parts are present and in good condition. If anything is missing or damaged, report it to a StrataCom Order Administration.


IGX 16/32 Enclosures

Check the cabinet for the following inventory:

_____ [IGX 16/32] The unit has the correct number of card cages (1 or 2).
_____ The unit has the correct power type (AC or DC) and the factory-installed Power Entry Back Cards (PE-BC), one per shelf. For DC-powered systems, DC PEMs are factory-installed in each PE-BC. For an AC system, check for the power supply tray and correct number of power supplies and cables.


Plug-In Cards

Make sure all purchased cards are present. Check the number and type of cards shipped against the number and type of card purchased.

_____ Correct number of NPMs _____ Correct number of AIT-T3s
_____ Correct number of NTMs _____ Correct number of AIT-E3s
_____ Correct number of BTMs _____ Correct number of BC-T1s
_____ Correct number and types of CVMs _____ Correct number of BC-E1s
_____ Correct number and types of FRMs _____ Correct number of BC-J1s
_____ Correct number of FTMs _____ Correct number of BC-Y1s
_____ Correct number of HDMs _____ Correct number of BC-SRs
_____ Correct number of LDMs _____ Correct number of FRIs
_____ Correct number of LDIs _____ Correct number of FPCs
_____ Blank faceplates for unused back card slots _____ Correct number of SDIs
_____ Correct number of ARMs _____ Correct number of ARIs

An inventory list of the installed cards is shipped with the unit. The list includes each card's serial number, revision number, and slot number (serial and revision numbers are also found on the solder side of each card). Check for the presence of any other pieces on the shipping list. After verifying that the correct cards are present, tape a copy of the inventory list to the back of this manual.


Site Preparation

The IGX 16/32 site must satisfy the following requirements.

In a rack-mount system, the mounting rail pattern follows an EIA standard of 56 inches or 32 rack-mount units. For displacement information for the IGX and other StrataCom components in the STRATM cabinet, refer to Appendix E.

The IGX operating environment should be as follows:

Temperature and humidity range: 0° to 40° C (32° to 104° F). Up to 85% relative humidity, non-condensing.

Shock: withstands 10 G, 10 ms. at 1/2 sine wave.

Vibration: Withstands 1/4 G, 20 to 500 Hz.

For AC power use, an AC power source must be available within 6 feet (1.8 m) of the IGX. For systems using a DC source, StrataCom does not supply the DC power cord, so the user or installer determines the cord length.

A fully loaded IGX 16 using an AC power source dissipates up to 4300 BTUs, and a DC-powered IGX 16 dissipates up to 3600 BTUs. A fully loaded, AC-powered IGX 32 dissipates up to 8600 BTUs, and a DC-powered IGX 32 dissipates up to 6800 BTUs.

A fully loaded IGX 16 can weigh up to 250 lbs (112.5 kgs). A fully loaded IGX 32 can weigh up to 500 lbs. (225 kgs).


Note When moving a STRATM cabinet, do not push it at its sides. Push at the front or back. See "System Installation."

Raised flooring with sufficient under-floor space to house the cables is recommended.

The IGX is either mounted in a rack or free-standing (in a stand-alone cabinet). The location of the IGX should accommodate the routing of the data cables and the termination of the telephone company's or common carrier's circuits.


Seismic Considerations

To provide some protection against seismic activity, the feet and wheels of the IGX stand-alone cabinets can be removed to permit the cabinet to be bolted to a concrete floor or to a structural member in the floor.

In STRATM cabinets, provisions are available for seismic anchoring. Holes exist in the upper and lower corners for 3/8" or 1/2" bolts. Also, an optional stability plate can be purchased with the STRATM cabinet. The stability plate is bolted to the floor, then the STRATM cabinet is bolted to the stability plate. The "STRATM Seismic Anchoring" section contains instructions for installing the seismic stability plate.


Safety Requirements

The following paragraphs contain general safety information and information on T1 and CEPT (E1) safety requirements.


General Requirements

fig_1.gif Warning The following safety requirements must be observed:


Power and Grounding

This section lists the requirements that relate to electrical power and grounding. These requirements cover installations at Central Office (CO) and Private Enterprise locations.


Electrical Power for AC Units

An AC power source must be available within 6 feet (1.8 m) of the system and very accessible. Before turning on the power, verify that the power supplied to the node comes from a dedicated branch circuit.

The receptacles that the IGX plug into must be of the grounding type. The grounding conductors that connect to the receptacles should connect to protective earth at the service equipment.


Electrical Power for DC Units

Only a --48 VDC supply that complies with the Safety Extra Low Voltage (SELV) requirements of EN 60950 can connect to the IGX DC input.

For DC supply connections, 10 to 12 AWG (or a metric equivalent of 4 sq. mm) should be used. Individual national codes for proper conductor sizing may apply. The conductors must be suitable for 25 Amps.


Bonding and Grounding

To maintain the full EMI and EMC integrity of this equipment, it must be bonded to an Integrated Ground Plane or an Isolated Ground Plane network. The purpose of this is to mitigate the damaging effects to equipment from Electrostatic Discharge and Lightning. Refer to the latest edition of ITU Recommendation K.27 or Bellcore GR-1089-CORE requirements to ensure that the correct Bonding and Grounding procedures are followed. As recommended in these documents, a frame bonding connection is provided on the StrataCom STRATM cabinet for rack-mounted systems and on the stand-alone cabinets.

Refer to the section "Making the Frame Bonding (Ground) Connection," for information on the locations of the frame bonding connections and how to make a connection.

Except for the AC power supply module, every module in a rack-mount system relies on the rack itself for grounding. Therefore, the rack must be properly connected to protective earth before operating the system.

A DC powered IGX system must have grounding conductors connected at two separate locations, as follows:


CEPT Requirements

These requirements may be relevant to a private network connected to the public switched networks in some international service areas.


Note Cables must be attached so that their removal requires a tool.


STRATM Seismic Anchoring

This section describes installing the STRATM cabinet with the optional stability plate for seismic anchoring. If the stability plate is not present, go to the next section. To set up the STRATM cabinet with the stability plate:

Step 1 Use the dimensions in Figure 3-1 to drill the holes for installing the stability plate.

Step 2 Remove the stability plate from the inside-bottom of the STRATM cabinet. Save these nuts and bolts.

Step 3 With the user-provided anchoring bolts, attach the stability plate to the floor.

Step 4 Roll the STRATM cabinet over the stability plate as Figure 3-2 illustrates.

Step 5 Using the nuts and bolts from the shipping setup, secure the STRATM cabinet to the stability plate.

Figure 3-1 : Stability Plate Dimensions

h8334.gif

Figure 3-2 : STRATM Installation Over Stability Plate

h8335.gif


System Installation

Installing an IGX requires the following tools and equipment:

Rack-mount systems come with the parts described in the assembly instructions. As the instructions for DC-powered systems explain, the user provides the DC-power cable.


Stand-Alone System Installation

StrataCom stand-alone systems come with all components installed in the cabinet. So, the installation steps consist of placing the unit at its operational location, unpacking it, and verifying the structural and power connection integrity before turning on the power. Note that a stand-alone cabinet is 19.9" wide. The adjustable levelers require a 5/8" wrench. If the system has an AC power source, go to the "AC Power Connections"section. If the system has a DC power source, go to the "DC Power Connections" section.


IGX 16 Rack Mount Installation

The rack-mount IGX 16 fits in a 19 inch (48.25 cm.) rack. The front of each assembly chassis has flanges that serve as the front mounting brackets. The assembly kit contains other brackets for different mounting setups. The following order of component installation is the most convenient and efficient. For some of these components, separation sections are named that contain detailed installation steps.

  1. Optional AC power assembly

  2. Cooling unit

  3. Card cage

  4. Exhaust plenum

The miscellaneous parts kit for rack systems contains brackets for both a STRATM cabinet and a user-supplied rack. The kit includes mid-mount brackets for open racks.

The rear-mount brackets attach to the rear vertical rail in a STRATM cabinet. Each of these brackets has a horizontal flange upon which the back of each IGX component rests. The front of each assembly chassis has flanges that serve as the front mounting brackets.

fig_3.gif Caution If an IGX is mounted in a user-supplied cabinet, be sure an unrestricted air flow is available in and out of the enclosure. If necessary, contact the ISC for assistance.

To install the IGX in a rack:

Step 1 Decide on the IGX location. See Figure 3-3 for dimensions (Figure 3-4 for metric).

fig_4.gif Caution When moving a STRATM cabinet, do not push the cabinet at its sides. Instead, grip its front or back edges.

Step 2 To install the optional AC power supply kit, do the steps in the "Installing the AC Power Supply Assembly" section later in this chapter.

Step 3 To install the cooling unit, do the steps in the "Installing the Cooling Unit" section later in this chapter.

Step 4 Position the IGX card cage so that the back of it faces the rack.

fig_5.gif Caution An empty IGX card cage weighs 75 pounds (34 Kgs.) and requires a 2 or 3-person lift to move into place.

Figure 3-3 : IGX 16 Rack Mounting Dimensions

h8336.gif

Step 5 With one person on each side of the card cage, lift and slide it into the rack.

Step 6 Attach the cabinet to the rack with 8 #10-32 machine screws (from the kit).

Step 7 If the system is DC-powered, see the "DC Power Connections"section. For AC-powered systems, see the "Installing the AC Power Supply Assembly" section.

fig_6.gif Caution Make sure that mounting the equipment does not create a hazardous condition due to uneven mechanical loading. The equipment rack should be securely supported.


IGX 32 Rack Mount Installation

The IGX 32 is designed for mounting in a 19 inch (48.25 cm.) equipment rack. The following order of component installation is the most convenient and efficient. For some of these components, separation sections are named that contain detailed installation steps.

  1. Optional AC power assembly

  2. Lower cooling unit

  3. Lower card cage

  4. Upper card cage

  5. Ribbon cables for connecting upper and lower backplanes

  6. Card cage tunnel around backplane ribbon cables

  7. Upper cooling unit (also called booster fan unit)

  8. Exhaust plenum

The miscellaneous parts kit contains brackets for rack-mounting in either a STRATM cabinet or a user-supplied rack. The kit includes mid-mount brackets for open racks. For a STRATM cabinet, the rear-mount brackets attach to the rear vertical rail. Each of these brackets has a horizontal flange upon which the back of an individual component rests. The front of each assembly chassis has flanges that serve as front mounting brackets.

fig_7.gif Caution If an IGX goes in a user-supplied cabinet, be sure air can freely flow in and out of the enclosure.

fig_8.gif Caution When moving a STRATM cabinet, do not push the cabinet at its sides. Instead, grip the front or back edges.

Step 1 Refer to Figure 3-4 for component dimensions. Note that, although Figure 3-4 shows mid-mount and rear-mount brackets, these brackets are not normally used together.

Step 2 To install the optional AC power supply kit, do the steps in the "Installing the AC Power Supply Assembly" section next.

Step 3 To install the cooling unit, do the steps in the "Installing the Cooling Unit" section later in this chapter.

Step 4 Install the brackets for the card cages.

Step 5 Position the IGX card cage so the back of it faces the front of the cabinet.

Figure 3-4 : IGX 32 Rack Mounting Dimensions

h8337.gif

fig_9.gif Caution An empty card cage requires a 2 or 3-person lift to move.

Step 6 With one person on each side of the card cage, lift it into the rack. In a STRATM cabinet, rest the back of the card cage on the rear-bracket flange.

When mid-mount brackets are used, screw the card cage to the brackets with #10-32 machine screws from the miscellaneous parts kit.

Step 7 Secure the front of the card cage to the front of the rack with #10-32 machine screws from the miscellaneous parts kit.

fig_10.gif Warning Make sure that mounting the equipment does not create a hazardous condition due to uneven mechanical loading. The equipment rack should be securely supported.

Step 8 The folded ribbon cables that connect the upper and lower backplanes pass through a cut-out space in the card cages. The cables connect to two, 100-pin connectors on the front of each backplane. See Figure 3-5. If NPM cards are present, these and possibly other front cards need removing prior to ribbon cable installation.

Connect the cable from the upper connector of the upper backplane to the upper connector in the lower backplane.

Connect the cable from the lower connector of the upper backplane to the lower connector in the lower backplane.

Step 9 A two-piece conduit called the card cage tunnel surrounds the ribbon cables and sits in the cut-out space of the card cages. Fit the pieces of the card cage tunnel around the ribbon cables and screw this unified piece into the cut-out space. Figure 3-5 shows the card cage tunnel in its normal location and prior to assembly.

Step 10 Slip the ribbon cables through the fastener clamps, then attach the fastener clamps (which include a self-adhesive base) to the side of the card cage. See Figure 3-5.

Step 11 If this is an AC-powered system, do the procedures in the "Installing the AC Power Supply Assembly" section later in this chapter.

Step 12 If this is a DC-powered system, go to the "DC Power Connections" section later in this chapter.

Figure 3-5 : IGX 32 Backplane Connector Cables

h8338.gif


Installing the AC Power Supply Assembly

If the IGX node is to be AC-powered, proceed with this section. In a rack-mount system, the AC Power Supply Assembly is shipped separately (as are all the other assemblies). The first assembly to install in a rack-mount system is the AC power supply assembly.

The AC power supply assembly consists of the following items:

Power supply installation or replacement requires the following tools:


Understanding the AC Power Supply Configuration

The setup for power supplies depends on the number of AC power inputs, the IGX model, and the number of cards in the system. The minimum configuration is one AC source and one supply. This minimum number applies to the IGX 16: with 12 or fewer cards, 1 supply is enough. Figure 3-6 illustrates the alphanumeric slot designations in a full tray. The paragraphs that follow refer to these designations.

Figure 3-6 : Power Supply Slot Designations

h8339.gif


Redundancy

Two types of redundancy exist in the AC power supply configuration. One redundancy is that of AC power inputs. A redundant AC power source from a building circuit that is separate from the other AC circuit provides backup if one AC circuit at the site fails. The other redundancy is that of the 875-Watt power supply modules. Redundancy of the 875-Watt supplies provides a backup if a supply fails.

In supporting the two types of redundancy, power supply arrangements differ, as follows:


Power Supply Quantities

Table 3-1 shows the required number of power supplies for the different IGX systems. In Table 3-1, the locations for primary (or minimal) power supplies are marked with an X. The primary supplies reflect redundancy of AC inputs and backup supplies. An O indicates a slot that must have a supply because the card cage contains more than 12 cards.

In Table 3-1, the System column lists the IGX model number coupled with the number of AC inputs and whether the single-AC input models have power supply redundancy. The table also shows the slot locations A through F and the part number of the kit that contains all the pieces for the item in the System column. Extra supplies for more than 12 cards (O) are not a part of a kit under Kit Part No. but have another part number. The part number of a supply ordered to fill extra power demands is IGX-AC-PS.

Table 3-1 : Locations of Primary and Additional Supplies

System A B C D E F Kit Part No.
IGX 16: 1 AC input, no power supply redundancy X O IGX16-AC1-1
IGX 16: 1 AC input, with power supply redundancy X X O IGX16-AC2-1
IGX 16: 2 AC inputs X O X O IGX16-AC2-2
IGX 32:1 AC input, no power supply redundancy X X O IGX32-AC2-1
IGX 32: 1 AC input, with power supply redundancy X X X O IGX32-AC4-1
IGX 32: 2 AC inputs X X O X X O IGX32-AC4-2

Note that, with all power supply configurations, locations for the power supplies begin at the lowest lettered slot on either side, and the occupied positions are contiguous. For example, in a dual AC system, insert a supply in A, B, D, and E.


AC Installation in a Rack-Mount Cabinet

The procedures in this section apply to both the IGX 16 and the IGX 32 in a rack. (For stand-alone systems, the power supplies are already installed.) To replace a power supply, follow the steps in the chapter titled "Repair and Replacement."

Step 1 Attach the mounting brackets to the frame. For illustrative purposes, Figure 3-7 shows mounting brackets at mid-frame and the back (using rear and mid-mount brackets is not a likely configuration). In this view of the cabinet, the rear bracket shown is labeled with a -00. Brackets on the other side of the system a -01.

Figure 3-7 : Front of Rack Mount System

h8340.gif

Step 2 This step may require more than one person. If rear-mount brackets are used, slide in the power supply tray so its back rests on the rear bracket.

For a mid-mount rack only, attach the tray to the mounting brackets with the head of each mounting screw on the inside of the tray and each associated nut on the outside of the bracket.

Step 3 Secure the front of the power supply tray with the front screws. When tightening each of the front screws, hold the adjacent front flange of the tray slightly to the outside so the hinged door can freely open and close. See "Front Flange" in Figure 3-7. The space between the right-angle edge of the flange and the edge of the hinged door should be approximately the width of a thumbnail.

Step 4 Install the power supplies. See Figure 3-8 for an illustration of a power supply. When a power supply almost reaches the end of the slot in the tray, a slight resistance is encountered. Push the power supply slightly farther in to achieve the final position and full connector mating.

Step 5 At the front of each supply, secure the supply to the tray by tightening the captive screw at the bottom/front of the supply.

Figure 3-8 : Power Supply (viewed from front and left)

h8341.gif

Step 6 For slots without a power supply, the hinged door has a removable, dummy panel.

Step 7 Close the hinged door and secure it with the screw at the top-center of the door. For the next step, refer to Figure 3-9, Figure 3-10, and Figure 3-11.

Step 8 Connect the power cables according to the applicable AC configuration shown in Figure 3-9. The cables in Figure 3-9 differ only in length: pinouts are identical. Attach cable 215982-01 from the far right connector---labeled A 1-16 in Figure 3-10---to the lower connector on the upper PE-BC. Figure 3-11 shows where system power connects to the PE-BC. It also shows the blank plate over an unused connection. If power supply trays D--F contain one or more supplies, run cable 215982-02 from the connector on the far left (B 1-16) to the upper connector on the PE-BC. See Figure 3-9 and Figure 3-10. For an IGX 32, run cable 215982-00 from the connector labeled 17-32 to the lower connector on the lower PE-BC.

Step 9 Attach the cable guard and tighten the captive screw at its base.

Step 10 Go to the "Installing the Cooling Unit" section.

Figure 3-9 : Wire Diagrams for Different Power Configurations

h8342.gif

Figure 3-10 : AC Power Supply Shelf Back View

h8343.gif

Figure 3-11 : Inserting System Power Connector to E-Card, AC-Powered System

h8344.gif


Installing the Cooling Unit

This section describes how to install the main fan tray (Fan Tray 1) in an IGX 16 and 32 and the upper or booster fan tray (Fan Tray 2) in an IGX 32. Figure 3-12 shows the main fan tray. Figure 3-13 shows the locations of Fan Tray 1 and Fan Tray 2 in an IGX 32.

Figure 3-12 : Fan Tray Assembly

h8308.gif 8 z

Two cables exist for supplying power to the fans. The short fan power cable is used in both the IGX 16 and the IGX 32. The long "Y" cable is used in the IGX 32 only. See Figure 3-13. In an IGX 16, the short cable connects to connector "Fan 1" of the PE-BC.

In an IGX 32, the short cable goes from the "Fan 2" connector of the upper PE-BC to the power connectors on Fan Tray 2. One branch of the Y cable for Fan Tray 1 is significantly longer than the other branch. The longer branch connects to the "Fan 1" connector of the upper PE-BC. The shorter branch connects to the "Fan 1" connector of the lower PE-BC.

To install the cooling unit assembly:

Step 1 Examine the front and back of the fan tray to be familiar with the setup. Note that, for the bottom fan tray, the captive screws that secure the fan tray are in the front. For the booster fan tray, the captive screws reside at the back of the cabinet.

Step 2 Slide in the cooling unit. and secure it by tightening the four rack screws.

Step 3 On the PE-BCs, plug each D-connector of the appropriate fan power cable into the appropriate PE-BC connector.

Step 4 Plug the power connectors into the fan trays. At the power receptacles on each fan tray, the power connector is a latched housing. Plug P1 into connector P1. Plug P2 into connector P2. Refer to Figure 3-12.

Step 5 Attach the clamp for the fan power cord to the chassis.

Step 6 For lower fan tray installation, attach the air intake bezel.

Step 7 When power is turned on, make sure all fans are running, and execute dsppwr.

Figure 3-13 : IGX 32 Back View

h8345.gif


Readying the Cards

Before installing the cards, a step is necessary to indicate to the SCM whether the system is an IGX 16 or an IGX 32. The step consists of either removing or leaving a jumper switch on the SCM. The switch is W6. It sits above component U7P (near the top of connector P2). To indicate an IGX 32, remove the jumper. To indicate an IGX 16, leave the jumper. Make a record of this step so that checking the card later is not necessary.

Y-cable redundancy is a supported feature for many card sets. It requires an extra set of cards and a Y-cable. A set of Y-redundancy commands are also used. For instructions on setting up Y-cable redundancy, refer to the setup section for the specific card set.

fig_11.gif Warning Connector pins must align with receptacles. Before card insertion, make sure that the pins are straight and that the connectors on the card and backplane align with each other. Insert the card gently. It may be necessary to push the edge of the card slightly to one side (this may require removing cards).

The locations of the cards depend on the hardware configuration. Except for the reserved slots, cards can reside in any slot on the appropriate side of the node. (However, StrataCom recommends that the optional ARM/ARI card set reside in slot 16.) The reserved slots are for the NPMs and SCM. The NPM can reside in front slots 1 and 2. The SCM must reside in back slot 1. Refer to Figure 3-14 for a front view of a shelf in an IGX 16 with 2 NPMs.

The NPM B versions require a minimum level of system software. Refer to the Release Note that comes with this manual to see if the software supports the NPM B version.

An IGX 32 can support a configuration of up to 16 trunk cards. This includes combined NTM and BTM card sets.


Note FRM and NTM front cards come in one or two-piece versions. The two-piece card uses an ACM1. See Chapter 2 for details.


Note A 5/32" Allen wrench is necessary to open the door. The StrataCom combination tool (PN 218705) has this wrench and a No. 1 phillips screwdriver for front card screws.

The locations for the NPMs and SCMs in an IGX 16 and an IGX 32 are as follows:

  • IGX 16 (Non-Redundant)

    • NPM in front slot number 1

    • SCM in back slot number 1 behind NPM front slot number 1

  • IGX 16 (Redundant)

    • NPMs in front slot numbers 1 and 2

    • SCM in back slot number 1 behind NPM front slot number 1

Figure 3-14 : IGX 16 Card Shelf, Front View

h8346.gif

  • IGX 32 (Non-Redundant)

    • NPM in front slot number 1

    • SCM in back slot number 1 behind NPM front slot number 1

  • IGX 32 (Redundant)

    • NPMs in front slot numbers 1 and 2

    • SCM in back slot number 1 behind NPM front slot number 1

Figure 3-15 shows back card shelves in an IGX 32.

Figure 3-15 : IGX 32 Back View

h8347.gif


Making Power and Ground Connections

This section contains information on making ground and power connections to the AC and DC powered IGX 16/32 nodes.

fig_12.gif Warning Before connecting power, verify all circuit breakers are off.


Making the Frame Bonding (Ground) Connection

The STRATM cabinet designed by StrataCom comes with attached studs (with hardware for securing a ground conductor to the studs) at the top and bottom of the cabinet for securing the grounding conductors. These studs a 1/4" by 20 threads per inch. Figure 3-16 shows the STRATM cabinet with the ground attachment studs in the upper and lower parts of the cabinet.

A stand-alone cabinet has provisions for mounting grounding conductors on the chassis by screws. In the stand-alone cabinet, this provision is a pair of captive nuts (threaded holes) for the screws on the mounting rail of the chassis (1/4" by 20 threads per inch). Figure 3-17 shows the location of the captive nuts and screws in a stand-alone cabinet for securing in the ground attachments.

The attachment points in the STRATM and stand-alone cabinets are indicated by a ground symbol on the cabinet near the point of attachment.


STRATM Cabinet Connections

StrataCom recommends that the stacking order for attaching a ground conductor to the frame is for "an external tooth starwasher" to be placed first onto the stud, followed by the connector terminating the grounding conductor closed-loop ring or two-hole compression fitting, followed by "another external toothed starwasher or lockwasher," and finally a nut.


Stand-alone Cabinet Connections

It is recommended that the stacking order for attaching a ground conductor to the frame is for "an external tooth starwasher" to be placed first onto the screw, followed by the connector terminating the grounding conductor closed-loop ring or two-hole compression fitting, followed by "another external toothed starwasher or lockwasher." This assembly is screwed into the captive nut in the mounting rail beneath the cover plate. See Figure 3-17.

Figure 3-16 : Frame Bonding Connection in STRATM Cabinet

h8215.gif

Figure 3-17 : Frame Bonding Connections in Stand-Alone Cabinet

h8348.gif


AC Power Connections

The shipment includes an eight-foot (3 m.) power cord for each AC power-feed. For a dual-feed system, make sure a separate branch circuit is available for each power cord, otherwise the purpose of having redundant power sources is defeated. To make AC power connections:

Step 1 Make sure all AC and system power circuit breakers are in the OFF position.

Step 2 Make sure the wiring in the AC plug has the standard relationship shown in Figure 3-18.

Figure 3-18 : AC Plug Wiring

h8367.gif

Step 3 Plug each power cord into the IEC connector and tighten the screw on the clamping ring. Figure 3-19 shows a single-feed, AC system.

Figure 3-19 : Circuit Breakers

h8349.gif

Step 4 Plug each AC power cord into a single-phase wall outlet rated for a nominal voltage between 200 and 240 VAC. Each outlet must also be capable of supplying up to 16 Amps (13 Amps in the UK, where the plug has a built-in, 13 Amp fuse). In North America, the building circuit should be protected with a 20 Amp circuit breaker.

Step 5 The ground (green) wire of each AC power cord is connected to the IGX for safety ground. Make sure each AC receptacle in the building is grounded.

Step 6 Provide an AC power strip with at least four outlets. Place it near the IGX node to supply optional modems, CSU, DSUs, or test equipment. Be sure to connect this power strip to an AC source voltage that is standard for the region (for example, 115 VAC in North America).


Note Neither the AC power supplies nor any other components have test points for checking power supply voltages. For a visual check when power is on, observe whether the AC OK LED and DC OK LED are lit. Also, use the dsppwr command to check the state of power supplies.


DC Power Connections

This section explains how to attach power to the pre-installed PEMs in redundant and non-redundant configurations. Systems that use a DC power source have up to four possible configurations, as follows:

  • IGX 16

    • Single power source

    • Dual power source (supplied by separate branch circuits)

  • IGX 32

    • Single power source for each shelf

    • Dual power source for each shelf (supplied by separate branch circuits)

Wiring is connected from one or two --48 VDC power sources to one or two DC PEMs on each shelf. Refer to the following figures for the possible DC PEM arrangements:

  • For an IGX 16 with a single DC power source, see Figure 3-20.

  • For an IGX 16 with redundant DC power sources, see Figure 3-21.

  • For an IGX 32 with a single DC power source, see Figure 3-22.

  • For an IGX 32 with redundant DC power sources, see Figure 3-23.

Figure 3-20 : IGX 16 With Single DC Source

h8350.gif

Figure 3-21 : IGX 16 With Dual DC Sources

h8351.gif

Figure 3-22 : IIGX 32 With a Single DC Source

h8352.gif

Figure 3-23 : IGX 32 With Redundant DC Sources

h8353.gif

Installing DC power consists of attaching the three wires from the DC power source to a removable wiring block and plugging that block into the connector on the PEM. The PEM is plugged into the PE-BC. Figure 3-24 is a view of a PE-BC out of the card cage with the PEM wired up and plugged into the PE-BC. Figure 3-24 shows a PE-BC with one PEM in place and the other connection not used. An unused connection has a blank cover plate.


Note StrataCom does not provide DC wiring. Instead, the installer or customer must supply it. For DC supply connections, use 10 to 12 AWG (or a metric equivalent of 4 sq. mm). These wires should be capable of carrying 25 Amps. Individual national codes for proper conductor sizing may apply.


Note DC-powered systems make no distinction between a primary and redundant PEM (unlike the redundancy scheme in an AC-powered system). However, StrataCom suggests marking each PEM with a label that identifies its branch circuit.

Figure 3-24 : PE-BC and DC PEM With Plug

h8303.gif

To make a DC power connection:

fig_13.gif Warning Remember that this is a positive ground system. Ensure that polarity of the DC input wiring is correct. Under certain conditions, connections with reversed polarity may trip the primary circuit breaker and/or damage the equipment.

Make sure the circuit breaker is in the OFF position.

Step 1 For both rack-mount and stand-alone systems, the cable guard (located at the right edge of the chassis) remains off until the system is ready to power up. If the system is a stand-alone, remove the cable guard by loosening the captive screw at its base then swinging it away from the chassis (do this latter movement holding the top of the cable guard in place while moving the bottom of it away from the chassis).

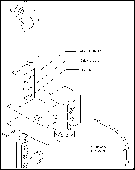
Step 2 Insert and secure the stripped ends of the wire in the wiring block according to the scheme in Figure 3-25 and Figure 3-26. Figure 3-26 illustrates the polarity of each connection on the pluggable terminal block. The numbers start with 1 at the bottom and go up to 3. The connection at the bottom is for the --48 VDC wire. The middle wire is Safety Ground. The connection at the top is for the positive return wire (for the --48 VDC). Figure 3-26 shows the assembly with an example wire and the screw that secures it in the pluggable wire block.

Figure 3-25 : Polarities at Pluggable Terminal Block

h8354.gif

Step 3 Attach the pluggable terminal block to the receptacle on the PEM.

Step 4 Loop the DC wiring through the strain relief clamp.

fig_14.gif Warning For personal safety, the green or green/yellow wire must connect to safety (earth) ground at the equipment and the supply side of the DC wiring.

Step 5 Connect the DC input wiring to a DC source capable of supplying 25 Amps per shelf. The -48 VDC power source in the building should have a 25 A DC circuit breaker for each shelf in an IGX 16 and a 50 Amp circuit breaker for each shelf in an IGX 32. The building's wiring should include an easily accessible disconnect device. Make sure the ground wire connects to a reliable building (earth) ground.

Figure 3-26 : Pluggable Terminal Block

h8304.gif

Step 6 Leave the cable guard off until power is on. See the "Initial Startup of the IGX" section.

Step 7 Before turning the system power on, check the supply voltage. Use the screws at positions 1 and 3 on the pluggable terminal block as a convenient measuring point. Also, check the impedance between the safety ground (screw at location 2 on the pluggable terminal block) and the chassis. It should be close to 0.


Note The building circuit breaker provides primary over-current protection. In North America, this protection should accord with standards NEC ANSI/NFPA70 in the U.S or CEC C22.1 in Canada for excess current, short circuits, and earth faults.


Making Signal Connections

This section describes how to make IGX signal connections.

The following trunk connections are supported:

  • T1

  • E1

  • Subrate

  • Y1

  • T3

  • E3

The following service module connections are supported:

  • Channelized Voice/Data

    • T1

    • E1

    • J1

  • Data

    • RS-449

    • V.35

    • RS-232D

    • RS-232C

    • DDS

  • Frame Relay

    • T1

    • E1

    • V.35

    • X.21

  • FastPAD

    • V.35

    • X.21

  • ATM

    • T3

    • E3

Alarm Relay


Making T1 or Y1 Trunk Connections

T1 trunk connections use the NTM front card and the BC-T1 back card. Japanese Y1 connections use the NTM front card and the BC-Y1 back card. The procedure for making Y1 connections is the same as for T1 connections described below.

Make the T1 connections as follows:

Step 1 Bring each T1 cable through the opening at the bottom of the cabinet (if applicable) and up the back of the unit.

Step 2 Use the cable management feature to help route the cables.

The T1 lines are attached to DB-15, Sub miniature, 15-pin connectors on the BC-T1 cards.

Step 1 Connect the trunks to the connectors on the BC-T1 back cards that are part of NTM/BC-T1 card sets. Figure 3-27 illustrates a BC-T1 face plate.

Figure 3-27 : BC-T1 Faceplate

h8316.gif

The back slot line numbers correspond to the back slot number in which the BC-T1 card resides. Record the back slot number of each line. These number are necessary for configuring the system after installation is complete.


Note If the number of trunks is odd, connect as many as possible in pairs, and connect the remaining lines in ascending order.


Making E1 or Subrate Trunk Connections

E1 trunk connections use the NTM front card and the BC-E1 back card. Subrate E1 connections use the NTM front card and the BC-SR back card. The E1 Trunk Interface Card BC-E1 (Figure 3-28) contains the E1 trunk connector (G.703 Input/Output) that is located at the top of the back card. There are four 75 ohm BNCs on the BC-E1 faceplate.


Note The BC-E1 faceplate provides two connector arrangements for attaching E1 lines (see Figure 3-28). Depending upon the cable and connector to be used, you can use either the two BNC (RX and TX) connectors or the 15-pin DB connector.

Figure 3-28 : BC-E1 Faceplate Detail (Typical)

h8317.gif

fig_15.gif Caution Connect only equipment that complies with BS6301 to ports and monitor jacks.

Make the E1 connections as follows:

Step 1 Bring each E1 BNC patch cable (or 15-pin cable) through the opening at the bottom of the cabinet (if applicable) and up the back of the unit.


Note Some versions of the BC-E1 use a metal BNC connector instead of a plastic BNC. When terminating 75 or 120 ohm balanced E1 lines to the metal BNC connectors on these back cards, remove and discard the BNC mounting nuts. This removes the ground that normally appears on one side of the connector shell.

This step is not required when using the DB15 connector or for back cards that use the plastic BNC connectors.

Step 2 Connect the trunks to connectors on the BC-E1 back card that are part of a NTM/BC-E1 card set.

Step 3 Use the cable management feature to help route the cables.


Note Check card alignment. The BC-E1 card with the E1 trunk attached should be in line with the NTM card.

The back slot line numbers correspond to the back slot number in which the BC-E1 card resides. Record the back slot number of each line. These number are necessary for configuring the system after installation is complete.


Making T3/E3 Trunk Connections

AIT cables connect the BTM front card to a node at the back card.

The AIT back card has female BNC connectors for transmit and receive trunk connections. Use 75-ohm coax cable RG-59 B/U for short runs, AT&T 734A for longer runs. There are two per T3/E3 trunk (XMT and RCV). Cabling requirements appear in Appendix C. Figure 3-29 shows an AIT-T3 faceplate with connections and LED indicators.

Figure 3-29 : AIT-T3 Backcard Faceplate

fig_2.gif


Making ATM Connections on a Circuit Line

The ALM (ATM Line Module) and UAI-1T3-BC (Universal ATM Interface T3 Back Card) set provide an interface for ATM traffic between user equipment and the node. This section reviews the characteristics and describes how to set up this feature. For a description of this circuit line card set, refer to the ALM description in the chapter titled "Hardware Description." The following characteristics apply to ALM:

  • Receive and transmit traffic uses a pair of BNC connectors on the UAI-1T3-BC.

  • Maximum number of connections is 256.

  • The only supported interface is UNI.

  • The only applicable debug command is dspplnutl.

  • The supported connection types are CBR, ABR, and VBR. CBR connections carry non-timestamped data. VBR and ABR carry bursty data A.

  • The configurable parameters are the Receive Packet Rate and the header type.

  • Y-cable redundancy is supported.

After the ALM card has been activated, take the following steps:

Step 1 Using the cnfpln command:

  • Specify the packet line receive rate. This is the maximum rate allowed on the receive port. The range is 1000 to 80000 packets per second. The transmit rate (to the user equipment) is fixed at the full T3 rate.

  • Specify the header type. With a VCC header type, subsequent use of the addcon command requires the VPI and VCI for each connection. With a VPC header, subsequent use of the addcon command requires a single VCI entry, all connections from the external device use.

Step 2 Using addcon involves neither the standard ATM class nor many of the parameters for ATM connections on a trunk. Neither cell rate policing nor ForeSight is involved. Parameter specification consists of:

  • Local slot.vpi.vci

  • Remote node name

  • Remote slot.vpi.vci

  • Connection type

  • Cell rate

After configuring the line with cnfpln, use dspplns to check configuration. The system prepends the letter "u" to the connection type to show that the connection is on an ALM. For example, "ucbr" is an ATM CBR connection on an ALM. During network operation, the dspplnutl command shows the amount of traffic and percent of utilization on the line.


Making Channelized Voice Data Connections

The CVM front card operates with either a BC-T1, BC-E1, or BC-J1 back card to provide channelized voice and data connections. Back card cabling is identical to that of trunk T1, E1 and J1 connections, respectively. Refer to "Making T1 or Y1 Trunk Connections" section and "Making E1 or Subrate Trunk Connections" section for details. For information on CVM support of Dynamic Circuit Switching (DNS), refer to the DNS Installation and Operation manuals.

The next section describes a specialized version of data transmission service called TDM Transport. It applies to older, non-StrataCom WANs.


TDM Transport

This section describes how to plan for the Time Division Multiplexing Transport (TDM Transport) feature. Note that TDM Transport requires Rev. C firmware on all connected CVMs or CDPs that use this feature. Refer to the section "The TDM Transport Feature" in Chapter 1, for a description of Rev. C firmware features and limitations. Refer to the Command Reference for a description of the command parameters in related commands.

Before adding a bundled connection under TDM Transport, consider the following:

  • If the connection goes over a T1 trunk, configure the line coding for B8ZS instead of ZCS. Use the cnftrk command to do this.

  • Add the least number of bundled connections to create the data channels.

  • The longest delay for a connection determines the end-to-end delay for the entire transparent circuit through the network.

  • The Maximum Network Delay is the sum of maximum queuing delays for the trunk cards over which an individual connection is routed. The Maximum Network Delay for a high-speed data connection is 45 ms. Specify this limit using the cnfsysparm command.

  • The total delay for a connection is defined as the sum of the propagation and trunk queuing delays. The total delay for a connection cannot be more than 25 ms different from the total delay for any other connection on the same card. The user is responsible for configuring the connections so that no difference between total delays exceeds 25 ms. If the 25 ms is exceeded, an error message is generated in the form CC0700d6, where CC is the slot number.

  • In System Software 8.2, add the connection with addcon using 7/8 coding even though the system internally uses 8/8 coding. This causes the system to reserve the additional bandwidth required for the TDM Transport feature.


Making Data Connections

The Low-Speed Data Module (LDM) and High-Speed Data Module (HDM) front cards operate with a variety of data interface back cards to provide data connections. The LDM uses an LDI card for an interface. The HDM uses an SDI card.

The LDM front card uses the 4-port or 8-port version of the LDI back card for RS-232C/D (V.24) connections or with the LDI4/DDS back card for DDS (Digital Data Service) connections. The data connection ports are labeled PORT 1 through PORT 4 or PORT 1 through PORT 8. See Figure 3-30 for illustrations of these back cards. For instructions on configuring an LDI port for DTE or DCE mode, refer to the forthcoming section titled Configuring the Mode of an LDI Port.

The HDM front card works with an SDI back card. Four types of SDIs are available. These are the V.35, RS-449/422, RS-232D, and RS-232C (V.24)---X.21 requires RS-449 plus an adapter cable. Each type of SDI has four connection ports, which are labelled PORT 1 through PORT 4. An example SDI card appears in Figure 3-30.

Figure 3-30 : SDI, LDI and DDS Faceplates

h8355.gif

When attaching A data line to A SDI, LDI, or DDS port, use the shortest reasonable length of cable to connect each port.


Configuring the SDI Cards

The factory-set, default mode of an SDI port is DCE. (Although this is the default, verify it before starting up the system. See Step 1.) For the two modes, the occupied rows on the back card jumper connector are as follows:

  • DCE = 1, 2, 4, and 5 (closest to the SDI faceplate)

  • DTE = 2, 3, 5, and 6 (1 row away from the SDI faceplate)


Note A jumper card comes with an impedance of either 100 ohms or 200 ohms. For higher port speeds, this is important when Y-cable redundancy is specified. With Y-cable redundancy on a higher-speed connection, use the 200-ohm jumper card. Without Y-cable redundancy or when the port speed is relatively low, the 100-ohm jumper card is adequate.

To change the mode on a port to DTE, position the jumper card for that port as follows:

fig_16.gif Caution To prevent damage to the SDI cards, wear a wrist strap and clip the strap to the enclosure.

Step 1 At the back of the IGX, remove the SDI card, as follows:

  • Loosen the captive mounting screws on both ends of the faceplate.

  • Operate the card extractors, then slide the card out.

Step 2 Move the jumper card one row of pins away from the SDI faceplate (Figure 3-31). For DTE mode, the jumper card should occupy rows 2, 3, 5, and 6.

If a port is in DTE mode and needs to be changed to DCE, plug the jumper card into the connector receptacle pin rows closest to the SDI faceplate (Figure 3-31). These rows are 1, 2, 4, and 5.

Figure 3-31 : Changing the Mode on an SDI Card

h8370.gif

Figure 3-32 : Positioning a DTE/DCE Block on an SDI

h8356.gif


HDM and LDM Redundancy

Optional redundancy for HDM and LDM cards can be provided with a second front and back card set and a Y-cable connection on each port to the customer data equipment, as Figure 3-33 shows. (The arrangement for HDM and LDM card groups is the same.)


Note With Y-cable redundancy on a higher-speed connection, the choice of impedance for the DCE/DTE jumper card is important. (A jumper card comes with an impedance of either 100 ohms or 200 ohms.) Use the 200-ohm jumper card for Y-cable redundancy on a higher-speed port. Without Y-cable redundancy or when the port speed is relatively low, the 100-ohm jumper card is adequate.

Figure 3-33 : HDM Data Port Redundancy

h8368.gif


Configuring the Mode of an LDI Port

Each port on an LDI card uses an adapter cable. For a list of LDI adapter cables, refer to Appendix C, "Cabling Summary." Each cable does the following:

  • Determines whether the port operates in DCE mode or DTE mode

  • Connects the port's 15-pin connector to a 25-pin D connector

  • Converts to either a male or female pinout

See Figure 3-34 for an example. In Figure 3-34, the adapter cable makes the port a DCE port. Circuits on the card check identifying pins on the cables and configure the ports as DTE or DCE.

Figure 3-34 : Connecting a DTE or DCE Adapter Cable to an LDI

h8357.gif


Making Frame Relay Connections

Four types of frame relay interfaces are available:

  • T1

  • E1

  • V.35

  • X.21

The T1 line terminates on the FRI-T1 card to a DB15 sub miniature connector. The FRI card has a female connector. A BNC type connector is used for the unbalanced connection.

The FRI-E1 card provides for a 75-ohm unbalanced coax line termination or a balanced 120-ohm twisted pair termination. A DB15 connector is used for the balanced connection. The FRI card has a female connector.

The V.35 connection uses a standard 34-pin female MRAC type connector with a standard V.35 cable.

The FRI-X.21 has female DB15 sub-miniature connectors.

The cabling requirements for the different frame relay interfaces appear in Appendix C.


Frame Relay Card Redundancy

Optional redundancy on a frame relay port can be provided with a second FRM/FRI card set and a Y-cable connection on each port to the customer data equipment. The forthcoming section titled "Setting Up a Frame Relay Port", includes steps for setting up card redundancy. The card redundancy kit for this purpose contains a second FRM/FRI card set, four Y-cables to interconnect the two card sets to the customer connection, and a 200-ohm DCE/DTE jumper card for the installed FRI. In the case of either a V.35 or X.21 interface, the DCE/DTE daughter card on the FRI must be changed when a non-redundant card set is changed to a redundant card set. Only the model D of the V.35 or X.21 back cards use the daughter card.

Y-cable redundancy is not possible between inconsistent back card types, such as FRI T1/E1 to FRI V.35. The screen display for the dspyred command shows a back card conflict with a configured interface in reverse video. (Refer also to the descriptions of the upcln and upfrport commands in the Command Reference.) Inserting a front card that does not support the number of upped ports is flagged by displaying the front card in reverse video on the Y Cable Redundancy Screen.

After the hardware is installed, the node must be reconfigured to indicate that the slot is equipped with redundancy. Use the Add Y Redundancy (addyred) command to do this. Refer to the Command Reference for more information on the commands addyred, delyred, dspyred, and ptyred.


FRI Installation V.35/X.21

Installation of the FRI-X.21 or FRI-V.35 follows the same steps as other IGX back cards. It can be installed in any back slot except slot 1 (reserved for the SCM).

The four ports on the FRI-X.25 are equipped with female DB15 sub miniature connectors. The four ports on the FRI-V.35 are equipped with female, 34-pin MRAC connectors. Each port may be configured as a DCE or as a DTE by selecting the position of a jumper card mounted on the FRI.

fig_17.gif Warning Only qualified personnel should open the cabinet door.

fig_18.gif Caution To prevent damage to the FRI cards, ground yourself before handling IGX cards by clipping a grounding strap to your wrist, and clipping the wrist strap lead to the enclosure.

The factory-set, default mode of an FRI port is DCE. (Although this is the default, verify it before starting up the system. See step 1, below.) For the two modes, the rows on the back card jumper connector that are occupied when the jumper card is in place are as follows:

  • DCE = 1, 2, 4, and 5 (closest to the FRI faceplate)

  • DTE = 2, 3, 5, and 6 (1 row away from the FRI faceplate)


Note A jumper card comes with an impedance of either 100 ohms or 200 ohms. For higher port speeds, this is important when Y-cable redundancy is specified. With Y-cable redundancy on a higher-speed connection, use the 200-ohm jumper card. Without Y-cable redundancy or when the port speed is relatively low, the 100-ohm jumper card is adequate.

If an interface mode need changing, reposition the jumper board for the port as follows:

Step 1 At the back of the IGX cabinet, identify the slot number of the FRI card.

Step 2 Loosen the captive mounting screws on both ends of the faceplate.

Step 3 Operate the card extractor levers and slide the card out.

Step 4 For each port that is being changed to DTE, move the jumper board one row of pins away from the FRI faceplate (Figure 3-35). For DTE mode, the jumper board should occupy rows 2, 3, 5, and 6.

If a port is in DTE mode and needs to be changed to DCE, plug the jumper board into the connector receptacle pin rows closest to the FRI faceplate (Figure 3-35). These rows are 1, 2, 4, and 5.


Note The FRI card should slide in easily. Do not use force.

Step 5 Re-insert the FRI card and gently slide it in all the way to the rear of the slot.

Step 6 Screw in the mounting screws.

Figure 3-35 : Positioning a DTE/DCE Block on a FRI-X.21

h8372.gif


Setting Up a Frame Relay Port

This section describes the steps for setting up a frame relay port after hardware installation and system startup. Setting up a frame relay port is done at the IGX control terminal or StrataView Plus workstation. For details on each command in this section, refer to the Command Reference.

Step 1 Verify that the nodes at each end of the connection have the correct FRI back card and FRM front card. Use the Display Cards (dspcds) command. The output of this command shows the shelf and slot of each card. Make a note of each position.

Step 2 Check the port types (DCE or DTE) using the Display Frame Relay Port (dspfrport) command for the FRI/FRM slot as located in the previous step.


Note A jumper card comes with an impedance of either 100 ohms or 200 ohms. For higher port speeds, this is important when Y-cable redundancy is specified. With Y-cable redundancy on a higher-speed connection, use the 200-ohm jumper card. Without Y-cable redundancy or when the port speed is relatively low, the 100-ohm jumper card is adequate.

Step 3 If a redundant card is used, configure the card pair for redundancy by using the Add Y-Cable Redundancy (addyred) command for this slot. See Figure 3-36 for the cabling arrangement for Y-cable redundancy.

Step 4 Configure the port for speed, clocking, LMI type, and so on, by either configuring the parameters with the Configure Frame Relay Port (cnffrport) command or using the default parameters. Set the Port ID to the DLCI assigned to this end of the connection (required if using bundled connections, optional otherwise).

Step 5 Prior to activating a logical port on either a T1 or E1 line, the port must be added (addfrport). (Because V.35 and X.21 connections are not channelized, adding logical ports on these interfaces is not necessary.)

Step 6 Activate the port using the Up Frame Relay Port (upfrport) command.

Step 7 Specify a frame relay class. Two approaches are available. A variety of pre-specified classes are available, or the Configure Frame Relay Class (cnffrcls) command can be used to specify the class. To see the pre-specified classes, use the Display Frame Relay Classes (dspfrcls) command then select an appropriate class for the connection.

Step 8 If a connection was not added in the last step through the use of a pre-specified frame relay class, add the connection to the network by using the Add Connection (addcon) command. Enter the slot address and DLCI for each end of the connection.

Step 9 Configure the connection parameters using the Configure Frame Relay Connection (cnffrcon) command, or use the default values. If ForeSight is a purchased option, enable it now.

Step 10 Setting the channel priority using the Configure Channel Priority (cnfchpri) command is an option at this time. Typically, the priority that the system automatically sets is sufficient.

When a port has multiple PVCs, optional bundling or grouping the connections is available. Bundling facilitates meshing. Grouping helps conserve system resources such as device codes and logical connections in networks, which need a high level of standardization.

Step 11 For grouping connections, first establish a connection group with the Add Connection Group (addcongrp) command. The Display Connection Group (dspcongrp) command displays existing groups.

Step 12 Group connections using the Group Connection (grpcon) command.

Step 13 Connections are bundled during parameter specification in the Add Connection (addcon) command for frame relay: when the Return key is pressed without a DLCI during port specification, prompts appear for bundling connections. Refer to the Frame Relay Connections chapter in the Command Reference.

Figure 3-36 : Frame Relay Port Redundancy

h8373.gif


Making FastPAD Connections

The types of FastPAD interfaces are T1, E1, V.35, and X.21.


Note For descriptions of the FastPAD commands and detailed information on the FastPAD, refer to the FastPAD User's Guide. Refer also to the StrataView FastPAD User's Guide.

FastPAD connections use the FTM front card and an FPC back card. The back card versions are FPC T1, FPC E1, FPC V.35, and FPC X.21.

The T1 card has a DB15 for RX/TX. The E1 connections are the same except for additional BNC connectors for unbalanced connections and BNC connectors for RX/TX MONITOR.

A V.35 connection uses a standard 34-pin female MRAC-type connector with a standard V.35 cable. The FPC-X.21 has female DB15 sub miniature connectors.

The cabling requirements are the same as for the corresponding frame relay interface and are detailed in Appendix C.

Installation of the FTM/FPC card set follows the same steps as other card sets. The FPC plugs directly into the FTM card. The FTM and FPC can reside in any slot not reserved for the NPM and SCM, respectively.

Each of the four ports on the FPC V.35 and X.21 versions may be configured as a DCE or as a DTE by selecting the position of a jumper card on the FPC. These ports are factory-configured as DCE interfaces.

fig_20.gif Warning Only authorized personnel should open the cabinet.

fig_19.gif Caution To prevent damage to the FTM and FPC, put on a ground strap and clip the wrist strap lead to the enclosure.

To change a port's interface configuration on the FPC V.35 or FPC X.21, reposition the jumper card for the port as follows:

Step 1 At the back of the IGX cabinet, identify the slot where the FPC card resides.

Step 2 Loosen the captive phillips screws at both ends of the faceplate.

Step 3 Rotate the card extractor levers and slide the card out.

Step 4 For each port that is being changed to DTE, move the jumper card to the row of connector pin that is farther away from the FPC faceplate. Figure 3-37 shows positions for both DTE and DCE.

Step 5 To change a port to DCE, plug the jumper card into the row of connector pins that is closer to the FPC faceplate. See Figure 3-37.


Note Check for bent pins before installing the card. The FPC card should easily seat. Investigate any binding. In addition to bent pins, warped or bowed connectors could cause difficulty in seating the card. Do not use force.

Step 6 Re-insert the FPC card and gently slide it in all the way to the rear of the slot.

Step 7 Screw in the mounting screws.

Figure 3-37 : Positioning a DTE/DCE Block on a FPC-X.21

h8379.gif 8


Making Alarm Relay Output Connections

To install an ARM card set, proceed as follows:

Step 1 At the back of the IGX, identify the slot where the ARI card is to reside.

Step 2 Install the ARM in the front slot and use the card extractors to help secure card.

Step 3 Install the ARI in the corresponding back slot. Use the extractor handles to help secure the card then tighten the captive screws by hand.

Step 4 Note that the FAIL LED on the ARM is off. The ACTIVE LED is also off.

Step 5 Attach a 22 or 24-gauge cable with the appropriate number of pairs to a male DB37 connector at one end. Typically, a 12-pair cable is adequate. Connect this cable to the DB37 connector on the ARI and tighten the captive screws.

Also see the section "Initial Startup of the IGX," when the system is ready for power.

The steps that follow show how to set up an ARM card set after the physical installation is complete. This is done from the IGX control terminal or StrataView Plus workstation. For details on each command used, refer to the Command Reference.

Step 1 Use the dspcds command to verify that the node is equipped with the proper ARM front card and ARI back card.

Step 2 From a control terminal or a StrataView Plus NMS workstation, vt to the node and enter the addalmslot command followed by the slot number where the ARM is located. This will activate the alarm reporting from the card.

Step 3 Observe that the ACTIVE LED on the ARM card is on.

Step 4 Testing the operation of the alarm outputs involves creating an alarm and noting the corresponding alarm output. This test is easy on a node that is not connected to the network but not on a node that is part of a fully operational network. The best time to create a major alarm is during a low traffic period. If this is performed, proceed with step 5. Otherwise, stop here.

Step 5 Create an alarm by disconnecting a trunk cable from the connector on a back card.

Step 6 Observe that there is a MAJOR LED lit on the front of the ARM.

Step 7 Using a voltage/ohm meter (VOM), make sure continuity exists between pins 16 and 17 and between pins 35 and 36 at the DB37 connector on the ARI card.

Step 8 Reconnect the cable that was disconnected in step 5.

Step 9 With the VOM, check that the reading between pins 16 and 17 and pins 35 and 36 are open and the MAJOR LED is not on.

Alarm output connections go to the DB37 connector on the ARI. The pin assignments with the alarm signal names are in the table that follows (see also Appendix C).

Table 3-2 : ARI Alarm Connector Pin-Outs

Pin # Alarm Type Alarm Name Alarm Description
1 both CHASSIS Protective ground
3 Network NWMAJA Major---normally open contact
22 Network Major---normally closed contact
4 Network NWMAJC Major---common contact
10 Node MNVISA Minor Visual---normally open contact
11 Node Minor Visual---normally closed contact
12 Node MNVISC Minor Visual---common contact
16 Node MJAUDC Major Audible---common contact
17 Node MJAUDA Major Audible---normally open contact
23 Network NWMINA Minor---normally open contact
24 Network Minor---normally closed contact
25 Network NWMINC Minor---common contact
29 Node NWAUDA Minor Audible---normally open contact
30 Node Minor Audible---normally closed contact
31 Node NWAUDC Minor Audible---common contact
35 Node MJVISC Major Visual---common contact
36 Node MJVISA Major Visual---normally open contact

Table 3-3 shows the unassigned connector pins.

Table 3-3 : Unassigned Connector Pins

Pin # Alarm Type Alarm Description
7 Relay 2 common contact
8 Relay 2 normally closed contact
9 Relay 2 normally open contact
26 Relay 4 common contact
27 Relay 4 normally closed contact
28 Relay 4 normally open contact


Making External Clock Connections

The DB15 connector labeled Ext Clocks on the faceplate of the SCM connects two external sources for a high-stability clock (primary and redundant). These inputs are 1.544 MHz for T1 systems and 2.048 MHz for CEPT systems. In addition, one of the trunk or circuit line inputs may also serve as a source of timing for the node. If no clock source is selected, the clock source is the internal IGX clock.

Two separate clock inputs exist. The primary clock source is A, and the secondary clock source is B. One or both of these can be either 1.544 Mbps or 2.048 Mbps. The connector pinouts are described in Appendix C.


Attaching Peripherals

A network must have at least one control terminal (or StrataView Plus workstation if you wish to collect statistics) attached, along with a network printer for printing out the status of the system. The SCM has three ports for attaching peripherals to an IGX. These ports are CONTROL TERMINAL, LAN AUI, and AUX PORT.

For StrataCom ISC to perform remote troubleshooting, a modem must connect to the network. This is a requirement for all StrataCom service plans. The following sections provide procedures for attaching peripherals to the IGX. Be sure to read the manufacturers' literature to ensure that the equipment is ready before attempting to connect it to the IGX.


Connecting a Single Network Management Station

To use network management, at least one node in a StrataCom network running Release 7.2 software must have a StrataView Plus workstation connected. The workstation connects to the AUI Ethernet LAN port on the SCM.

The StrataView Plus workstation may be used to configure and maintain all nodes in a network. For instructions on using the StrataView Plus workstation, see the StrataView Plus Operations Manual.

If only a single NMS station is to be connected and the network is relatively small, a serial RS232 port, the CONTROL TERMINAL port, may be used.

Appendix B lists the control terminals supported by the IGX and the configuration settings. Appendix C lists the pin assignments for the IGX control terminal port.

Attach the control terminal to the SCM as follows (see Figure 3-38).

Step 1 From the back of the cabinet, run the control terminal RS-232/V.24 cable through the opening at the bottom and up to the SCM card in back slot 1.

Step 2 Locate the CONTROL TERMINAL connector on the SCM and attach the control terminal RS-232/V.24 cable to it.


Note If the FAN 2 connector on the PE-BC is unused, be sure not to plug the control terminal cable into FAN2.

Figure 3-38 : Connecting the Control Terminal

h8358.gif

Step 3 Tighten the RS-232 connector screws to firmly attach the cable to the CONTROL TERMINAL connector.

Step 4 Plug the control terminal power cord into the appropriate wall receptacle.

Step 5 Set the port function for VT100 (#5) using the cnftermfunc command.

Step 6 Make sure the AUXILIARY port and the terminal are set to the same baud rate and check the other communication parameters using the cnfterm command.


Note When a node is powered up, it enters "boot mode," with a default speed of 9600 bps. If the node's control port was previously configured to 19,200, the first messages appears garbled, but the control port (in "boot mode") is temporarily at 9,600 bps. When the "transition to on-line" occurs, the speeds match, and the terminal display becomes readable.


LAN Connection for the Network Management Station

If the network is large or extensive network statistics are needed, an Ethernet port (LAN port) should be used. Larger networks produce a greater flow of statistics data between the node and the StrataView Plus workstation, so a higher speed Ethernet port is suitable. Figure 3-39 illustrates this connection. Accessing a node over an Internet connection requires the operator to use cnflan to enter the Internet Protocol (IP) address, IP subnet mask, TCP service port, and gateway IP address.

Figure 3-39 : LAN Connection to SCM

h8320.gif


Configuring the LAN Port


Note Configure the LAN parameters before connecting it to a LAN.


Note Refer to the StrataView Plus Operations Manual and the Command Reference for additional information

Step 1 Contact a System Administrator to obtain IP addresses for the workstation and for the IGX node.

Step 2 Normally, the System Administrator updates the NIS database, as applicable (if an NIS is used), and adds the IP addresses for the workstation and node to the NIS database. Refer to the StrataView Plus Operations Manual for instructions on configuring the StrataView Plus workstation.

The addresses shown are examples. Use the addresses obtained from the System Administrator. (This example is for a workstation named "hedgehog" at address 192.187.207.200. It also assumes that the IGX node LAN port for node "sanfran" has been assigned an IP address of 192.187.210.30 and a hostname of "sanfran.")

192.187.207.200 hedgehog

192.187.210.30 sanfran


Note If an NIS is being used (in a corporate network, for example), consult with the System Administrator.


Note 5120 is used for the LAN ports on all IGX ports.

Step 3 Configure the LAN port on the IGX node using a dumb terminal or an RS-232 connection via the workstation (using the vt command, as applicable) to enter the appropriate cnflan parameters.

The cnflan command configures the node's communication parameters so that the node can communicate with a StrataView Plus terminal over an Ethernet LAN using the TCP/IP protocol. The parameters contain address information about the Ethernet TCP/IP network that is used to connect the StrataView Plus workstation to an IGX node. The values used must conform to those of the network and should be supplied by the Ethernet network administrator.

The cnflan command has the following parameters:

  • IPAddr is the Internet Protocol address of the node used in the TCP/IP protocol.

  • IPSubnetMask is a 32-bit mask. The default for a Class C LAN network is 255.255.255.0.

  • TCPServicePort is the IGX LAN port number entered in the /etc/service file on the workstation. It is 5120 for all IGX nodes.

  • GatewayIPAddr is the Internet gateway address. This is the gateway that traffic is routed through if the IGX node and workstation are on different networks. If they are on the same network, the gateway is not used. The default "none" is displayed in this case. If a gateway IP is entered and later you want to remove it, enter 192.0.0.0 opposite the prompt and "none" will again be displayed.

Figure 3-40 shows a cnflan screen. The active IP address for the workstation has been entered as the IP address selected previously for the node, 192.187.207.21. The IP Subnet mask is entered as 255.255.255.0 for a Class C LAN network. The TCP service port is entered as 5120. Since the workstation and node are on different networks in this example, a gateway address of 192.187.207.1 has been entered. If the workstation and node are both on the same network, no gateway address is needed. The "Maximum LAN Transmit Unit" and "Ethernet Address" parameters are not configurable by the cnflan command. The "Ethernet Address" is a hardware address ("burned into the NPM card") that is unique to each NPM card.

Figure 3-40 : Configuring Parameters on an IGX LAN Port


D2.cb1         LAN   StrataCom       IGX 16    8.2     Feb. 27 1996 14:23 PST


Active IP Address:                     192.187.207.21
IP Subnet Mask:                        255.255.255.0
TCP Service Port:                      5130
Default Gateway IP Address:            192.187.207.1

Maximum LAN Transmit Unit:             1500
Ethernet Address:                      00.55.43.00.04.55

Control Socket - Ready
Base Socket Descriptor - 1

Socket Closed



Last Command: cnflan


Next Command: 


Step 1 Connect the StrataView Plus workstation and the IGX node to a LAN network. Examples are shown in Figure 3-41 and Figure 3-42. The LAN port on the IGX node provides a DB-15 connector that can be connected to a Y-cable which in turn is connected to an AUI as shown in Figure 3-42.

Step 2 To test that a LAN connection to the IGX LAN port is good, an example hostname of "sanfran" entered in the config.sv file, enter the following at the StrataView Plus workstation:

ping sanfran

Step 3 Once the workstation and IGX node interface has been set up, StrataView Plus can be started. Figure 3-43 shows the dsplan screen after StrataView Plus has been started and the communication sockets are active.


Note "Sockets" is the BSD Unix name for connections between processes, typically used in network communication.

Figure 3-41 : SV+ LAN Connection via Router to an IGX Node

h8374.gif

Figure 3-42 : SV+ LAN Connection to an IGX Node (no gateway)

h8375.gif

Figure 3-43 : dsplan after SV+ Startup


D2.cb1         LAN   StrataCom       IGX 16    8.2       Feb. 27 1996 14:27 PST


Active IP Address:                     192.187.207.21
IP Subnet Mask:                        255.255.255.0
TCP Service Port:                      5130
Default Gateway IP Address:            192.187.207.1

Maximum LAN Transmit Unit:             1500
Ethernet Address:                      00.55.43.00.04.55

Control Socket - Ready
Base Socket Descriptor - 1

Open Socket Descriptor - 2



Last Command: dsplan


Next Command:


fig_21.gif Caution Before switching on the StrataView Plus workstation, refer to the StrataView Plus Operations Guide.

Step 4 Switch on the control terminal (or StrataView Plus workstation). Adjust the terminal's configuration, if necessary, to match the default settings of the control terminal port in the IGX. See Appendix B, "Peripherals Specifications," for the required settings. See the StrataView Plus Operations Guide for settings and operating instructions for the workstations.


Connecting a Network Management Station to Multiple Networks

When a network management station has more than one serial port, ports may connect to different networks. When the number of workstation serial ports is less than the number of networks to be managed, a terminal server is necessary to obtain a communications link to the separate networks. This subject is covered in the StrataView Plus Installation Guide.


Connecting the Printer

At least one node in the network should have an attached printer. The printer displays information about network operation. It can be configured to print maintenance information on a regular basis, and it can print specific diagnostic information when necessary. Instructions on using the printer for this purpose are in the Command Reference.

To attach the printer to the AUX PORT on the SCM:

Step 1 Check the printer RS-232/V.24 cabling pinout and, if required, adjust the DIP switches to the settings indicated for the type of printer to be connected to the IGX. See Appendix B for RS-232/V.24 cable pinout and DIP switch settings.

Step 2 At the back of the cabinet, run the printer RS-232/V.24 cable through the opening at the bottom and up to the SCM card in back slot 1.

Step 3 Connect the printer RS-232/V.24 cable to the SCM's AUX PORT. See Figure 3-44.

Step 4 Tighten the connector screws on the cable at the AUX PORT connector.

Figure 3-44 : Connecting a Network Printer

h8360.gif


Connecting a Modem

Two modems may be connected to the IGX in order to provide access for remote troubleshooting and for remote alarm logging (see Figure 3-45). Each connection between the SCM and a modem requires a special cable and setup procedure. Refer to Appendix B for instructions on connecting and setting up the modems.

The modem that is used to provide access for remote troubleshooting from the StrataCom International Support Center (ISC) office (ISC-to-IGX modem) is connected to CONTROL TERMINAL port on the SCM. Typically, the modem connects to the telephone wall jack with a direct-dial line.

The modem that provides remote alarm logging (IGX-to-ISC modem) connects to the AUX PORT on the SCM. This modem connects to a wall jack using a standard telephone line.

Figure 3-45 : Connecting Modems to the IGX

h8361.gif


Initial Startup of the IGX

This section describes checkout procedures to follow after the hardware is in place and ready to receive power. The "IGX Configuration Summary"section summarizes the steps and lists the commands for brining up the system.

Before using the IGX, make sure the following procedures have been done:

Step 1 If the IGX uses AC power, make sure the IGX is connected to the correct AC receptacle. For a DC-powered unit, make sure it connects to the correct, dedicated DC source.

Step 2 Check the record for the correct switch status for switch W6 on the SCM. See the recommendation in the section "Readying the Cards." If the switch position was not previously verified, do so now. W6 sits above component U7P on the SCM. To indicate to the SCM that the system is an IGX 32, remove the jumper. To indicate to the SCM that the system is an IGX 16, leave the jumper on the card.

Step 3 The full complement of cards for the specific node are mounted in the correct slots, correctly seated, and locked.

Step 4 The T1 connections are attached to the appropriate BC-T1 faceplate.

Step 5 The E1 connections are attached to the appropriate BC-E1 faceplate.

Step 6 The Fractional E1 or T1 connections are attached to the BC-E1 or BC-T1 card connector, if the IGX is used to provide Fractional E1 or T1 service.

Step 7 The Subrate connections are attached to the BC-SR card connector if the IGX is used to provide Subrate E1 or T1 service.

Step 8 The data connections are attached to the appropriate SDI/LDI cards.

Step 9 The Frame Relay User Device Connections are attached to the appropriate FPC card connectors.

Step 10 A control terminal is connected to the CONTROL TERMINAL port on the SCM in back slot 1, or a StrataView Plus workstation is plugged into the AUI port, and the power cord plugged into the appropriate AC receptacle.


Note If the FAN 2 connector on the PE-BC is unused, be sure not to plug the control terminal cable into FAN2.

Step 11 If specified, a printer connects to the AUX PORT on the SCM in back slot 1, and the power cord is plugged into the appropriate AC receptacle.

Step 12 If specified, one or more modems connect to the CONTROL TERMINAL port or AUX PORT, as applicable, on the SCM in back slot 1, and any modem power cords plug into the appropriate AC receptacle.

Step 13 At the back of the unit, turn the circuit breakers to the ON position. In a system using a DC source, attach the cable guard (AC should already have the cable guard in place). After initial powerup, DC systems can be switched off and on either at the PEM or at the building site's resident circuit breaker. Use the building's DC circuit breaker only if all cables are clearly marked; if the building's dedicated circuit breaker has an actual switch and not just a fuse; and if controlling power at the building's circuit breaker actually provides an advantage over removing the cable guard.

Step 14 Observe that, after the IGX node switches on, the cards go through a series of initial diagnostic self-tests.

  • The standby NPM red "FAIL" light flashes until self-testing and configuration updates are completed. The other NPM immediately becomes active but also performs self-testing and configuration updating. The entire process may take several minutes to complete.

  • The remaining cards show "FAIL" for a few seconds then become active or standby.

  • The AC and DC "Okay" LEDs immediately turn on.

  • Alarms may be indicated. Alarms may be present on trunks that have not been physically connected. The alarms disappears when those trunks are downed.

Step 15 If an alarm exists for a T1 or an E1 line that is physically connected to the IGX, try reconnecting the line to make sure there is a good physical connection. If the alarm condition continues, a valid T1 or E1 problem may exist.


NPM Startup Diagnostic Test

The IGX software contains a group of diagnostic tests that run on the system's hardware at power-up. The startup diagnostic either passes or fails the NPM(s). The test result is displayed on the control terminal screen as pass or fail (Figure 3-46 or Figure 3-47).

Figure 3-46 : Power-Up Diagnostic Screen---Passed


**************************************************************************************
Release 7 Boot power up diagnostics starting.

68000 Internal Registers test passed.
68000 clock test passed.
Static RAM test passed.
TDM memory test passed.
Fast RAM test passed.
BRAM test passed.
Dynamic RAM test from Hex Address 400000 to Hex Address 9FFFFF 

Release 7 Power up diagnostics complete.
********************************************************************************

Figure 3-47 : Power-Up Diagnostic Screen---Failed


**************************************************************************************R
elease 7 Boot power up diagnostics starting.

68000 Internal Registers test passed.
68000 clock test passed.
Static RAM test passed.
TDM memory test passed.
Fast RAM test passed.
BRAM test failed.
Remove and reinsert this NPM to see if it fails again.
********************************************************************************

If an NPM fails the power-up diagnostic, it does not boot See Figure 3-47. When this happens, do the following:

Step 1 Remove the failed NPM from its slot.

Step 2 Install the NPM in the same slot again.

Step 3 Wait for the power-up diagnostic to run.

Step 4 If the NPM fails the power-up diagnostics again, replace it with an NPM that is known to be good. For card replacement procedures, refer to Chapter 5.


Card Self Test

IGX software includes internal diagnostics that periodically test each card's performance. These self-test diagnostics automatically start and run in background. They do not disrupt normal traffic. If a failure occurs during self test, the faceplate FAIL LED lights up, and the operator can view the status at the control terminal by executing the dspcd command.

The status of a card failure remains until cleared. A card failure is cleared by the Reset Card (resetcd) command. The two types of resets are failure and hardware. The reset failure clears the event log of any failure detected by the card self-test but does not disrupt operation of the card. A reset of the card firmware is done by specifying a hardware reset. This reboots the firmware and momentarily disables the card. If a redundant card is available, the hardware reset causes a switch over to the standby card.


Inspecting Status Lights

Check the status lights on the system unit cards. Table 3-4 shows the normal status of each light. Table 3-4 reflects n+1 redundancy for NTM and CVM cards.

Table 3-4 : Component Status after Power-Up

Card Active Status Standby Status1 Alarms
NPM 1 1 --
CVM -- -- --
NTM -- all --
BC-T1/E1 -- all --
BC-SR (Subrate) -- all --
AIT-T3/E3 -- all --
HDM/LDM -- all --
SDI/LDI -- all --
FRM -- all --
SCM 1 0 --
BTM -- all
ARM 1 -- --
Power Supplies All -- --

1 Standby status is indicated by no lights on.

  • If any FAIL light is on steady or no ACTIVE card is present when a card of that type should be, remove and re-insert the card. Also, verify the proper seating of the EEPROMs on the card.

  • If a power supply AC Okay LED or DC Okay LED is off, remove and re-insert the power supply. If the LED remains off, refer to Chapter 5.


Checking AC Power Supplies

The way to verify the correct power supply voltages is the DC Okay and AC Okay LEDs on each power supply and the dsppwr command. If any LED is off, a problem exists in relation to that supply. Power supplies are not field-adjustable. If a power supply voltage is out of tolerance, replace the supply with one known to be within tolerance. Refer to the AC power supply replacement procedure in Chapter 5, "Repair and Replacement."


Note In an IGX, no test points exist in the AC power supplies or any circuit board for checking input or output voltages.


IGX Configuration Summary

This section outlines the steps and specifies the commands for configuring a network. For a complete description of each command, refer to the Command Reference or Superuser Command Reference.

Configuration and management of the IGX is very similar to that of StrataCom's IPX and BPX systems. Configuration is done via commands entered at the control terminal. Management of the IGX is done via the StrataView Plus Network Management Station.

For IGX configuration, the control terminal can have system access through a local control port (over an RS-232 or Ethernet TCP/IP link) or from a control terminal screen on a StrataView Plus Network Management Station (NMS). Remote control terminal access is possible using a Virtual Terminal (vt) command if the node has been configured with a name (cnfname) and at least one trunk to the network has been established.

The basic tasks to configure an IGX are as follows:

  • Set up the node

    • configure the node name (cnfname).

    • configure the time zone (cnftmzn).

    • configure the LAN interface (cnflan).

    • configure the auxiliary or terminal ports to support any necessary external devices such as a local printer, an autodial modem, or an external multiplexer attached to the unit (cnfprt, cnfterm, cnftermfunc).

  • Set up the trunks

    • verify the correct cards are in both the local and remote node (dspcds).

    • up the trunk at each node (uptrk).

    • configure any parameters required for the trunk at each node (cnftrk).

    • set up trunk redundancy if desired (addtrkred).

    • set up any subrate trunk interface control templates if desired (cnftrkict).

  • Set up voice lines

    • Activate the line (upcln).

    • Configure the line (cnfcln).

    • Configure redundancy (addyred).

  • Set up data lines and ports.

    • Activate the line (upcln).

    • Configure the line (cnfcln).

    • Configure redundancy (addyred).

  • Set up frame relay lines and ports. (See the section "Setting Up a Frame Relay Port," for a detailed description.)

    • Activate the ports (upfrport).

  • Set up FastPAD lines and ports. For descriptions of the FastPAD commands and detailed information on the FastPAD, refer to the FastPAD User's Guide. Refer also to the StrataView FastPAD User's Guide.

    • Activate the card (upcd).

    • Activate the ports (upftcport).

    • Configure FastPAD control connection (addfp).

  • Set up ATM lines and ports.

    • Activate the line (upln).

    • Configure the line (cnfln).

    • Activate the ports (upport).

    • Configure the ports (cnfport)

  • Set up voice connections.

    • Add the connections (addcon).

    • Configure connection parameters (cnfvchadv, cnfchdl, cnfchec, cnfchgn, cnfcond, cnfcondsc, cnfrcvsig, cnfsmtsig, cnfvchtp, cnfchutl).

  • Set up data connections.

    • Add the connections (addcon).

    • Configure connection parameters (cnfdclk, cnfcldir, cnfict).

  • Set up frame relay connections

    • Add the connections (addcon).

    • Configure connection classes (cnfcls).

    • Configure connection groups (addcongrp).

    • Configure control templates, channel utilization, and channel priorities (cnfict, cnfchutl, cnfchpri).

  • Set up FastPAD connections.

    • Add the connections (addcon).

    • Configure FastPAD switched or permanent voice connections (cnfchgn, cnfchutl, cnfvfpchtp).

    • Configure FastPAD data connections (cnfcondsc, cnfdclk, cnfict, cnfchutl).

  • Set up ATM connections (see also the paragraph that follows this list for information on connections using ATM-to-frame relay interworking).

    • Add connections (addcon).

    • Configure a connection type (cnfcontyp).

  • Optimize network routing and bandwidth (cnfchutl, cnfpref, cnfcos).

Two approaches are available for establishing a frame relay-to-ATM interworking connection in a tiered network (see the System Manual for a description of tiered networks). The simplest approach is to use the Connection Manager in StrataView Plus. When the connection to an FRSM on an AXIS interface shelf is specified, the correct end-to-end connection type is established. This connection type is either atfr (ATM-to-frame relay interworking) or atfst (ATM-to-frame relay interworking with ForeSight). The other approach is to use the command line interface on the IGX 8 or other routing node to execute addcon and related commands (such as cnfcon) to establish the connection between routing nodes. A network interworking connection requires that each connection segment be specified. (Establishing the connection between the FRSM on the AXIS shelf and the BPX requires execution of the addchan command.)


IGX Management

You can monitor, manage, and troubleshoot the IGX using the StrataView Plus Network Management Station. Issue commands to an IGX node through the Node Administration window. Display and monitor the network's topology using the Network Overview and Network Topology windows. Alarms are reported and logged into the Event Log window. Statistics are collected and displayed through the SV+ Statistics window.


Note When a StrataView Plus workstation directly connects to an IGX, a unique icon appears for the IGX in the Network Topology window. When the StrataView Plus workstation is attached to an IPX or BPX, the same style icon appears for both an IGX and an IPX. To identify an IGX, StrataCom suggests that the name of an IGX node include the letters "IGX," (IGXalpha, for example).

HomeTOCPrevNextGlossSearchHelp
-

Copyright 1988-1996 © Cisco Systems Inc.