Banner
HomeTOCPrevNextGlossSearchHelp

PDF

Table of Contents

Hardware Description

Hardware Description

Hardware Description

This chapter provides a physical description of the IGX 16/32 and an introduction to each component's function. It describes the IGX 16/32 rack-mount and stand-alone enclosures, AC and DC power sources, cooling system, backplane, and system bus. The description of each card includes function, system interconnect, and faceplate indicators. A brief description of optional peripherals and third-party equipment appears at the end of the chapter. System specifications, such as protocols and standards, are listed in Appendix A.

For all matters relating to installation, troubleshooting, and repair and replacement, refer to the other chapters in this manual.

Other manuals that relate to IGX 16/32 operation are:


IGX Cabinets and Components

An IGX 16/32 system is available in the following models:


IGX 16 Stand-Alone

The IGX 16 stand-alone system comes in a free-standing enclosure with a tool-operated front door latch. Side panels attach to the unit on vertical mounting rails at each corner of the unit. The four wheels at the base of the stand-alone unit allow the unit roll into position. The unit also includes levelers. With the unit at the appropriate location, the height of the levelers can be adjusted so the unit is immobile. The wheels and feet can also be removed, allowing the IGX to be secured to the floor with four .250-20 fasteners.

The IGX 16 stand-alone enclosure holds all of the system modules, including:

Figure 2-1 shows a front view of the position of the major components of the IGX 16 Stand-alone. Figure 2-2 shows a view of an AC-powered IGX 16 from the back

Figure 2-1 : Component Locations IGX 16 Stand Alone

h8296.gif

Figure 2-2 : IGX 16 Stand-Alone, AC Powered, Back View I

h8297.gif

The IGX 16 stand-alone system comes in a free-standing enclosure with a tool-operated front door latch. Side panels attach to the unit on vertical mounting rails at each corner of the unit. The four wheels at the base of the stand-alone unit allow the unit roll into position. The unit also includes levelers. With the unit at the appropriate location, the height of the levelers can be adjusted so the unit is immobile. The wheels and feet can also be removed, allowing the IGX to be secured to the floor with four .375-16 fasteners.

The IGX 32 stand-alone enclosure holds all of the system modules, including:

Figure 2-3 shows a front view of the position of the major components of the IGX 16 Stand-alone. Figure 2-4 shows a view of an AC-powered IGX 16 from the back

Figure 2-3 : IGX 32 Stand-Alone, Front View

h8298.gif

Figure 2-4 : IGX 32 Stand-Alone, Back View

h8299.gif


IGX 16 Rack-Mount

The IGX 16 rack-mount system is mounted in a standard 19" rack, such as a STRATM cabinet. This installation uses standard EIA spacing between vertical rails. Also, the vertical spacing between components, such as the card cage and fan tray, must be in the range .047" to .077" (0.119 cm to 0.196 cm).

The IGX 16 cabinet includes:


IGX 32 Rack-Mount

The IGX 32 rack-mount system can be rack-mounted in a standard 19" rack. This installation uses standard EIA spacing between vertical rails. Also, the vertical spacing between components, such as the card cage and fan tray, must be in the range .047" to .077" (0.119 cm to 0.196 cm).

The IGX 32 cabinet includes:

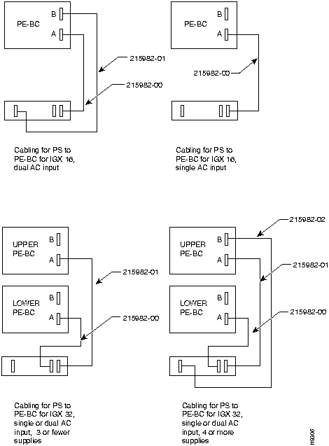
The two IGX backplanes connect through an interconnect cable that attaches to the extension connectors on the backplane in front of the Power Entry Back Card (PE-BC). Figure 2-5 and Figure 2-6 show the location of the major components of an IGX 32.

Figure 2-5 : Component Stacking Order IGX 32 Rack-Mount, Front

h8300.gif

Figure 2-6 : Component Stacking Order IGX 32 Rack-Mount, Back

h8301.gif


Power Entry Back Card and Power Entry Module

This section describes the Power Entry Back Card (PE-BC), the Power Entry Module (PEM), and the fan tray power connections to the PE-BC.

For all IGX models, the power source supplied to the unit can be either AC or DC. In a unit that uses a DC source, the power cord is attached to a Power Entry Module (PEM). The PEM provides circuit protection for the DC voltage. In a unit that uses an AC source, an optional AC power supply module is necessary for generating the DC voltages for the backplane and cooling fans.


Power Entry Back Card (PE-BC)

Each shelf comes with a factory-installed PE-BC. In both AC-powered and DC-powered systems, the PE-BC connects the --48 VDC primary power for the system to the backplane. It also routes power to the fan trays. Because of its shape, the PE-BC is also referred to as the "E" card. In an AC-powered system, the PE-BC alone is used because each cable from the power supply module plugs directly into a 25-pin D-connector on the PE-BC. In a DC-powered system, the PE-BC has at least one factory-installed PEM.

Figure 2-7 shows a PE-BC for an AC-powered system. The PE-BC resides between back card slot number 1 and the card cage side panel in an IGX 16. In an IGX 32, one PE-BC resides between the side panel and slot 1, and the other PE-BC resides between the side panel and slot 17. A PE-BC slot has no slot number.

Figure 2-7 : Power Entry Back Card, AC-Powered System

h8302.gif


Power Entry Module (PEM)

A PEM is a small, factory-installed card that plugs into a connector on the PE-BC. A PEM takes the DC power directly from the DC power source in the building, filters it, and passes it to the PE-BC. Each PEM also has a circuit breaker for turning the power on and off. Figure 2-8 shows a PEM plugged into a PE-BC and also shows the blank plate that covers an unused connection in non-redundant configurations.

Figure 2-8 : PE-BC and DC PEM With Plug

h8303.gif

Each PEM comes with a two-piece, pluggable terminal block (see Figure 2-9). One side of the block is secured to the PEM, and the removable part of the block takes the user-provided DC-power wiring. The wires for DC power must be of a gauge that is capable of carrying 25 Amps but small enough to fit in the terminal block. Figure 2-9 shows the unassembled state of the plug and wiring and how these items fit together.

Figure 2-9 : Pluggable Terminal Block

h8304.gif


Fan Power Connections

The fan power connections on a PE-BC are labelled Fan 1 and Fan 2. These connector names do not relate to the names of the fan trays (Fan Tray 1 and Fan Tray 2). The "Cooling System" section introduces the fan trays. The installation instructions for these cooling units contain detailed information on the fan tray names and locations, the connecting cables, and how power is connected from the PE-BCs to the fan trays in the IGX 16 and IGX 32.


AC Power Supplies

This section introduces the AC power system and explains the concept of redundancy.

For a node to use an AC power source, an AC power supply shelf is necessary. The IGX power supply shelf holds up to six, 875-Watt power supplies. The AC module provides the system with -48 VDC from 208/240 VAC input. The AC power supply shelf sits below the main (lower) fan tray.

A power circuit breaker for each card shelf exists on the back panel. This allows power for each card shelf to be individually turned on and off. (An IGX 16 has two, card shelf circuit breakers, but only one is meaningful.) The back panel also contains one or---with AC redundancy---two AC power inputs. Figure 2-10 shows the back of the AC power supply section on an IGX 32 with redundancy for AC power input. In Figure 2-10, the node has a main circuit breaker on the power supply shelf for each AC power input.

Figure 2-10 : Power Supply Area Back View

h8305.gif

Figure 2-11 shows the possible configurations for the system power cables. Although these cables have different lengths, the pinouts are identical.

Figure 2-11 : Power/Sense Cable Diagram for AC Power

h8306.gif


Understanding the Power Supply Configuration

This section describes the AC power configuration. The power supply configuration is based on power supply redundancy and the power requirements (load) created by the cards in the system. The minimum is 1 AC source and 1 supply. This minimum applies to the IGX 16: with 12 or fewer boards, 1 supply is adequate unless redundancy is specified. Figure 2-12 shows the power supply slot designations.

Figure 2-12 : Power Supply Slot Designations

h8307.gif


Redundancy

Two types of redundancy exist in the AC power supply configuration. One redundancy is that of AC power inputs. A redundant AC power source from a building circuit that is separate from the other AC circuit provides backup if one AC circuit at the site fails. The other redundancy is that of the 875-Watt power supply modules. Redundancy of the 875-Watt supplies provides a backup if a supply fails.

In supporting the two types of redundancy, power supply arrangements differ, as follows:


Power Supply Quantities

Table 2-1 shows the required number of power supplies for the different IGX systems. In Table 2-1, the locations for primary (or minimal) power supplies are marked with an X. The primary supplies reflect redundancy of AC inputs and backup supplies. An O indicates a slot that must have a supply because the card cage contains more than 12 boards.

In Table 2-1, the System column lists the IGX model number coupled with the number of AC inputs and whether the single-AC input models have power supply redundancy. The table also shows slot locations A to F and the part number of the kit that contains all the pieces for the item in the System column. Extra supplies for more than 12 boards (O) are not a part of a kit under Kit Part No. but have another part number. The part number of a supply ordered to fill extra power demands is IGX-AC-PS.

Table 2-1 : Locations of Primary and Additional Supplies

System A B C D E F Kit Part No.
IGX 16: 1 AC input, no power supply redundancy X O IGX16-AC1-1
IGX 16: 1 AC input, with power supply redundancy X X O IGX16-AC2-1
IGX 16: 2 AC inputs X O X O IGX16-AC2-2
IGX 32:1 AC input, no power supply redundancy X X O IGX32-AC2-1
IGX 32: 1 AC input, with power supply redundancy X X X O IGX32-AC4-1
IGX 32: 2 AC inputs X X O X X O IGX32-AC4-2

Note that, with all power supply configurations, power supply locations begin at the lowest lettered slot on either side, and the occupied positions are contiguous. For example, in a dual-AC system with four supplies, the occupied slots should not be A, C, D, and F. Rather, the supplies should occupy slots A, B, D, and E.


Cooling System

Fans mounted in a fan tray cool the system. In an IGX 16, the fan tray resides immediately below the single card shelf. In an IGX 32, the main fan tray (Fan Tray 1) resides immediately below the lower card shelf, and the booster fan tray (Fan Tray 2) resides above the upper shelf. Current versions of the fan tray hold eight fans. Older versions of the fan tray hold six larger fans. Figure 2-13 illustrates Fan Tray 1.

Normally, an exhaust plenum resides at the top of each unit. Cooling air for the cards enters through grilles on the front of the fan trays and exits through the rear of the exhaust plenum.

Figure 2-13 : Fan Tray

h8308.gif


Back Card Blanks

To maintain correct air flow and reduce Radio Frequency Interference (RFI) and Electromagnetic Interference (EMI), all unused back card slots must be covered with the blank faceplates that StrataCom provides.


Card Shelf

An IGX card shelf has 16 card slots (the PE-BC slot is not numbered in this scheme) on each side of the backplane.

In most cases, front slots contain data processing cards (processors, service modules, etc.), and the back slots contain system interface cards. The plug-in cards in the front slots are the system unit cards. The cards in the back slots are the network trunk and user interface cards. The "Card Groups" section introduces these cards, then the sections that follow provide detailed information about each card.

Figure 2-14 and Figure 2-15 show typical card placements. Most cards can reside in any vacant slot. Only the NPM and SCM have specific slot assignments for primary and redundant units.

Figure 2-14 : Typical Shelf Configuration, Front View

fig_1.gif

Figure 2-15 : Typical Shelf Configuration, IGX 32 Back View

h8310.gif


Backplane (Midplane)

The IGX backplane has sixteen 216-pin connectors and occupies just over half the height of the card cage. It connects up to 16 front cards. Figure 2-16 shows a front view with the backplane on top, the utility bus beneath the NPM slots at the left, and the card guides in the front and rear. Each front card plugs into the backplane at the upper connector (P1).In addition to providing the physical connections between the cards, the backplane contains the IGX system bus. The backplane is also called the midplane.

In the IGX 32, the upper and lower card cages are slightly different. The upper card cage has a utility bus beneath the backplane for the NPMs and SCM. See Figure 2-16. The lower card cage in the IGX 32 has a backplane with no utility bus because only service cards exist on the lower shelf.

Figure 2-16 : IGX Backplane

h8311.gif

In an IGX 32, a pair of ribbon cables carries the backplane signals between the upper and lower shelves. These ribbon cables pass through a cut-out space in the card cages. They also go through a two-piece conduit that fits together to surround the cables. The name of this two-piece conduit is the card cage tunnel. The cables connect to two 100-pin connectors that reside on the front side of the backplane (the opposite side of the backplane from the Power Entry Back Card). Figure 2-17 illustrates the expansion connectors, the ribbon cables, the cutout space, and the card cage tunnel. The card cage tunnel is shown in place in the main figure and prior to insertion in the blown-up view.

The cable connections are as follows:

Figure 2-17 : IGX 32 Backplane Extension

h8312.gif


System Bus

The IGX system bus resides on the backplane. The system bus provides the following:

As a safeguard against card driver failure or bus failure, the backplane contains redundant system buses. In a two-shelf system, a cable between the upper and lower backplanes extends the system bus to the lower shelf. The earlier section "Backplane (Midplane)" describes this cable. The backplane also contains fuses to protect it from catastrophic electrical damage. (See Chapter 5, "Repair and Replacement.")


Utility Bus

A utility bus is used to interconnect redundant processor cards in a node. In an IGX, the two-slot utility bus UBS-2 interconnects the two processor cards. It occupies the positions of the lower connectors in slots 1 and 2.


Card Groups

The IGX currently utilizes the following functional card groups:

This section introduces these card groups. The sections that follow contain information on the function of each card.


Card Types

Table 2-2 lists the front cards that can be used in IGX nodes. Table 2-3 lists the back cards that can be used in IGX nodes. In addition to the front and back cards, the IGX uses Adapter Card Modules (ACMs). These cards connect to existing IPX service module cards and perform the adaptation necessary to allow IPX front cards to operate in an IGX system. IPX back cards can operate in an IGX system without modifications.

Table 2-2 : Front Cards

Card Acronym Card Name Model
NPM-16 Nodal Processor Module with 16 Mbytes DRAM A
NPM-32 Nodal Processor Module with 32 Mbytes DRAM B
NPM-64 Nodal Processor Module with 64 Mbytes DRAM C
NPM(B)-16 Nodal Processor Module with 16 Mbytes DRAM D
NPM(B)-32 Nodal Processor Module with 32 Mbytes DRAM E
NPM(B)-64 Nodal Processor Module with 64 Mbytes DRAM F
NPM-16B Nodal Processor Module with 16 Mbytes DRAM
NPM-32B Nodal Processor Module with 32 Mbytes DRAM
NPM-64B Nodal Processor Module with 64 Mbytes DRAM
NTM Network Trunk Module A
BTM Broadband Trunk Module A
CVM-ADPCM Channelized Voice Module, ADPCM A
CVM-T1 Channelized Voice Module, T1 A
CVM-E1 Channelized Voice Module, E1 A
FRM Frame Relay Module, V.35/x.21 A
FRM-2 Frame Relay Module, Port Concentrator only A
FRM-6 Frame Relay Module, w/6 chan. A
FRM-31 Frame Relay Module, w/31 chan. A
FTM FastPAD Trunk Module A
HDM High-speed Serial Data Module A
LDM Low Speed Serial Data Module A
ARM Alarm Relay Module A

Table 2-3 : Back Cards

Card Acronym Card Name Model
SCM System Clock Module C
AIT-E3 E3 Trunk Interface Card A
AIT-E2 E2 Trunk Interface Card
AIT-HSSI HSSI Trunk Interface Card
AIT-T3 T3 Trunk Interface Card A
BC-E1 E1 Interface Card A
BC-T1 T1 Interface Card A
BC-Y1 Y1 Trunk Interface Card A
BC-J1 J1 User (Circuit) Interface Card A
BC-SR Subrate Trunk Interface Card A
FRI Frame Relay Interface Card; V.35, T1/E1, X.21 B
FPC FastPAD Card; V.35, T1/E1, X.21 B
SDI Synchronous Data Interface:
RS-232C, RS-232D,
RS-422/449
X.21, V.24, and V.35
A
LDI Low-Speed Data Interface
RS-232C/D, 4-port, 8-port
V.24, 4-Port, 8-Port
DDS, 4-port

A
A
A
ARI Alarm Relay Interface A


Common Alarms, Controls, and Indicators

Both front cards and back cards have faceplates with indicator LEDs and, in some cases, push-button controls. In addition, back card faceplates have the cable connectors. In any slot where no back card exists, a blank faceplate must reside to eliminate Electromagnetic Interference (EMI) and Radio Frequency Interference (RFI) and to ensure correct air flow through the card cage.

The alarms, controls, and LED indicators are on the faceplates of the front and back cards. The AC power supplies also have indicators. Each plug-in card has both a green ACTIVE LED and a red FAIL LED at the bottom of the faceplate. In general, the meaning of each LED is indicated in Table 2-4. Some other cards have additional indicators, connectors, or controls and are described in the forthcoming sections.

Table 2-4 : Common Card Status Indicators

Indicators Status Meaning
FAIL ON Steady Indicates an error occurred. Resetting the card with the resetcd f command is suggested first. If the LED comes on again, call the StrataCom ISC.
FAIL Blinking On an NPM in a redundant system, this indicates that the card is in an update state.
ACTIVE ON steady When steadily on, this indicates the card is active and carrying traffic or processing data.
ACTIVE ON momentarily When momentarily on, indicates the card did self-test.
BOTH OFF Indicates the card part of a redundant pair and is in the standby mode or not being used at all.
BOTH ON Indicates the card failed but remains active because no standby card is available. In the case of an HDM or LDM card, this could indicate that one or more of the data channels failed, but the others are still active.


Processor Cards

The processor card group consists of the Nodal Processor Module (NPM) and the System Clock Module (SCM). In conjunction with the system bus, the processor card group controls communication between the cards in the node, communication to other nodes in the network, system timing, and status reporting functions.


Nodal Processor Module (NPM)

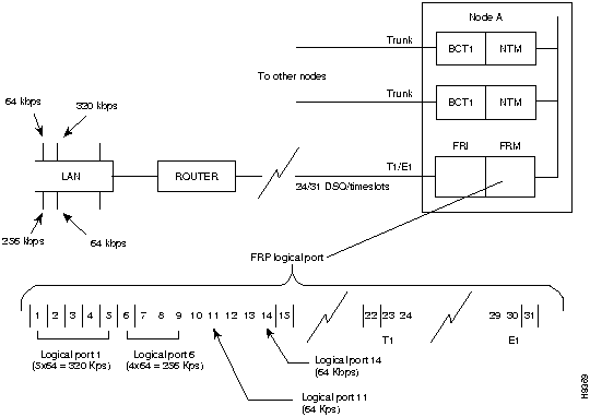
The Nodal Processor Module (NPM) is a microprocessor-based system controller that contains the software for running the IGX. The NPM communicates with the other system cards over the control bus. Figure 2-18 illustrates the relation of the NPM to other parts of the system. The NPM performs the following major functions:

The NPM communicates with all other nodes through a trunk that uses a reserved data link at about 600 packets/sec. The NPM communication link with other nodes carries information about new connections, topology changes, and rerouting.

Figure 2-18 : NPM in Relation to the System

h8313.gif


NPM Processor and Memory Capacity

The NPM includes non-volatile flash EEPROM, which permits new software releases to be downloaded over the network, and battery-backup RAM (BRAM) for storing system configuration data. These memory features maintain system software and configuration data after a power failure, so the system quickly resumes operation after power returns.

Two versions of the NPM exist. The B versions of the NPM (NPM-32B, for example) require a certain, minimal level of 8.2 software to support the +5 VDC flash memory. In addition, the two versions of the NPM differ in the expandability of BRAM: the BRAM for the NPM-B series can expand from 512 Kbytes to 2 or 4 Mbytes. The BRAM for the standard NPM series can expand from 512 Kbytes to 1 Mbyte. Both versions of the NPM can reside in the same node if the system software supports the B version. Refer to the release notes that came with this manual for the specific 8.2 version.

The NPM or NPM-B has the following processor and minimum memory sizes:

For an IGX operating in a tiered network, each NPM must have 32 Mbytes of DRAM. Through factory-upgrades, memory on the NPM can expand to the following sizes:


NPM Redundancy

An IGX has one NPM in a non-redundant system or two NPMs in a redundant system. In a non-redundant system, an NPM resides in either front slot 1 or front slot 2. For a redundant system, NPMs reside in slots 1 and 2. The NPM plugs into the system bus backplane. A utility bus in the backplane connects the NPMs in a redundant system.


NPM Faceplate and LEDs

The faceplate of the NPM has a green ACTIVE LED and a red FAIL LED. See Figure 2-19. The NPM monitors its own activity and, if a failure is detected, the FAIL LED is lit. If the node has redundant NPMs, the on-line NPM is indicated by the lit ACTIVE LED, while the standby NPM has no lit indicators. In addition to the status LEDs on the NPM faceplate, information on any NPM can be displayed at a terminal by executing the dspcd command.

Figure 2-19 : NPM Faceplate

h8314.gif


System Clock Module (SCM)

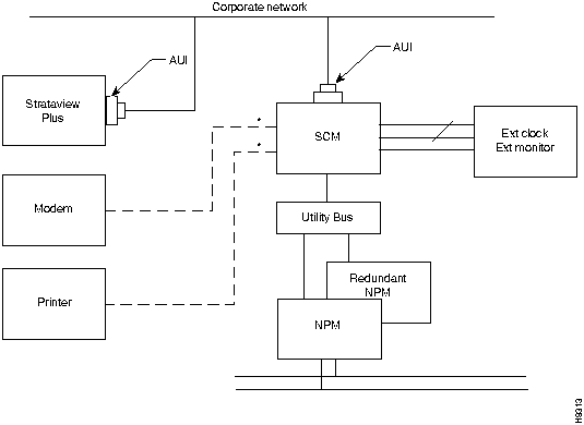
The System Clock Module (SCM) is a back card that works in conjunction with the NPMs. The SCM provides a centralized clock generation function for the IGX. It generates the system clock and trunk synchronizing clocks. The SCM phase-locks the internal IGX timing to the selected clock source for network synchronization. Each IGX node must have an SCM. A single SCM can support redundant NPMs. The SCM circuits include the following:

The two serial RS-232 ports provide connection to network management terminals and modems for remote access to the node. In conjunction with the SCM, the NPM also supports a high-speed Ethernet LAN port for faster system statistics transfer between the node and a StrataView Plus NMS workstation. This port conforms to the requirements of IEEE standard 802.3 for Ethernet.

The SCM has duplicates of the internal clock circuitry and its associated phase lock loops and NPM-related control circuitry. One operates off the System A Bus, and the other operates off the System B Bus. Both circuits are independent and are monitored separately to provide complete backup if a circuit fails (FAIL lamp comes on). However, since both the System A bus and System B bus clock circuits exist on a single card, removing the SCM disrupts system operation. The lower priority SCM circuits are not duplicated. The lower priority circuits are the external clock input, control and auxiliary ports, and monitoring circuits for power supplies, cabinet temperature, and fans. A failure in a lower priority circuit does not cause a system failure, but the SCM reports the problem.

The Ext Clock connector on the faceplate of the SCM provides an interface for an external source for a high-stability clock. This clock is configurable as the primary, secondary, or tertiary clock. This input is 1.544 MHz for T1 systems and 2.048 MHz for CEPT systems. In addition, one of the trunk or circuit line inputs may also serve as a source of timing for the node. If no clock source is selected, the clock source is the internal IGX clock.

Refer to Figure 2-20 and Table 2-5 for details on the SCM faceplate. When correlating the descriptions in the table with the callouts in the figure, read from the top down.

In addition to the clock functions, the SCM provides a pair of low-speed, serial communications ports. The first port (CONTROL TERMINAL) is a bi-directional port used for connecting the IGX to a local network control terminal or to a modem for remote terminal connection. The second port connects to a maintenance log printer or to an auto-dial modem for automatic reporting of local IGX alarm conditions. This modem can be programmed to dial StrataCom ISC for assistance when a network alarm occurs.

Figure 2-20 : SCM Faceplate

h8315.gif

Table 2-5 : SCM Faceplate Connections and Indicators

Connector Function
EXTERNAL CLOCK DB15 connector for connecting a primary and secondary external source for the system clock.
CONTROL TERMINAL A DB25 connector for a VT100 or equivalent terminal for a basic network management terminal. It can also be connected to a dial-in modem for ISC or other network management dial-up access. This is a bidirectional RS232 communications port.
AUXILIARY PORT A DB25 connector for a system printer. Can also be used to connect to an out-dial modem or automatic reporting of alarms in the event the node becomes isolated. This is a bidirectional RS232 port.
LAN AUI Ethernet LAN connection for multiple, local StrataView Plus NMSs. This port uses a DB-15 connector called the Attachment Unit Interface (AUI) connector. This name reflects the industry standard term for a LAN interface. Table 2-6 lists the AUI pin assignments.
PSM Power supply monitor, cable supplied by customer.
FAIL Indicates an error occurred. Resetting the card with the resetcd f command is suggested first. If the LED comes on again, call the StrataCom ISC.
ACTIVE Indicates the card is in service with active circuits.

Table 2-6 lists the AUI pin assignments.

Table 2-6 : AUI Connector Pin Assignments (DB 15-connector)

Pin Name Pin # Name
1 Shield -- --
2 Collision Presence + 9 Collision Presence--
3 XMT + 10 XMT--
4 Reserved 11 Reserved
5 RCV + 12 RCV--
6 Power return 13 Power (+12V)
7 Reserved 14 Reserved
8 Reserved 15 Reserved


Adapter Cards

IPX service/interface cards can be upgraded for use in an IGX. This allows the IGX to provide all the services of the IPX with cards of proven efficiency, functionality, and reliability. The upgrade is available only as a factory upgrade. The factory upgrade consists of an adding one of three possible Adapter Card Modules (ACM) and possible firmware or hardware modifications. Due to the complexity of the ACM, field upgrades of IPX cards are not possible.

Connecting IPX front cards to their corresponding back cards on the IPX requires the use of a utility or local bus. On upgraded IPX cards (IGX cards), the local or utility bus is not necessary.

The following IPX cards can be adapted for use in the IGX 16/32:


Trunk Interface Cards

The IGX supports two types of trunk cards:

The NTM works with the following back cards:

The BTM works with the following back cards:

Caution An IGX 32 can support a maximum of 16 trunk cards.


Network Trunk Module (NTM)

The Network Trunk Module (NTM) manages the transmission of FastPackets across a trunk line. NTM functions include the following:


Note The NTM card exists in two forms. One uses an ACM1 adaptor, and the other is a single-card or "native" version. Functionally they are identical, but their firmware is not interchangeable.

An NTM can occupy any available front slot in the range 3 to 16 in an IGX 16 or any available front slot in the range 3 to 32 in an IGX 32. The choice of back card depends on the trunk interface type. An IGX 32 can support up to 16 NTM-to-T1/E1 trunk interfaces.

For fractional T1 trunk lines, the NTM and BC-T1 card set provide the interface. Fractional trunk interfaces use a group of 64-Kbps channels, which constitute a partial T1 trunk. For example, a 512-Kbps fractional T1 trunk might use every third channel in the 1 to 24 range. Fractional trunks use the basic trunk frequency (such as 1.544 Mbps for T1) for the clock rate. The network operator makes the channel assignments.

Fractional E1 is the same as fractional T1 except that the channels are 1 to 15 and 17 to 31 (0 and 16 reserved) and the clock rate is 2.048 Mbps).

The NTM supports subrate trunks if a BC-SR back card and appropriate local bus are present. Subrate trunks interface to the digital transmission facility at trunk rates in the range 256 Kbps through 2.048 Mbps. Three interface connections are provided. These are RS449, X.21, and V.35.


NTM and Back Card Redundancy

The NTM can be configured for 1:1 redundancy by using a second, identical, card group and a Y-cable for connection to the trunk. All back card types support redundancy.


NTM Status

The faceplate of the NTM has four LEDs. The first two in the following list apply to the NTM front card. Each of the other two LEDs is a summary alarm for the back card conditions. When lit, these LEDs have the following significance:

For more information on the significance of alarm LEDs, refer to Chapter 4, "Troubleshooting."

The alarms and line conditions monitored by the NTM include those in the following list. To view packet line errors, use the dspplnerrs command. To see what packet line errors are configured to appear in the display, use dspplnstatcnf.


T1 Interface Card (BC-T1)

The T1 Trunk Interface Card (BC-T1) card terminates a single 1.544 Mbps T1 trunk line on the NTM. The BC-T1 can reside in any rear slot 3-16 of the IGX 16 or 3-32 of the IGX 32. The BC-T1 connects directly to the NTM.

The BC-T1 provides the following:

B8ZS supports clear channel operation because B8ZS eliminates the possibility of a long string of 0s. B8ZS is preferable whenever available, especially on trunks.

The BC-T1 supports two clock modes. These are normal clocking and loop timing. The system operator selects the mode through software control. Normal clocking uses the receive clock from the network for incoming data and supplies the transmit clock for outgoing data. This clock can be used to synchronize the node.

Loop timing uses the receive clock from the network for the incoming data and turns the receive clock around for timing the transmit data.


BC-T1 Faceplate Description

Figure 2-21 and Table 2-7 provide information on the faceplate of the BC-T1. When correlating the descriptions in the table with the callouts in the figure, read from the top down. The standard port connector is a female DB15.

Figure 2-21 : BC-T1 Faceplate

fig_2.gif

Table 2-7 : BC-T1 Connections and Status LEDs

Connector/Indicator Function
T1 INPUT/OUTPUT Female DB15 connector for T1 line.
LOS light (red) Indicates loss of signal at the local end.
Red Alarm light (red) Indicates loss of local E1 frame alignment or packet
alignment (NTM).
Yellow Alarm light (yellow) Indicates loss of frame alignment at remote end or
loss of packet alignment (NTM).
AIS light (green) Indicates the presence of all ones on the line.
FAIL light (red) Indicates an error occurred. Resetting the card with the resetcd f command is suggested first. If the LED comes on again, call the StrataCom ISC.
ACTIVE: light (green) Indicates the card is in service with active circuits.


E1 Interface Back Card (BC-E1)

The E1 Trunk Interface Card (BC-E1) provides an E1 trunk interface for the Network Trunk Module (NTM). The BC-E1 connects directly to the NTM and can reside in back slots 3 to 16 in an IGX 16 or 3 to 32 in an IGX 32. The BC-E1 provides the following:

The BC-E1 supports two clock modes. These are normal clocking and loop timing. The system operator selects the mode through software control. Normal clocking uses the receive clock from the network for incoming data and supplies the transmit clock for outgoing data. This clock can be used to synchronize the node.

Loop timing uses the receive clock from the network for the incoming data and turns the receive clock around for timing the transmit data.

Statistics are kept on most line errors and fault conditions, including the following:

Figure 2-22 shows and Table 2-8 lists status LEDs and connections on the BC-E1 faceplate. When correlating the table and figure items, read from the top down.

Figure 2-22 : BC-E1 Faceplate

h8316.gif

Table 2-8 : BC-E1 Connections and Status LEDs

Connector/Indicator Function
RX-TX Female DB15 connector for XMT and RCV E1.
RX BNC connector for receive E1 line.
TX BNC connector for transmit E1 line.
LOS light (red) Indicates loss of signal at the local end.
Red Alarm light (red) Indicates loss of local E1 frame alignment. On an NTM, this indicates loss of packet alignment.
Yellow Alarm light (yellow) Indicates loss of frame alignment at remote end. On an NTM, indicates loss of packet alignment.
AIS light (green) Indicates the presence of all ones on the line.
MFRA light (red) Indicates loss of multiframe alignment (E1 only).
MFRY light (yellow) Indicates loss of multiframe at remote end (E1 only).
FAIL light (red) Indicates an error occurred. Resetting the card with the resetcd f command is suggested first. If the LED comes on again, StrataCom call the ISC.
ACTIVE: light (green) Indicates the card is in service with active circuits.


Subrate Interface Card (BC-SR)

The Subrate Trunk Interface Card (BC-SR) terminates subrate trunks on the NTM. A subrate trunk uses only a portion of the E1 or T1 bandwidth. It is used primarily for tail circuits or where little traffic exists. A subrate trunk facility interface is a DCE interface, and the subrate channel acts like a synchronous data channel. Therefore, the IGX BC-SR always has a DTE configuration. Only leased lines are supported. Dial-up lines are not supported. Subrate trunks cannot pass clock signals between nodes.

The BC-SR provides the following:

Figure 2-23 and Table 2-9 provide information on the BC-SR faceplate. When correlating the items in the figure and table, read from the top down.

Figure 2-23 : BC-SR Faceplate

h8318.gif

Table 2-9 : BC-SR Connections and Status LEDs

Connector/Indicator Function
RS-449 data connector DB37 female connector
X.21 data connector DB15 female connector.
V.35 data connector 34-pin female MRAC connector
LOS light (red) Loss of signal at the local end.
Bad CLK light (red) Loss of clock or clock out of range
Yellow Alarm light (yellow) Loss of packet alignment (NTM) or frame alignment at remote end
DSR light (green) The DSR lead is high (ON)
DTR light (green) The DTR lead is high (ON)
RXD light (green) The receive data line shows activity
TXD light (green) The transmit data line shows activity.
FAIL light (red) An error occurred. (First, reset the card with resetcd f. If the LED comes on again, call the StrataCom ISC.)
ACTIVE: light (green) The card is in service and has active circuits.

Table 2-10 lists the data signals and EIA leads supported by the subrate interface.

Table 2-10 : Data and Control Leads Supported with BC-SR

Transmit Receive
Lead Name Interface Lead Name Interface
TX Transmit data All RX Receive data All
RTS Request to Send 188, V.35 CTS Clear to Send 188, V.35
DTR/C Data Terminal Ready All DSR/I Data Set Ready All
LL Local Loop RS422 DCD Data carrier select 188, V.35
RL Remote Loop RS422 RI/IC Ring Incoming Call 188, V.35
IS Terminal In Service RS422 TM Test mode 188. V.35
SS Select standby 188, V.35 SB Standby indicator 188
SF Sig rate select 188 SI Signalling rate 188


Y1 Interface Back Card (BC-Y1)

The BC-Y1 back card provides a Japanese Y1 trunk interface for an NTM. The BC-Y1 can reside in back slot 2-16 of the IGX 16 or 2-32 of the IGX 32 node. The BC-Y1 provides:

The BC-Y1 supports two clock modes. These are normal clocking and loop timing. The system operator selects the mode through software control. Normal clocking uses the receive clock from the network for incoming data and supplies the transmit clock for outgoing data. This clock can be used to synchronize the node.

Loop timing uses the receive clock from the network for the incoming data and turns the receive clock around for timing the transmit data.

Figure 2-24 and Table 2-11 provide descriptions of the BC-Y1 status LEDs and connections on the faceplate. When correlating the items in the figure and table, read from the top down.

Figure 2-24 : BC-Y1 Faceplate

h8319.gif

Table 2-11 : BC-Y1 Connections and Status LEDs

Connector/Indicator Function
Y1Trunk INPUT/OUTPUT DB15 connector for Y1 Trunk
Line in Y1 trunk input line
Line out Y1 trunk output line
RX MON BNC test connector for monitoring receive Y1 line
TX MON BNC test connector for monitoring transmit Y1 line
LOS light (red) Indicates loss of signal at the local end.
Red Alarm light (red) Indicates loss of local frame alignment.
Yellow Alarm light (yellow) Indicates loss of frame alignment at the remote end.
AIS light (green) Indicates the presence of all ones on the line.
FAIL light (red) Indicates an error occurred. (First, reset the card with resetcd f. If the LED comes on again, call the StrataCom ISC.)
ACTIVE light (green) The card is in service and has active circuits.


Broadband Trunk Module (BTM)

The BTM front card provides an Asynchronous Transfer Mode (ATM) trunk interface so that the IGX can use the standard ATM cell relay protocol over T3/E3 trunks. The trunk rate can be as low as one T1/E1 rate. This supports migration up to T3/E3 rates in T1/E1 increments with minimal downtime for traffic rerouting. The BTM card set consists of the BTM front card and either an AIT-T3 or an AIT-E3 back card.

The card set works in the following arrangements:

The implementation of broadband trunks, ATM protocol, and cell and header formats are described in the System Manual.


Operating Modes

The BTM/AIT card set can operate in either simple gateway or complex gateway mode. Complex gateway supports network interworking and allows all StrataCom frame relay interfaces to communicate. It requires release 8.1 or higher system software. The application of complex gateway is in tiered networks. For a description of tiered networks, refer to the System Manual.

Simple gateway supports frame relay connections that terminate on either an IPX or IGX in a flat network. Simple gateway does not support frame relay connections between the AXIS FRSM and the IGX FRM/FRI card set and does not require 8.2 system software.


Maintenance and Troubleshooting

No maintenance is required on BTM cards. If a card has either a solid or a confirmed intermittent failure, replace it. The only faceplate indicators are the ACTIVE and FAIL LEDs. For purposes of troubleshooting, the BTM/AIT card set is considered a trunk. The tstcon command does not work on a BTM because the card cannot be isolated from the IGX or the other, connected BTM.

A trunk loopback test is run when the BTM detects an integrated alarm. The loopback test verifies if the line or the card is faulty. A loopback test "pass" means the line is faulty and a line alarm is indicated. A loopback test "fail" means the card is faulty. In the case of a faulty card, a switch to a Y-Cable equipped redundant card occurs if available.


BTM Back Card Description

The back card provides the interface to the trunk line and performs all necessary CRC generation and checking. With Release 8.2 or higher system software, the following back cards for the BTM are available:

The HSSI connector is a 50-pin connector. The other trunk ports consist of one BNC connector for transmit and one BNC connector for receive. The back card faceplate has six LED indicators. They indicate the status of the port and various alarm conditions (see Figure 2-25 and Table 2-12 for details).


LED Indicators and Alarms

The faceplate of the BTM has four LEDs. The ACTIVE LED indicates the card is active and functioning. A BTM card failure triggers the FAIL LED. The other two LEDs are a summary alarm for the AIT back card conditions. A yellow MINOR LED indicates either a fault that does not interrupt service or that error statistics have exceeded a preset threshold. A red MAJOR LED indicates a service-affecting failure.


AIT-T3 Back Card

The AIT -T3 back card has two BNC connectors and six LED indicators, as Figure 2-25 shows. Table 2-12 lists these faceplate items. When correlating the items in the figure and table, read from the top.

Figure 2-25 : AIT-T3 Back Card Faceplate

h8320.gif

Table 2-12 : AIT-T3 Connections and Indicators

Connector/Indicator Function
Transmit Jack BNC connector for transmit data
Receive Jack BNC connector for receive data
LOS light (red) Loss of signal at the local end.
Red Alarm light (red) Loss of local T3 or E3 frame alignment or loss of cell alignment.
Yellow Alarm light (yellow) Loss of frame alignment at remote end or loss of cell alignment.
AIS light (green) All ones on the line.
FAIL light (red) An error was detected. (Resetting the card with resetcd f may clear it. If the LED comes on again, call the StrataCom ISC.)
ACTIVE: light (green) The card is in service and has active circuits.


AIT-HSSI Back Card

The AIT-HSSI back card supplies a single HSSI interface to the AIT trunk. For its implementation, the AIT-HSSI requires an external DSU such as an inverse mux or a fractional T3 DSU.

The range of bit rates for the AIT-HSSI is 4 Mbps to 50.84 Mbps. The range of rates is across aggregated T1 channels. The command that configures the rate is cnftrk. The dsptrkcnf command displays the existing parameters for a trunk. For specifications on HSSI, refer toAppendix A, "System Specifications."


Y-Cable Redundancy

The BTM card set supports Y-cable redundancy on ATM trunks in IGX to IGX, IGX to IPX and IGX to BPX applications. Y-Cable Redundancy is an existing IGX feature that may be applied to ATM trunks. (In the Command Reference, see commands addyred, delyred, dspyred, and ptyred.)

Y-Cable Redundancy requires that both cards are upped (uptrk) and added (addtrk) before assigning redundancy.


Y-Cable Redundancy Switching

The BTM card performs a clock test on the input line source. If either the clock or card fails, a switch occurs to a Y-cabled redundant BTM trunk card set if available. If the switch occurs, the primary ATM trunk card acquires failed status, and the red FAIL indicator is turned on. If Y-cable redundancy is not available, the ATM trunk switches to another clock source and marks the line as a failed clock source. 2


Channelized Voice Module (CVM)

The Channelized Voice Module (CVM) is a dual-purpose front card. A CVM circuit line can carry either voice traffic alone, a combination of voice and low-speed or high-speed data, or just data. See Figure 2-26. The channel default is voice mode. The CVM data capabilities include DS0-A and N x 56/64 data rates. CVM voice capabilities include A-law to m-Law conversion and voice compression. These are configurable for each channel.

The CVM can be programmed for either 24-channel mode (T1) or 30-channel mode (E1). The circuits on a CVM hop are assigned on a per-timeslot basis within a T1 or E1 frame.

The CVM can reside in any front slot 3-16 in an IGX 16 or any front slot 3-32 in an IGX 32. The CVM operates with either a BC-T1, BC-E1, or BC-J1 back card. The back cards plug directly into the P2 connector on the front card. For details on the back cards, refer to "T1 Interface Card (BC-T1)," "E1 Interface Back Card (BC-E1)," and "BC-J1 Description" sections, which describe the BC-T1, BC-E1, or BC-J1, respectively.

Figure 2-26 : CVM Application Diagram

h8321.gif


CVM Features

The features of the CVM front card include:


Note For information on the application of the CVM card set to DNS, refer to the DNS Information and Operation manuals.


Types of CVM Circuits

Table 2-13 introduces the types of CVM circuit operation. (Sections that follow expand upon these subjects.) Two types of 64 Kbps clear channel operation are listed. The "p" indicates uncompressed PCM voice. The "t" indicates 64 Kbps clear channel data. Beyond these, different bit rates (with compression) and voice activity detection (voice connections only) are shown. A "c" or an "a" that precedes a numerical value indicates compression. The "c" indicates compression with VAD, and the "a" indicates compression without VAD. Therefore, "c" does not apply to data connections, and "a" can apply to either voice or data. The numerical value following the "a" or "c" is the bit rate. The table also defines the significance of the other characters that may follow the bit rate.

Table 2-13 : Types of CVM Circuits

Type Description
p A p-type connection carries 64 Kbps PCM voice and supports A-law or m-law encoding and conversion, level adjustment (gain/loss), and signalling.
t VF t-type connections carry 64 Kbps clear channel data traffic.
cxx When using the CVM card for voice circuits, the level of ADPCM compression must be specified by the (x) parameter and can be 32, 24, or 16 for 2:1, 3:1, or 4:1 compression. For example "c16" indicates full 4:1 compression with VAD.
a16z
c16z
The c16z and a16z use a 4-level 16 Kbps ADPCM to ensure ones-density but at a decrease in voice quality. The "z" acts as a route-avoid specification whose effect is to avoid lines with ZCS (zero code suppression).
a32d
c32d
The a32d and c32d circuit types pertain to Enhanced Instafax. These types support high speed circuits but stay at 32 Kbps when a high-speed circuit is detected and thus support compression that would otherwise be unavailable. Unless a32d or c32d is selected, the circuit switches to 64 Kbps when a high-speed modem or FAX is detected on a voice circuit. This selection is made using the cnfvchparm command. The selection of a32d or c32d depends on the performance of the modem/FAX using the circuit and should be selected for error-free operation.
a32 a24 a16 Uses ADPCM only. Can select 32 Kbps, 24 Kbps, or 16 Kbps compression. Compressed code avoids all zeros and can be used on lines with no other zero code suppression techniques. Modified 16 Kbps compression.
c32 c24 c16 Uses both ADPCM and VAD. Can select 32 Kbps, 24 Kbps, or 16 Kbps ADPCM compression. Compressed code avoids all zeros and can be used on lines with no other zero code suppression techniques. 16 Kbps compression is non-standard.

Standard-rate (64 Kbps) voice connections originate and terminate on CVM T1 or E1 lines. The encoding type (A-law or m-law), voice compression, and echo cancelling is configured on a per-channel basis according to the circuit requirements. Voice frequency compression can be selected for 64 Kbps (no compression), 32 Kbps (2:1), 24 Kbps (3:1), or 16 Kbps (4:1). These compression ratios approximately double when the internal Voice Activity Detection (VAD) feature is also enabled.

The CVM extracts information from the signalling bits in the E1 or T1 frame. When a signalling bit changes, the CVM generates signalling packets. These packets are routed from one CVM to the CVM at the other end of a connection. DPNSS and ISDN signalling are supported through a clear channel (or transparent mode). The possible signalling choices for the different line configurations are as follows:

  • T1 uses ABCD or ABAB signalling bits with ESF line framing.

  • T1 uses AB signalling bits with D4 line framing.

  • T1 can use CCS in timeslot 24 on applicable PBXs if turning off CAS is preferable.

  • E1 uses either CCS or, when CAS is used, ABCD signalling bits.

Up to 23 voice interface types, such as 2-W E&M, FXO/FXS, or DPO/DPS, can be selected from a template to condition the VF signalling. Specifying a custom signal conditioning is also possible. Voice channel signalling is programmable for any of the following:

  • Robbed bit (either D4 or ESF frame format)---for T1 lines

  • Channel Associated Signalling (CAS)---for E1 lines

  • Transparent CCS (ISDN & DPNSS)---for T1 or E1 lines

  • E&M to DC5A and DC5A to E&M conversion---for international applications

Local and remote loopbacks can check CVM-terminated connections. A local loopback exists at the system bus interface. It returns data and supervision back to the local facility to test the local CVM card set and the customer connection. Remote loopbacks exist on the CVM card at the other end and check both transmission directions and much of that CVM.


CVM Faceplate Description

The CVM faceplate has four LED indicators: ACTIVE, FAIL, MAJOR, and MINOR (see Table 2-14.) The faceplate also shows the type of CVM card by way of the CVM label.

Table 2-14 : CVM Faceplate Indicators

Indicator Meaning
ACTIVE (green) On indicates card is active and carrying traffic.
FAIL (red) On indicates self-test has detected a card failure in the main
card or optional integrated echo canceller board.
MAJOR (red) A line failure has been detected locally on the receive side.
MINOR (yellow) A line failure has been detected at the remote end.
CVM A label indicating standard CVM
CVM ADPCM T1 A label indicating T1 with echo cancelling module
CVM ADPCM E1 A label indicating E1 with echo cancelling module

The CVM monitors and reports statistics on the following input line conditions:

  • Loss of signal

  • Frame sync loss

  • Multi-frame sync loss

  • CRC errors

  • Frame bit errors

  • Frame slips

  • Bipolar violations

  • Frame bit errors

  • AIS, all-1's in channel 16 (CAS mode)

  • Remote (yellow) alarm

The CVM, BC-T1, BC-E1, or BC-J1 support 1:1 redundancy by use of a second, identical, card set for the redundant pair and a Y-cable connection to the circuit line.

Figure 2-27 : Y Cable Redundancy

h8322.gif


CVM Voice Circuits

The CVM at each end of a connection is programmable for the two different voice encoding schemes. These encoding schemes are A-law and m-law. They operate at E1 and T1 rates, respectively. Thus, the CVM supports international gateway applications. The CVM supports high-speed modem and FAX circuits. It provides transparent, 64 Kbps transport for CCS signalling. It also supports CAS signalling by transporting signalling transitions across the network with negligible distortion. The CVM can set, invert, and clear AB or ABAB bits (T1) or ABCD bits (E1) to accommodate some signalling conversions.

Echo cancellers are almost always required on voice circuits to compensate for the delays introduced with the various voice compression techniques used by the CVM. A built-in feature of the CVM is the on-board Integrated Echo Canceller (IEC). This eliminates having to provide this necessary feature with external equipment. Two models of the IEC are available: a 24-channel (T1) and a 31-channel (E1).


CVM Data Circuits

The CVM can provide data connections to the network. Data connections that originate on a CVM can terminate on either a CVM, HDM, or LDM card on another node.

Data connections to the CVM fall into two categories: Superrate and Subrate. Superrate data connections are aggregates of channels that function as a single logical connection. These may be any multiple of 56 or 64 Kbps up to a maximum of 8 (512 Kbps). The DS0 timeslots must be contiguous or alternating, but they cannot be random. All 56 Kbps data channels are bit-stuffed up to 64 Kbps on circuit lines. The CVM removes the stuffing bits prior to packetization. A Superrate connection carries no supervisory bits.

Subrate data connections transmit at speeds less than 64 Kbps and are carried within a DS0. Allowable rates are: 2.4, 4.8, 9.6, and 56 Kbps. These are referred to as DS0-A connections.

In-band DS0A link codes are translated into EIA control lead states for CVM-to-HDM or LDM connections, but fast EIA, DFM, and isochronous clocking are not available as with the HDM and LDM data cards.


BC-J1 Description

The BC-J1 back card provides a Japanese J1 circuit line interface for a CVM card. The BC-J1 back card plugs directly into the P2 connector on the CVM front card. The card pair can be installed in any shelf slot 3 to 16 in an IGX 16 and 3 to 32 in an IGX 32. The BC-J1 provides the following features:

  • Interfaces to Japanese TTC (J1) lines specified by JJ-20-10, JJ-20-11, and JJ-20-12

  • Supports both Channel Associated Signalling and Common Channel Signalling

  • Supports 30 channel, 2.048 Mbps operation

  • Uses Coded Mark Inversion (CMI) line coding

  • Maintains statistics for J1 line events (Frame loss, Loss of signal, frame errors, etc.)

  • Automatically starts local loopback tests in response to certain line alarms

The BC-J1 supports two clock modes. These are normal clocking and loop timing. The system operator selects the mode through software control. Normal clocking uses the receive clock from the network for incoming data and supplies the transmit clock for outgoing data. This clock can be used to synchronize the node.

Loop timing uses the receive clock from the network for the incoming data and turns the receive clock around for timing the transmit data.

Figure 2-28 shows a BC-J1 faceplate. Table 2-15 lists BC-J1 connections and status LEDs.

Figure 2-28 : BC-J1 Faceplate

h8323.gif

Table 2-15 : BC-J1 Connections and Status LEDs

Connector/Indicator Function
RX-TX Female DB15 connector for XMT and RCV J1.
Line in J1 trunk input line
Line out J1 trunk output line
RX MON BNC test connector for monitoring receive J1 line.
TX MON BNC test connector for monitoring transmit J1 line.
LOS light (red) Indicates loss of signal at the local end.
Red Alarm light (red) Indicates loss of local frame alignment.
Yellow Alarm light (yellow) Indicates loss of frame alignment at the remote end.
AIS light (green) Indicates the presence of all ones on the line.
MFRA light (red) Indicates loss of multiframe alignment
MFYA light (yellow) Indicates loss of multiframe at the remote end
FAIL light (red) Indicates an error occurred. (First, reset the card with resetcd f. If the LED comes on again, call the StrataCom ISC.
ACTIVE light (green) Indicates the card is in service and that circuits are active.


The TDM Transport Feature

This section applies only to CVMs (and CDPs in the IPX) that have Rev. C firmware. Rev. C provides a service called Time Division Multiplexing Transport (TDM Transport). TDM Transport bundles DS0s to form a single, transparent connection through the network. TDM Transport is most valuable for transporting TDM data from trunks in older, non-StrataCom WANs. For setup instructions, refer to Chapter 3, "Installation" and the relevant commands in the Command Reference.


Rev. C Features

The Rev. C firmware features are as follows:

  • A collection of properly configured data connections behaves as a single, transparent connection. A single connection can be from 1 to 8 DS0s (64 to 512 Kbps).

  • TDM Transport includes inverse multiplexing support.

  • The maximum rate is 2 Mbps.

  • The supported line coding is 8/8 on the circuit and trunk interfaces.

  • TDM Transport service preserves DS0 alignment within frames.


Rev. C Limitations

The limitations on TDM Transport within Rev. C firmware are as follows:

  • TDM Transport supports bundled data connections only---no voice or DS0A.

  • Circuit timing cannot come from user equipment.

  • Pleisochronous clocking is not allowed.

  • Superframe alignment is not preserved.

  • Framing bits are not transported.

  • Rev. C does not support 7/8 line encoding on circuit lines or packet lines.

  • A CDP or CVM with Rev. C firmware is compatible only with other CDPs or CVMs that have Rev. C firmware.

  • Connections on any CVM or CDP with Rev. C firmware must terminate on only one other CVM or CDP.

  • The parameter "Max. Network Delay of CDP-CDP High Speed Data Connections" must not exceed 45 ms.

  • The difference in delay due to propagation and maximum trunk queuing cannot exceed 25 ms. For example, one connection taking one hop and another connection taking six hops is not allowed. Likewise, a connection over a satellite link and a connection over a terrestrial link is not allowed.

  • For loopback testing on a CDP or CVM with Rev. C firmware, the card can have only one connection.


Inverse Multiplexing

To achieve full T1 and E1 rates on a single CVM or CDP, TDM Transport supports inverse multiplexing. Figure 2-29 shows a simple example. In this example, the three, bundled 512-Kbps data connections symbolized by the arrows add up to a T1 connection.

Figure 2-29 : Inverse Multiplexing

h8324.gif


Achieving Optimal Performance for TDM Transport

Because a single bit error can cause the entire group of connections to lose synchronization temporarily, trunks and nodes that carry the traffic should have a low bit error rate. To minimize the recovery time after a loss of synchronization, configure the least possible number of connections to carry the bandwidth. In specifying a transparent T1, for example, 3 8x64 connections is much better than 24 1x64 connections.


Frame Relay Cards

The frame relay service cards consist of the UFM (Universal Frame Module) family of front and back cards and the FRM (Frame Relay Module) family of front and back cards. (The description of frame relay services provided by the FastPAD is in the "FastPAD Cards" section. The FRM2 supports the Port Concentrator Shelf, which is described in the "Port Concentrator Shelf (PCS)" section.) The sections that follow describe these frame relay topics:

  • Introduction to frame relay on IGX

  • UFM front cards

  • UFI back cards, which provide interfaces for T1, E1, V.35, X.21, or HSSI lines

  • FRM front cards

  • FRI back cards, which provide interfaces for T1, E1, V.35, or X.21 lines

  • Frame relay port redundancy

  • Card self-test

  • Port Testing

Refer to Chapter 3 for detailed instructions on installation. Also, refer to Appendix A for more technical details on the line types supported by individual back cards.


Introduction

The first list of this section contains information that applies at the node level and the network interface. The second list contains card-specific information.

The IGX frame relay network features the following:

  • A Permanent Virtual Circuit (PVC) service.

  • Three Local Management Interface (LMI) protocols are used. LMI is the only supervisory signalling on a logical port. (LMI protocols operate between the user device and the network.) These three LMIs are the ANSI Annex D, the ITU-T (CCITT) Annex A, and a non-standard LMI.

  • A frame-forwarding service. This service forwards all valid HDLC frames from one port to a single port in the network without frame relay header processing or LMI control. For example, a workstation that transmits HDLC frames can connect to a single frame relay port on an FRM. To use this feature, the entire physical port must be dedicated to that workstation.

  • Bundled connections.

  • Explicit congestion notification.

The FRM and UFM front cards perform performs the following functions:

  • Packetize and depacketize frame relay data frames.

  • Provide frame multiplexing and demultiplexing using the DLCI field.

  • Regulate the flow of data frames into the network to provide adequate congestion prevention and control.

  • Inspect frames to ensure that they are within size limits and that they consist of an integer number of octets.

  • Performs CRC check to detect transmission errors.

  • Supports intelligent communication with user devices to share information on addition, deletion, congestion, and alarms of the multiple PVCs on each port.

  • Performs and reports the results of the loopback tests for internal, local external, and remote external tests to modems or NTUs.

On the receiving end, frames are checked against the embedded Frame Check Sequence (FCS) code. Any frame that does not pass is discarded. The front card converts frame relay data into FastPackets. Frame delimiting and transparency are provided by the frame relay flag bytes and bit stuffing. User data bytes with a value of hexadecimal 7E are converted using 0-bit insertion, so they are not processed as flag bytes. Flag bytes are used to fill partial FastPackets.


Frame Relay Module (FRM)

The Frame Relay Module (FRM) front card supports 1 to 4 data ports and, in single-port mode, operates at up to 2.048 Mbps.


Note FRM front cards exist in two forms. One uses an ACM1 adaptor. The other is a single-card or "native" version. Functionally they are identical. For the single-card version, the minimum firmware revision is "V."

Table 2-16 : Frame Relay Module (FRM) Card Sets

Front Card Model Back Cards Model
FRM Frame Relay Module D FRI-V.35
FRI-X.21
B
A
FRM-6 Frame Relay Module, with 6 channels. E FRI-T1 or FRI-E1 A
FRM-31 Frame Relay Module, with 31 channels. E FRI-T1 or FRI-E1 A
FRM2 Frame Relay Module, Port Concentrator Shelf F FRI2-X.21


FRM Features and Functions

The FRM supports a maximum port speed of 2.048 Mbps plus the following features:

  • Bundled connections

  • Frame forwarding

  • GMT request/response

  • Explicit Congestion Notification (ECN)

  • Multicast services

  • ForeSight dynamic congestion avoidance

  • AIP applications

  • Enhanced V.35 loopback test

  • T1 and E1 frame relay port interfaces

  • Network-to-Network Interface (NNI) ports for V.35 and X.21 frame relay connections that extend across a StrataCom network to a foreign network

  • Network-to-Network Interface (NNI) ports for T1 and E1 frame relay connections

The FRM can process a maximum of 252 virtual circuits (PVCs). The PVCs may be distributed over the four ports in any manner as long as the total of 252 PVCs and a limit of 2.048 Mbps per FRM are not exceeded.

Bundled and grouped connections are software groupings of multiple virtual circuits within a single routing connection. Grouping allows a node to support up to 1024 virtual circuits, which is the logical equivalent of four FRMs.


Frame Relay Interface (FRI) V.35 Card

The Frame Relay Interface V.35 (FRI-V.35) is a four-port back card to the FRM card. Two models of the FRI-V.35 can support the FRM:

  • FRI-V.35 Model A---supports composite data rates up to 1.024 Mbps and provides a CCITT V.35 interface for each port.

  • FRI-V.35 Model B---supports composite data rates to 2.048 Mbps with V.35 interface.

The FRI-V.35 has the following functions and features:

  • Interfaces 1 to 4 frame relay ports via 34-pin MRAC connector (Winchester, female)

  • RTS, CTS, DSR, DTR, DCD, LLB, RLB, and TM control leads supported

  • Handles up to 252 virtual circuits per card

  • Hardware jumpers to configure the interface as DCE or DTE

  • Supports normal and looped clocking

Figure 2-30 : Frame Relay V.35 Connectors and Indicators

h8325.gif

Table 2-17 shows the relationship between the number of ports used on the FRI and maximum operating speed for each port. Model A FRM and FRI cards are included for early users who may not have updated the cards. Note that the port numbers start at the top on the FRI faceplate.

Table 2-17 : Port Speed Combinations

FRM/FRI MODELS PORT 1 PORT 2 PORT 3 PORT 4
A/A £ 256 £ 256 £ 256 £ 256
1024 0 0 0
B/A £ 256 £ 256 £ 256 £ 256
£ 336 £ 336 £ 336 0
£ 512 £ 512 0 0
1024 0 0 0
C/A £ 256 £ 256 £ 256 £ 256
£ 336 £ 336 £ 336 0
£ 512 £ 512 0 0
1024 0 0 0
C/B
D/B
One port can operate at 2048 or 1920. Combinations of ports can add up to 2048 Kbps. If one port is 1920 or 2048, no other port can be active.


Frame Relay V.35 Port Numbering

Each frame relay logical channel has a number in the form:

SLOT.PORT.DLCI

where

  • SLOT is the number of the front and back slots where the FRM and FRI-V.35 reside.

  • PORT is the back card port number in the range 1 to 4.

  • DLCI is the identification number for the PVC. The usable range of DLCIs is 16 to 1007. DLCIs 0 to 15 and 1008 to 1023 are reserved.


FRI-V.35 Data Clocking

The two clocking modes that the FRI supports are normal and looped (Figure 2-31). Note that the direction for the clock and data are reversed for the two FRI mode configurations (DCE or DTE), as follows:

  • If the FRI is DCE with normal clocking, it provides both transmit and receive clock to the user device.

  • If the FRI is DTE with normal timing, the user device provides both the transmit and the receive clock.

  • If the FRI is a DCE with looped timing, the user device provides the transmit clock on the EXT XMT CLK line, and the FRI provides the receive clock to the user device.

  • If the FRI is DTE with looped timing, it provides the transmit clock on the EXT XMT CLK line, and the user device provides the receive clock.

Figure 2-31 : Frame Relay Data Clocking Modes

fig_4.gif


Note Clock is looped by the FRI instead of the user device.


Frame Relay Over T1 and E1 Lines

Implementing frame relay on a T1 or E1 line requires:

  • FRP model E firmware

  • FRI-T1 back card or FRI-E1 back card, respectively

A Frame Relay T1/E1 connection can terminate on any Frame Relay Interface---V.35, X.21, T1 or E1.

Frame relay on a T1 or E1 line supports the grouping of DS0 timeslots into a logical port. These logical ports are groups of contiguous DS0s or a single DS0. Logical ports that consist of multiple DS0s are at the full rate of 64 Kbps per timeslot. Logical ports that consist of single DS0s may be configured as 56 Kbps or 64 Kbps. See Figure 2-32.

If a logical port is configured for 56 Kbps, the IGX strips the least significant (signalling) bit from the incoming octet and puts a 1 in the least significant bit of the outgoing octet. This 56-Kbps rate typically applies to groomed DDS circuits that exist on a T1/E1 line.


Note E1 reserves timeslot 16 for special use, so timeslot 16 is unavailable with channel-associated signalling (CAS). However, with common channel signalling (CCS), timeslot 16 carries data. See cnfcln in the Command Reference.

Figure 2-32 : Multiple and Single DS0s Forming a Logical Port

h8369.gif

Figure 2-33 illustrates the FRI-T1 and FRI-E1 back cards.

Figure 2-33 : Frame Relay T1/E1 Back Cards

h8326.gif


Loopbacks

Port loopbacks (tstport and addextlp command) towards the IGX are not supported. Connection loopbacks towards the facility are supported by addloclp and addrmtlp.


FRM-FRI Compatibility

The Display Card (dspcd) command indicates the type of back card that the FRM firmware supports and reveals a mismatch.


Commands for T1/E1 Frame Relay

Logical ports are specified with the addfrport command, which associates a group of DS0s to a logical port number. The lowest timeslot number of the created group becomes the logical port number. The logical port number is used to up the port (upfrport), add connections (addcon) and display statistics (dspportstats).

Logical ports are displayed with the dspfrport command and are arranged in ascending port number sequence.

Logical ports are deleted using the delfrport command, which will ungroup any multiple DS0s and/or unassign a single DS0 logical port. (Connections for the ports must be deleted (delcon, delcons) prior to deleting the ports.) After deleting one or more ports, downing the port (dnfrport) can follow.


Frame Relay Interface for X.21

The FRI-X.21 back card provides an X.21 interface to the user equipment. The two model D FRI cards are the FRI-V.35 and FRI-X.21. They differ only in the physical connectors (see Table 2-18). The operating rates of each port and the composite data rate supported by the FRI-X.21 card is the same as the FRI-V.35. Each port may is configurable as a DCE or a DTE.

Another FRI card is the FRI-2-X.21. This is the back card that provides the interface between the Port Concentrator Shelf (PCS) and the FRM-2. See the "Port Concentrator Shelf (PCS)" section.

The FRI-X.21 uses leased line service for international networks. The V.35 version is for domestic U.S. use and is also intended for connection to leased line service.

The FRI-X.21 back card has the following features:

  • Four frame relay data ports with CCITT X.21 interface through DB15 connectors.

  • Support for all standard X.21 data rates up to 2.048 Mbps.

  • Support for C (control) and I (indication) control leads.

  • Daughter board used to configure FRI as DCE or DTE.

  • Card redundancy option provided by Y-cable and standby card pair.

FRI configuration supports one to four ports. The configuration depends on the maximum speed requirement (the card itself has a maximum composite speed). Figure 2-34 shows the FRI faceplate. Table 2-19 lists the available port operating speeds.

Any one port may operate at 2048 Kbps. Any combination of ports can equal 2048 Kbps. If a port is operating at 2048 Kbps, it must be port 1, and no other port can be active. Numbering of the four DB15 connectors starts at the top of the faceplate. Table 2-20 lists the cable and pinouts for an X.21 port.

Table 2-18 : FRI Card Types

Card Type Interface No. of Ports Connector Type
FRI-X.21 X.21 4-ports DB15 Sub miniature, female
FRI-V.35 V.35 4-ports 34-pin MRAC type (Winchester), female

Table 2-19 : Frame Relay Port Speeds Available

Port Speeds (Kbps) Maximum
Any multiple of 56 Kbps Up to 1.792 Mbps
Any multiple of 64 Kbps Up to 2.048 Mbps

Table 2-20 : FRI-X.21 Port Pin Assignments (DB 15-connector)

Pin # Name Source Description
1 Gnd. both Protective (Shield) ground
8 Sig. Gnd. both Signal ground
3/10 C both Control
5/12 I both Indication
2/9 TxD DTE Transmit Data from DTE
4/11 RxD DCE Receive Data to DTE
6/13 S DCE Clock Out (DCE), Clock In (DTE)

Figure 2-34 : Frame Relay X.21 Connectors and Indicators

h8327.gif


X.21 Data Clocking

The FRI-X.21 supports only a normal clock mode. The direction of the clock and data lines is reversed if the FRI is configured as a DCE or as a DTE as follows (see Figure 2-35):

  • If the FRI is configured as a DCE, it provides a clock signal to the user device (DTE) on the S (clock) lead. This clock is synchronous with the node timing.

  • If the FRI is configured as a DTE, the FRI-X.21 receives clock from the user device (DCE) on the S (clock) lead.

Figure 2-35 : Frame Relay Data Clocking Modes

h8075.gif


Frame Relay Card Redundancy

Optional redundancy for the frame relay card types (FRM/FRI) can be provided with a second front and rear card set and a Y-cable connection on each port to the customer data equipment as illustrated in Figure 2-36. A card redundancy kit is available. The kit contains a second FRM/FRI card set, a set of four Y-cables to interconnect the two card sets to the customer connection, and a redundant DCE/DTE programming board for the installed FRI. In the case of either a V.35 or X.21 interface, when a non-redundant card set is changed to a redundant card set, the DCE/DTE daughterboard on the FRI must be changed. Only the model D of the V.35 or X.21 back cards use the daughterboard.

Y cable redundancy is not possible between differing back card types, such as FRI T1/E1 to FRI V.35.

After the hardware is installed, the node must be reconfigured to indicate that the slot is equipped with redundancy. Use the Add Y Redundancy (addyred) command to do this. Refer to the Command Reference for more information on the redundancy commands addyred, delyred, dspyred, and ptyred.

Figure 2-36 : Frame Relay Port Redundancy

h8356.gif


Card Self Test

As with all IGX cards, the FRI-X.21 includes internal diagnostic routines that periodically test the card's performance. These self-test diagnostics automatically start and run in background. They do not disrupt normal traffic. If a failure is detected during the self test, the faceplate red FAIL LED is turned on. The operator can also view the status at the control terminal by executing the Display Card (dspcd) command.

A report of a card failure remains until cleared. A card failure is cleared by the Reset Card (resetcd) command. The two types of reset that resetcd can do are hardware and failure. The failure reset clears the event log of any failure detected by the card self-test but does not disrupt operation of the card. A reset of the card firmware is done by specifying a hardware reset. This reboots the firmware and momentarily disables the card. If a redundant card is available, the hardware reset causes a switch over to the standby card.


Port Testing (X.21)

The X.21 frame relay ports and any associated external modems, CSUs, or NTUs can be tested using data loopback points in the circuit path. There are three possible loopbacks for X.21 frame relay ports that may be established, as follows:

  • An internal loopback of the port

  • A loopback of the near end (local) modem

  • A loopback of the other end (remote) modem

The modems must be compatible with the StrataCom loopback protocol. For information on supported modems and protocols, refer to the Appendix B, "Peripherals Specifications," and the Command Reference for protocol requirements for the addextlp, addloclp, and addrmtlp commands. For information that applies to loopbacks on the FRM-2/FRI-2 and PCS, see the descriptions of these loopback commands in the Command Reference. Also, the ISC can answer questions about modem protocol requirements.

All three loopbacks are set up using the tstport command. Only one port at a time can be in loopback mode for testing.

The internal loopback point is established inside the FRI card (see Figure 2-37). The FRM generates a test pattern, sends it out on the transmit circuitry, and detects this pattern on the receive circuitry. This test takes several seconds and momentarily interrupts traffic on the port. The test runs on a port that is in either DCE or DTE mode.

Figure 2-37 : Frame Relay Loopback Modes

h8078.gif

For ports configured for DTE, the two additional tests (local loopback and remote loopback) are available. For these ports there are two methods of loopback testing:

  • A loopback data pattern (Test Mode) is transmitted to initiate a loopback. The modems or NTUs may or may not recognize these codes to perform the loopback. The FRI does not care and waits a programmable period (default = 10 seconds) of time to send the test pattern. After the test is completed, transmission of the codes is terminated and the circuit returns to normal operation. A Model D FRM is required for this testing. The test result is displayed on the IGX control terminal tstport screen.

  • Some external equipment supports loopback testing but does not recognize the test pattern (Test Mode) in the data stream. In these cases, the FRM/FRI toggles the V.35 LLB (local loopback) and the RLB (remote loopback) leads then runs the test pattern. The FRM/FRI still waits the user-programmable time period (default = 10 secs) before running the data test pattern. A Model D FRM is required for this testing. The test result is displayed on the IGX control terminal tstport screen.


Unit Replacement

Replacing an FRI card is done the same way as other back cards. For these procedures, refer to the Chapter 5, "Repair and Replacement."


Port Concentrator Shelf (PCS)

This section introduces the Port Concentrator Shelf (PCS) for frame relay traffic. The PCS is an external device that expands the capacity of a Frame Relay Module (FRM) to 44 low-speed ports. This ability to increase the port density of an IGX switch supports more efficient usage for the common switch equipment. The port parameters are as follows:

  • The per-port range is 9.6 Kbps to 384 Kbps.

  • The typical configured rate is 64 Kbps per port or less.

  • The maximum total throughput for the 44 ports is 1,792 Kbps.

The PCS requires a version of the FRM/FRI card set that is exclusively dedicated to the PCS. The front card is the FRM-2. The back card that interfaces the FRM-2 to the PCS is the FRI-2-X.21. Figure 2-38 illustrates the relation ship between the FRM/FRI card set and the PCS. It provides one or more X.21 links. Each X.21 link is called a concentrated link. In a full configuration, each concentrated link services one of four 11-port modules in the PCS. This makes a total of 44 ports on the FRM-2.

For more detailed information on the PCS, refer to the section on the Port Concentrator Shelf in the System Manual. For detailed installation instructions, refer to the Port Concentrator Installation document that comes with each unit. Cabling information for the PCS appears in the cabling appendix and in the Port Concentrator Installation document.

Figure 2-38 : Port Concentrator Shelf Components

h8329.gif


Terminology

The following terms are used to identify PCS components:

  • "FRC" (Frame Relay Concentrator) ports---FRM-2-X.21 ports connected to the PCS, used in commands such as dspfrcport. These are also known as PCS "physical" ports.

  • Frame relay logical ports---each of the 44 PCS ports, from the perspective of the IGX interface, is a logical port. This distinguishes it from a physical frame relay port.


Operation and User Interface

Other than front panel LEDs, the PCS has no user interface because the PCS functions as an extension of the FRM-2. PCS ports are operated and maintained from the IGX user interface.

The PCS operates within the IGX environment as a frame relay card with 44 ports. Existing frame relay commands (cnffrport, upfrport, dnfrport, addcon, delcon, etc.) are the same in syntax and function. The difference is that a range of 44 ports can be specified instead of 4. The configuration of each of the PCS logical ports is similar to that of non-PCS frame relay ports. A frame relay card connected to a PCS notifies the system database and permits the additional ports to be specified.


PCS to IGX Interface


Compatibility

The PCS requires the following:

  • System software version 8.1 or later

  • FRM-2 front card and FRI-2-X.21 back card


Note Use of the PCS with the FRM-2 is exclusive: the PCS does not work with any other model of the FRM, and only a PCS works with the FRM-2. For example, if fewer than four PCS modules are used, unused frame relay ports cannot connect to something other than the PCS.


Concentrated Link

The concentrated link refers to the connection between port concentrator and frame relay card. Each module supporting 11 external ports is connected to 1 of the 4 ports on the FRI-2-X.21 back card.


Configuration

Each of the four composite links between PCS and IGX has a fixed configuration of:

  • Speed: 512 Kbps

  • FRM-2 physical port: FRI-2-X.21 DCE

  • PCS composite port: X.24/V.11 DTE

The PCS Concentrated Link cable is illustrated in the cabling appendix. Its maximum length is 25 feet. Using modems to extend this distance is not supported.


Activation

FRM-2 firmware interacts with the PCS over composite links only if the FRM-2 is active. The FRM-2 changes from standby to active state when its first logical port is activated.


upfrport Command

A PCS logical port associated with an FRM-2 card is activated with the upfrport command. The upfrport command requires the slot number of the FRM-2 to which the PCS is connected. Enter the slot number and a logical port in the range of 1-44 (assuming a connection exists for all 4 composites between the PCS and IGX).

Example: upfrport 4.1

This example indicates that the FRM-2 in slot 4 and concentrated link 1 are connected.

Entering the upfrport command for one port activates all four ports. The following events are generated by successful activation of four concentrated links. The display is from the example "upfrport 4.1:"

"Info FRM 4 Activated"
"Info FRM Port 4.1 Activated
"Info FRM Concentrated Link 4.1 Failure Cleared"
"Info FRM Concentrated Link 4.2 Failure Cleared"
"Info FRM Concentrated Link 4.3 Failure Cleared"
"Info FRM Concentrated Link 4.4 Failure Cleared"

A noticeable delay occurs after upfrport begins executing on the first port. During initial upfrport execution, the FRM-2 performs first-time configuration, diagnostic, and up/download functions.

If a concentrated link is not connected or fails to come up, the logical port remains in a failed state until either the link comes up or the port is deactivated with the dnfrport command.


De-activation: the dnfrport Command

The frame relay card returns to the standby state after all 44 logical ports are de-activated with the dnfrport command.


PCS Port Configuration

When the frame relay ports are activated, the IGX recognizes them as PCS-connected ports. Subsequently, all applicable frame relay port management commands accept logical port numbers in the form slot.port. The range for port is 1 to 44. Table 2-21 shows the logical ports the PCS supports. In Table 2-21, slot is the IGX slot in which the FRM-2 resides.

Table 2-21 : PCS Logical Ports

PCS Ports
Composite L1 slot.1---slot.11
Composite L2 slot.12---slot.22
Composite L3 slot.23---slot.33
Composite L4 slot.34---slot.44


Interface Hardware Configuration

The interface and clocking characteristics for each PCS port is independently configured to be V.11 (X.21), V.35, or V.28 by inserting the required interface card (or "ICARD") into the associated slot in the PCS. For detailed information on PCS hardware interfaces, refer to the Port Concentrator Installation document. This document comes in the PCS shipping container.

The IGX does not have the capacity to read the type of interface present for the PCS port. Values entered under the Interface Type parameter with the cnffrport command are used in the display only and cannot be checked against the hardware.


Software Parameters


cnffrport Command

A PCS is configured with the cnffrport command. With the following limitations, all parameters for the cnffrport command are supported:

  1. For each group of 11 logical ports, the total speed must be 384 Kbps or less. The remaining 64 Kbps of composite link speed is reserved for control information. This total includes active ports only.

  2. The default port speed is 38.4 Kbps (instead of 256 Kbps for non-PCS ports).

  3. Speeds of 9.6, 14.4, 16, 19.2, 32, 38.4, and 48 Kbps are supported on PCS ports. Higher speeds (56 to 384 Kbps) are valid as long as limitation 1, above, is observed.

  4. Only the active Interface Control Template is supported by the PCS.


Port Statistics

All frame relay summary and interval statistics are kept for PCS ports. The PCS and FRM-2 share responsibility for statistics collection on PCS ports. The PCS maintain counters for:

  • CRC errors on received frames

  • Aborted/underrun received frames

  • Transmit Frames Discards

  • Transmit Bytes Discards

All remaining statistics counters are collected by the FRM-2. Although the IGX supports ForeSight for PCS connections, CLLM (ForeSight) statistics are not available in Release 8.1. These fields are present but not valid.


PCS Monitoring Functions

Monitoring functions generally apply to the PCS with the exception that up to 44 ports may be specified per FRM-2 slot. For descriptions of the monitoring commands, refer to the "Troubleshooting" chapter of the Command Reference. Note that commands dspchcnf, dspchstats, dspportstats, and dspbob fail when the required concentrated link is down. Trying to execute one of these commands on a concentrated link that is down causes an error message to appear.


Collection of Monitoring Information


Logical Port Speed

The PCS measures the speed of receive data on logical ports if the port is configured as a DTE interface. To see the measured speed, use the dspbob command. The PCS measures port speed after any of the following occurs:

  • When the PCS is first powered up.

  • When a port is configured with the cnffrport command. After the port is reconfigured, speed of incoming data is measured.

  • When signals are displayed for the port with the dspbob command, you are given the option of measuring port speed at that time.

  • When the PCS is reset or power is interrupted for any reason.

The process of measuring port speed sends out two 1-byte frames with no CRC on the port.


Physical Port Speed

The IGX measures the physical port speed for FRI-2-X.21 ports once per minute. The current measured speed is displayed with the dspfrcport command and should always read 512 Kbps when the port is active.


PCS Front Panel LEDs

Table 2-22 : PCS Module Front Panel LEDs

LED Name Function
State OFF = No power. RED = power applied but software not running.
GREEN = Operating software running.
Rx Flashes for frames received on concentrated link.
With no activity on link, Link Rx blinks once per second.
With steady activity on link, Link Rx is on continuously.
Tx Flashes for frames transmitted on concentrated link
With no activity on link, Link Tx blinks once per second.
With steady activity on link, Link Tx is on continuously.
CPU A On solid when operating software on CPU A is running. Should always be On during operation.
CPU B On solid when operating software on CPU B is running. Should always be On during operation.
Port 1 On for module connected to FRM-2 Port 1. Should always be On for Module 1.
Port 2 On for module connected to FRM-2 Port 2. Should always be On for Module 2.
Port 3 On for module connected to FRM-2 Port 3. Should always be On for Module 3.
Port 4 On for module connected to FRM-2 Port 4. Should always be On for Module 4.
Download Flashes when frames are received during software download from FRM-2.


Card Insertion and Removal

If the FRM-2 or FRI-2.X21 card is removed for any reason, be sure to maintain card compatibility upon card replacement: the FRM-2 card is compatible with only the FRI-2-X.21 back card. The IGX declares a mismatch state for any other back card inserted into an active FRM-2 slot. Inserting compatible hardware is the only way to clear the mismatch. Similarly, once an IGX slot is active with an FRM-2, a mismatch is declared if any other front card is inserted into this slot. Before the slot can be used for any other type of card, the slot must be de-activated as a PCS-capable frame relay card.


PCS Command Summary

The commands in the list that follows apply to PCS frame relay ports. Most commands have the syntax described in the Command Reference with the exception that system software recognizes 44 ports per FRM-2 instead of 4. Some commands are PCS-specific.

addcon used to add frame relay connections.
addloclp test command for creating local loopback.
addrmtlp test command for creating remote loopback.
cnfcondsc configures frame relay connection description.
cnfchpri configures frame relay channel priority.
cnfchutl optimizes frame relay channel utilization.
cnffrcls configures frame relay class of service (also cnfcos command for connection)
cnffrcon configures frame relay connection parameters.
cnffrport configures frame relay port parameters.
cnfpref configures preferred route for frame relay connection.
clrchstats clears PCS frame relay channel statistics.
clrfrcportstats PCS-specific command for clearing FRI-2-X.21 physical port statistics.
clrportstats clears PCS frame relay port statistics.
delcon deletes a frame relay connection.
delcongrp deletes a frame relay connection group.
dellp deletes a frame relay loopback condition.
dncon deactivates a frame relay connection.
dspchcnf displays channel configuration.
dspchstats displays PCS frame relay channel statistics.
dspfrcportstats PCS-specific command to display FRI-2-X.21 physical port statistics.
dspfrcbob PCS-specific command for displaying FRI-2-X.21 physical port signals.
dspfrport displays PCS logical port.
dspfrcport displays FRI-2-X.21 physical port.
dsppcs PCS-specific command to display PCS unit information.
dspportstats displays PCS frame relay port statistics.
dspcon displays frame relay connections.
prtcons prints frame relay connections.
prtchcnf prints frame relay channel configuration.
tstcon tests frame relay connection.
tstdelay tests frame relay connection delay.
tstpc PCS-specific command to test the PCS.
resetpc PCS-specific command to reset the PCS.


PCS Port Failures

A PCS logical port failure is defined as a minor alarm. The FTC/FRP Port Comm Failure icon appears in the dspalms screen. Any connection that terminates on a failed port is also failed. Three causes of a port failure are defined, as described under Alarms and Events.


Conditioning

A failed connection on a PCS logical port is conditioned in the same manner as a failed connection on a non-PCS FRP port. Only the active control template is supported on PCS ports. The "conditioned" control template should not be used for PCS logical ports.


PCS General Operation


Firmware Download

When it detects a Port Concentrator on one of its links, the FRM-2 checks for a compatible firmware revision on the Port Concentrator. If the FRM8-2 detects that the firmware on the Port Concentrator is incompatible, the FRM8-2 downloads the current firmware to the Port Concentrator. This download operation takes about two minutes. An event is logged when a firmware download has either started or failed.

Operating software on the Port Concentrator is stored in Flash memory. Download should be required only if the PCS is connected to an FRM-2 with newer firmware or a PCS module is replaced and a software version difference exists.


Automatic Diagnostics---FRM-2 and FRI-2-X.21 Cards

The FRM-2 card runs a self-test diagnostic when it is in the standby state. The system software uses a reserved channel on the FRM-2 card to perform background loopback tests that include both the FRM-2 and FRI-2-X.21. This test verifies that all components up to the FRI-2-X.21 physical port are functioning. These diagnostics do not test the PCS.


StrataView Plus Interface

Information about PCS logical ports and frame relay connections is automatically reported to StrataView Plus, just as they are for FRP ports and connections.

Connection Management and other FRM-2 port functions may also be handled for PCS ports from StrataView Plus.


SNMP Manager

The SNMP agent supports Port Concentrator logical ports. This includes configuring PCS port parameters, adding, or deleting frame relay connections, and retrieving statistics.

The SNMP agent also supports provisioning for 44 frame relay ports for FRM-2; the existing MIB variables are extended to the expanded number of logical ports. SNMP management functions are not supported for the Port Concentrator concentrated links.


User Interface

Interaction between the FRM-2 and PCS automatically updates the database to display the number of connected logical FRM-2 ports at the PCS. As a result, both the IGX user interface and the StrataView Plus interface automatically display the additional capacity of 44 ports for the FRM-2.


Concentrated Link Failure

If, during normal operation, communication stops between FRM-2 and PCS over a concentrated link, a concentrated link failure alarm is generated.

In addition, during startup, a concentrated link is failed for any of the following reasons:

  • Port Concentrator is not present.

  • Code download from FRM-2 to Port Concentrator fails.

  • Port Concentrator self-test fails.

  • Cable is unplugged or bad.


FastPAD Cards

The IGX supports the use of FastPAD devices in the network. The cards that support FastPADs for an IGX are the FTM front card and an FPC back card. The back card provides either a T1, E1, V.35, or X.21 interface. Each FPC V.35 and FPC X.21 provides four ports, and each port can support one attached FastPAD device either locally or remotely via modem. The T1 card has a DB15 for RX/TX and an alternate pair of RX/TX BNC connectors. The E1 connections are the same except for additional RX/TX monitoring BNC connectors. Dual card sets configured for Y-cable redundancy are also supported. Figure 2-39 shows the FTM front card and the V.35 version of the FPC.

Commands entered at the control terminal manage the FTM/FPC, the FastPAD, and their ports and connections. Furthermore, statistics related to cards, ports, and the FastPAD are collected and made available to StrataView Plus.

Figure 2-39 : FastPAD Cards: FTM and FPC (V.35)

h8328.gif

Card management of the FTM/FPC card set includes detection of card installation and removal, card mismatch, and Y-cable redundancy.

Port management includes EIA signalling, LMI alarms, upping and downing of ports and the collection of port statistics available to StrataView Plus.

FastPAD management permits the management of cards and ports on the FastPAD device from the IGX node. This management includes card and card removal detection, card mismatch, uploads and downloads between the FastPAD and the IGX node.

Connection management involves mapping FastPAD connection to frame relay type VCs (virtual circuits). Connections originating at a FastPAD must terminate at another FastPAD. Each FTM/FPC card set supports up to 252 VCs. VC statistics are collected and made available to StrataView Plus.

For descriptions of the FastPAD commands and detailed information on the FastPAD, refer to the FastPAD User's Guide. Refer also to the StrataView FastPAD User's Guide.


Data Cards

A data circuit has a direct interface to the IGX through either a High-speed Data Module (HDM) or Low-speed Data Module (LDM) card set. The HDM set consists of an HDM front card and a Synchronous Data Interface (SDI) back card. The LDM set consists of an LDM front card and a Low-speed Data Interface (LDI) back card. The back cards match the circuit type to the front card. Synchronous data card sets are listed in Table 2-23. An IGX 32 node can have up to 25 HDM/LDM sets in a non-redundant system, for support of up to 200 full-duplex data connections.

The synchronous data cards support the ability to configure and monitor EIA leads; the ability to configure each channel for clocking, data rate, and DTE or DCE interface type; and complete loopback testing capability. Data channels can support null modem emulation as well as constant-carrier and switched-carrier operation. Data interfaces are transparent with respect to protocol. Asynchronous, binary synchronous, and bit synchronous protocols are supported with no impact on host or terminal software.

Table 2-23 : Synchronous Data Cards Available

Front Card Back Card
HDM, High-speed Data Module SDI, RS-449 synchronous data interface (for X.21 or
RS-422).
SDI, V.35 synchronous data interface.
SDI, RS-232D synchronous data interface.
SDI, RS-232C synchronous data interface (for V.24).
LDM, Low -speed Data Module LDI, RS-232C (V.24) four-port and eight-port low-speed
data interface, non-interleaved EIA. 4-port models
limited to 56 Kbps., 8-port models up to 19.2 Kbps.
LDI, RS-232D four-port and 8-port, low-speed data
interface, up to 19.2 Kbps., non-interleaved EIA.
LDI4/DDS, four-port AT&T 56 Kbps. Digital Data
Service interface.


High-speed Data Module (HDM)

The HDM front card in an IGX is a programmable communications processor that can support one to four high speed, synchronous data channels. It operates at speeds from 1.2 Kbps up to 1.024 Mbps on all four ports while performing link error monitoring.

The HDM front data card:

  • Performs cell adaptation

  • Supports normal, looped, and split clocking

  • Provides isochronous clocking circuitry

  • Packetizes and depacketizes EIA lead sampling information

  • Provides loopback capabilities, testing, and diagnostics

An internal baud rate generator provides transmit and receive data clocks to the SDI card at the selected rate. The HDM can accept data from an external data device with a non network synchronized clock (isochronous clock) up to 112 Kbps. With isochronous clocking, the HDM sends a clock control signal to the other end of the circuit to synchronize the far end HDM receive clock to the isochronous clock received at the near end.

Unless specified, a packet of data for EIA control lead information is built only at a very low rate or when a change of state is detected on one or more of the control leads. The data rate is specified as either "fast" or "not fast" (the default) by the addcon command for data connections. A fast EIA lead transmission can be specified in the software to send EIA control lead information in every FastPacket (interleaved EIA mode). This tightly couples the EIA lead states with the transmitted data but reduces the bandwidth efficiency.

The HDM card is installed in a front slot. An SDI back card plugs directly into the P2 connector of the front card. The SDI back card provides the proper data channel interface.

The faceplate of the HDM has message lights and pushbuttons for loopback control and signal monitoring. The pushbuttons provide for loopback testing and for scrolling through the FastPacket data ports for a snapshot of selected data port conditions (indicated by PORT, PORT UNDER TEST, loopback, and communication line state lights). Figure 2-40 illustrates and Table 2-24 lists the controls and indicators. When correlating the figure to the table, read from the top down.

Figure 2-40 : HDM Controls and Indicators

h8330.gif

Table 2-24 : HDM Controls and Indicators

Indicator Function
PORT light (yellow) Indicates which FastPacket data port on the back card is currently monitored.
SCROLL push-button When pressed toggles through to the desired port. Information that is displayed by the remaining lights on the HDM faceplate applies to the port whose corresponding light is on.
LOOPBACK push-button When pressed, toggles through the three loopback states---no loopback, local loopback, and remote loopback---on the port whose corresponding light is on. This button can be disabled by the cnffunc command.
PORT UNDER TEST light
(yellow)
Indicates that one of the ports has been placed in the loopback mode. If this is not the current port, press the SCROLL push-button to toggle in the port being tested.
LL light (yellow) Indicates a local loopback is present on a port.
RL light (yellow) Indicates a remote loopback is present on a port.
DTR light (green) Indicates that the Data Terminal Ready signal is ON at the selected port terminal.
TXD light (green) Indicates that the Transmit Data signal is ON at the selected port terminal.
DCD light (green) Indicates that the Data Carrier Detect signal is ON at the selected port terminal.
RXD light (green) Indicates that the Receive Data signal is ON at the selected port.
FAIL light (red) Indicates an error occurred. Resetting the card with the resetcd f command is suggested first. If the LED comes on again, call the StrataCom ISC.
ACTIVE light (green) Indicates that the card is active and functioning normally.

Redundancy for HDM data cards can be provided with a second front and back card set and a Y-cable connection on each port to the customer equipment. See Figure 2-41.

Figure 2-41 : HDM Data Port Redundancy

fig_5.gif


Synchronous Data Interface Card (SDI)

The SDI card is a synchronous data interface back card that directly connects to a front HDM card. Each SDI card has four connectors and provides the physical and electrical connection interface to four data ports. Each port is independently configurable for DTE or DCE mode, baud rate, and so on. One for one port redundancy is provided with a second card set and a standard Y-cable arrangement.

The SDI card:

  • Provides four ports for interfacing to the data equipment.

  • Provides EIA control circuitry and samples EIA lead information.

  • Performs serial to parallel conversion of data.

  • Provides a jumper strap for configuring the ports as DTE or DCE.

Four types of SDI back cards can provide an interface between an HDM front card and the customer data equipment. Table 2-25 distinguishes each type of SDI card.

Table 2-25 : SDI Physical Interfaces

Interface No. of Ports Connector Type
RS-232C/V.24 4-ports DB25 Subminiature, female
RS-232D/V.24 4-ports DB25 Subminiature, female
RS-449/X.21 4-ports DB37 Subminiature, female
V.35 4-ports 34-pin MRAC type (Winchester), female

Three clocking modes are available on the SDI for clocking in transmit data and clocking out receive data. In addition, the SDI can operate as either a DCE or DTE, which makes possible six combinations of clocking (See Figure 2-42 and Figure 2-43). With loop clocking, the user device must loop the RxC to the XTC for clocking out the transmit data.

When the SDI is configured as DTE, the user device is the source of clock timing and is generally not synchronous with the network (IGX) timing. This is isochronous clocking. Isochronous clocking allows the customer data sets at each end of a circuit to operate at slightly different rates (non-synchronously) with minimum delay and loss of data. This feature limits the amount of data allowed to accumulate in the HDM receive buffers and forces a re-synchronization before the delay reaches an unacceptable level.

Figure 2-42 : SDI (as DCE) Clocking Modes.

h8071.gif

Figure 2-43 : SDI (as DTE) Clocking Modes

h8064.gif

Isochronous clocking is only acceptable for data rates of 112 Kbps or less and may be used only on one input at a time per port. It does not support two isochronous clock inputs in the same direction as would be required by some modems that output both the TxC and RxC clocks totally independently.


Note The IGX automatically uses isochronous mode when the DTE/DCE endpoints warrant its use.

Split clocking mode uses the user device timing for timing data transmission in one direction and the IGX timing for the other direction.


Low Speed Data Module (LDM)

  • The LDM front card is a programmable communications processor that can support up to eight synchronous or asynchronous data ports. Each port is independently configurable for DTE or DCE mode, baud rate, and so on. The LDM card is a low speed data module for use on RS-232C ports with data rates up to 19.2 Kbps, where the higher speed capabilities of an HDM are not required. An LDM can provide 56 Kbps Digital Data Service interfaces to the IGX when used with an LDI4/DDS.

  • The LDM can process either synchronous or non-synchronous data inputs. With non-synchronous inputs, the data is over-sampled at a rate determined by how much jitter the customer equipment can tolerate. Using an external device is also possible for synchronizing the asynchronous data before it goes into the IGX.

The LDM front data card:

  • Performs cell adaptation of customer data and EIA control leads.

  • Supports normal and looped clocking.

  • Provides loopback capabilities, testing and diagnostics.

Additional features, such as embedded (fast) EIA, sixth EIA lead support, and pleisochronous clocking, are also supported. The fast EIA control lead lets the user include the RTS/CTS EIA control leads in the same FastPacket as customer data. The EIA control lead status is encoded as the eighth data bit in each data byte. This provides a quick EIA response without significantly affecting bandwidth requirements. It is limited to data rates of 19.2 Kbps and below.

The LDM can reside in any empty front slot and requires an LDI back card. The LDI card plugs directly into the P2 connector of the LDM card.

The faceplate of the LDM has message lights and pushbuttons for loopback control and signal monitoring. Figure 2-44 shows and Table 2-26 lists these indicators and buttons. When correlating the figure to the table, read from the top down. The buttons are for loopback testing and scrolling through the FastPacket data ports to obtain a snapshot of selected port conditions (indicated by PORT, PORT UNDER TEST, loopback, and communication line status lights).

Figure 2-44 : LDM Connections and Indicators

h8331.gif

Table 2-26 : LDM Connections and Indicators

Indicator Function
PORT Readout Display Indicates which FastPacket data port (1 through 8) on the Back card is currently under scrutiny.
SCROLL push-button When pressed, toggles through to the desired port. Information that is displayed by the remaining lights on the LDM faceplate applies to the port whose light is on.
LOOPBACK push-button When pressed, toggles through the three loopback states on the port whose light is on. The three states are: no loopback, local loopback, and remote loopback.
PORT UNDER TEST light
(yellow)
Indicates that one of the ports has been placed in the loopback mode. If this is not the current port, press the SCROLL push-button to toggle in the port being tested.
LL light (yellow) Indicates that a local loopback is occurring on one of the ports.
RL light (yellow) Indicates a remote loopback is occurring on one a port.
DTR light (green) Indicates that the Data Terminal Ready signal is ON at the selected port terminal.
TXD light (green) Indicates that the Transmit Data signal is ON at the selected port terminal.
DCD light (green) Indicates that the Data Carrier Detect signal is ON at the selected port terminal.
RXD light (green) Indicates that the Receive Data signal is ON at the
selected port.
FAIL light (red) Indicates an error occurred. Resetting the card with the resetcd f command is suggested first. If the LED comes on again, call the StrataCom ISC.
ACTIVE light (green) Indicates that the card is active and functioning normally.

Optional redundancy for LDM data card types can be provided with a second front and back data card set and a Y-cable connection on each port to the customer data equipment as indicated in Figure 2-45.

Figure 2-45 : LDM Data Port Redundancy

h8367.gif

The 4-port and 8-port LDM supports only a subset of the full RS-232C/D control leads. The LDM supports only non-isochronous DCE normal and DCE or DTE looped clocking modes, transmission of 3 EIA lead states (non-interleaved), and baud rates of up to 19.2 Kbps on the 8-port version and 38.4 Kbps on the 4-port version. Split clock mode is not supported.


DDS Using the LDM/LDI

An LDI4/DDS card provides an interface for four 56 Kbps DDS circuits for T1 IGX systems. The LDI4/DDS card can operate either as a Data Service Unit (DSU) or Office Channel Unit (OCU). Again, one for one port redundancy is available with a second card set and Y-cables for each port.

The LDI4/DDS operating parameters are software selectable for either DSU or OCU mode. Permissible operating speeds in Kbps are: 2.4, 4.8, 9.6, 19.2, and 56. The clock synchronization is looped clock for the OCU mode and external clock for the DSU mode. The LDI4/DDS supports the DDS control codes idle, zero suppression, out-of-service, and loopback sequences. Standard DDS diagnostic tools such as local and remote loopbacks are provided.

In the DSU mode, a port is connected to the local service provider and they should guarantee that the line length will not exceed the 34 dB loss limit that the DDS standard requires. When using a port in the OCU mode, private wiring is used. In this case, refer to Table 2-27 which shows worst case loss and maximum loop lengths for the different operating rates.

Table 2-27 : DDS Loop Length Maximums

Line Rate Loss Equivalent Cable Length (miles)
(Kbps) (dB) 19 ga. 22 ga. 24 ga. 26 ga.
2.4 42 28.7 19.8 15.6 13.3
4.8 42 21.0 14.3 11.2 9.5
9.6 42 15.8 10.4 8.1 6.8
19.2 42 12.5 7.9 6.0 5.0
56 38 8.7 5.1 3.6 2.9


Low Speed Data Interface Card (LDI)

The Low-Speed Data Interface (LDI) card is a low-speed data interface back card that operates in conjunction with an LDM front card. The LDI provides the physical and electrical connection interface between the user low-speed data circuit and the LDM data PAD. Three models of the LDI exist. Two are four-port cards, and one is an eight-port card, as Table 2-28 indicates.

Some of the functions and features of the LDI are:

  • Four or eight ports for interfacing to the data equipment

  • Sampling of EIA lead status for the LDM to monitor

  • Serial-to-parallel conversion of user data

  • Support for DTE or DCE operation

Table 2-28 : LDI Physical Interfaces

Unit Interface Ports Connector Type
LDI 4 RS-232C/D (V.24) 4-ports DB15 Subminiature, female
LDI 8 RS-232C/D (V.24) 8-ports DB15 Subminiature, female
LDI 4 /DDS DDS 4-ports DB15 Subminiature with pigtail adapter for 8-pin RJ-48 connections

The LDI can operate either as a DCE or DTE. Selection is made by using a StrataCom DTE or DCE adapter cable between the port connector and the cable from the user device. This cable is terminated with a standard DB25 on the customer end. Each port is configured separately.

Three EIA control leads are brought out to the rear connectors, three when used as a DCE and three for DTE. These leads are:

Table 2-29 : EIA Control Leads

LDI as DCE LDI as DTE
RTS CTS
DSR DTR
DCD RL

The RL lead allows the use of a previously unused DTE EIA output lead. Remote loopback (RL) may be used to enable a far-end modem loopback. Local loopback (LL) is not provided as an output on the LDI. If local loopback is required, use the DTR lead by wiring it to the connector pin for local loopback.

The LDI supports two clocking modes: normal and looped (Figure 2-46). The normal mode is used when the LDI port is configured as a DCE. Looped clock is only used when the LDI port is configured as a DTE. The user device must take the external transmit clock and loop it back to the RxC for clocking in the receive date. In both cases, the LDI is the source of clock timing. Table 2-30 shows the accuracy and worst case jitter that can be expected from an end-to-end circuit using LDIs at each end.

Table 2-30 : LDI Clocking Accuracy and Jitter Performance

Baud Rate Accuracy (± Hz.) Jitter (±%)
1200 .06 .03
2400 .12 .06
4800 .24 .12
9600 .48 .23
14,400 .72 .35
19,200 .96 .47

Figure 2-46 : LDI Clocking Modes

h8066.gif


Optional Alarm Interface Cards

The alarm relay card set is optional. The set consists of an Alarm Relay Module (ARM) front card and an Alarm Relay Interface (ARI) back card. This card set provides alarm summary outputs by using relay contact closures.

The alarm outputs are typically wired to a telephone central office alarm system for remote alarm reporting to give an indication there is a problem in the associated equipment.

The alarm summary feature provided by the Alarm Relay cards provides both a faceplate visual indication of an IGX node alarm as well as a set of relay outputs (dry-contact) for indicating node and network alarm indications. A visual alarm history indication is also provided. This alarm reporting is separate and is in addition to the alarm output at the node's control port, which provides a data output to a control terminal, e.g., the StrataView Plus Network Management Station. Table 2-31 summarizes the alarm conditions and the resulting indications.

One set of alarm relays is used to signal a major alarm or minor alarm on the node. One pair of contacts on each relay is used for audible alarms. These contacts are in series with a faceplate alarm cut-off (ACO) switch. The other set of relay contacts are used for visual alarms and are not affected by the ACO switch. When the ACO switch is activated, a faceplate ACO indicator lights up as a reminder to the operator. If the ACO switch is activated to disable the node's audible alarm output and a second alarm occurs, the audible alarm is re-activated. Two faceplate LEDs provide local indication of network alarms.

Table 2-31 : ARM Card Set Alarm Reporting

Alarm Category Alarm Severity Faceplate Indication Relay Indication
Network Major none Single form-C relay closed or open.
Minor none Single form-C relay closed or open.
Node Major MAJOR LED (red) Visual and audible relay closed only (normally open).
Minor MINOR LED (yellow) Visual and audible form-C relay closed or open.
Alarm Cutoff n.a. ACO LED (green) Interrupts audible relay closed.
Alarm History n.a. HIST LED (green) None.

A second, independent, set of alarm outputs are provided to report network alarms. If a major or minor alarm occurs anywhere in the network---not necessarily on a particular node---these alarm relays are activated.

Major alarm relays are normally energized, providing an open circuit, so that a complete power failure (relay de-energized) at the node will result in a contact closure and resulting major alarm output. Minor alarms, however, are normally de-energized to conserve power and both contact closures as well as contact openings are available for minor alarms.

When an alarm condition clears, the alarm relays return to their normal state to clear the alarm outputs. A faceplate history indicator is turned on for each node alarm occurrence. The indicator will remain on even though an alarm may have already cleared. The history indicator is manually cleared by pressing a button on the faceplate.

Two additional relays may operate under software control to report any other condition. These are not currently used, but future releases of system software may define a use.

The alarm reporting feature requires a card set that includes an ARM front card and an ARI back card. This card set can reside in any slot except the reserved slots. However, StrataCom recommends that slot 16 be used. Since a failure of either of these cards does not affect customer service, card redundancy is not necessary.


Alarm Relay Module (ARM)

The alarm relays are controlled by system software through Control Bus commands. The ARM interfaces with the Control Bus to receive alarm signals from the NPM and to send status signals back to the NPM. It does not connect to the CELLBUS because no customer data is packetized. The firmware on the ARM decodes the alarms.

The ARM faceplate contains the alarm LEDs, ACO and History Clear push buttons, and the active and fail LEDs indicating the status of the ARM card (see Figure 2-47 and Table 2-32). The ARM card is used in conjunction with an ARI card. The ARI card connects to the ARM at the P2 connector. Relay drive signals originate in the ARM to operate relays on the ARI.

The ARM periodically runs a background self-test to determine the state of the card. If the card fails this self-test, the faceplate FAIL LED turns on, and the ACTIVE LED turns off.

Figure 2-47 : ARM Faceplate

h8332.gif

Table 2-32 : ARM Faceplate Controls and Indicators

Indicator Function
MINOR LED (yellow) Indicates a failure in the local node that is not service-affecting but still should be investigated. It could indicate problems such as a loss of redundancy, a low error rate on a digital trunk (frame bit errors or bipolar errors), etc.
MAJOR LED (red) Indicates a failure in the local node that is service-affecting, such as an IGX card failure, that should be attended to immediately.
ACO LED (white) Indicates that a MINOR or MAJOR alarm is present, and that the alarm cutoff (ACO) button (5) was pressed to silence an accompanying audible alarm. The ACO light is turned off when the alarm condition is cleared.
HISTory light (green) Indicates that an alarm has occurred sometime in the past on the node. The alarm may be current or it may have cleared. Pressing the HIST CLR button (6) turns off this light if there is no current alarm.
ACO button When pressed, silences audible alarm (visual alarms remain on) and turns on ACO light (3).
HIST CLR button When pressed, turns off HIST light (4) if there is no current alarm.
FAIL light (red) Indicates that the card has failed self-test (an error occurred). Resetting the card with the resetcd f command is suggested first. If the LED comes on again, call the StrataCom ISC.
ACTIVE light (green) Indicates that the card is active, has been assigned using the addalmslot command, and is functioning normally.

The installation of the ARM cards requires the removal of the node from service. The ARM can be physically installed in any front slot except slots normally reserved for the node processor card (NPM). Reserved slots are 1 and 2 for the IGX 16 and the IGX 32. It is recommended for standardization that slot 16 be used in an IGX 16/32. The corresponding back slot must be equipped with an ARI card. The ARI card plugs directly in the ARM card.


User Commands

Three commands are used with the ARM card set:

  • addalmslot

  • delalmslot

  • dspcd


Alarm Relay Interface Description (ARI)

The Alarm Relay Interface (ARI) card contains the alarm relays and their associated relay drivers. Alarm outputs are dry contact closures or opening contacts from Form C relays. The user must supply the voltage source to be switched by the IGX. Any source or load can be switched as long as it meets the following requirements.

  • Voltage source, max. 220 Volts

  • Steady-state current, max. 0.75 Amps

  • Power dissipation, max. 60 Watts

A female DB37 connector resides on the faceplate for connection to the customer's office alarm or alarm-reporting system. Figure 2-48 is an illustration of the ARI faceplate.

Figure 2-48 : ARI Faceplate

h8333.gif


Maintenance and Troubleshooting

The following paragraphs describe the maintenance and troubleshooting features associated with the ARM card set. Preventive maintenance is not necessary.


Card Self Test

As with all IGX cards, the ARM has diagnostic routines that periodically run to test the card's performance. These self-test diagnostics are run in the background, so they do not disrupt normal traffic. If a failure is detected during the self test, the faceplate red FAIL LED is turned on. In addition, the status of the card can be checked at the control terminal by using the Display Card (dspcd) command.

If a card failure is reported, the report remains until cleared. A card failure is cleared by using the Reset Card (resetcd) command. Two types of resets are available. They are hardware and failure. The reset failure clears the event log of any failure detected by the card self test and does not disrupt card operation. The hardware reset reboots the firmware and resets the card, and this momentarily disables the card.


Card Replacement

Replacing an ARM card is done the same way as other back cards. For these procedures, refer to the Chapter 5, "Repair and Replacement."


Optional Peripherals

At least one node in a network has a StrataView Plus terminal, a control terminal, or a dial-in modem connected to it. Any control terminal connected in the network can configure, manage, monitor, and diagnose the entire network. In addition, at least one node in a network may have a printer connected to it for printing error and event reports.

The control terminal and printer connect to two RS-232 serial ports. These ports are the Control Terminal and Auxiliary Port on the SCM faceplate. These serial ports support all standard asynchronous data rates from 1200 to 19,200 baud. The default rate is 9600 baud. Data rates and the type of equipment connected to the ports are software-configurable.

StrataCom recommends that at least one IGX in the network connects to a direct-dial modem so that StrataCom ISC personnel can perform remote diagnostic tests. A direct-dial modem connects to the backplane at the Control Terminal port. In addition, an auto-dial modem can be connected to the AUX port connector on the SCM at any node in the network so that remote error messages and alarms can be sent to the ISC, where they are automatically logged.

Two external clock sources can be connected to the SCM card using the external clock adapter cable. The external clock device can be either 1.544 MHz or 2.048 MHz RS-422 square wave signals depending on the primary application of the IGX (T1 or E1). Selection is made through software. The clock stability should be at least as good as a STRATUM 3 clock source. Appendix B lists the terminals, printers, modems and clock sources that have been tested and approved for use with the IGX.

HomeTOCPrevNextGlossSearchHelp
-

Copyright 1988-1996 © Cisco Systems Inc.