Banner
HomeTOCPrevNextGlossSearchHelp

PDF

Table of Contents

Hardware Description

Hardware Description

Hardware Description

The hardware elements of a LightStream 2020 multiservice ATM switch (LS2020) are outlined in Table 1-1. This chapter describes each component of an LS2020 node, starting with the chassis and midplane.

Table 1-1 : LS2020 hardware components

Hardware Description
Chassis Skeleton
Midplane Internal wiring
Blowers Cooling
Bulk power modules Power
Switch cards Card-to-card communication
Interface modules (line cards and access cards) Send and receive
Network processors and associated I/O access cards Computing
Disk assemblies Storage

The LS2020 switch is a Class A device, as defined by FCC rules.


Chassis

The chassis serves as a skeleton and container for the LS2020 system. It provides access to components from both the front and back. The chassis measures 18.9 inches (48 cm) wide by 26.1 inches (66 cm) high by 24.7 inches (63 cm) deep. It contains all the hardware elements listed in Table 1-1. Figure 1-1 shows the front view of a fully loaded LS2020 chassis, and Figure 1-2 shows the rear view of the same system.

Figure 1-1 : Front View of an LS2020 Switch

h4810.gif

Figure 1-2 : Rear View of an AC-powered LS2020 Switch

h4811.gif

From the front of the LS2020 chassis, you have access to network processor cards, line cards, switch cards, disk drive units, and one of the two blowers. Power supplies, access cards, external cabling, connectors for consoles and modems, and the other blower are accessible from the rear of the chassis.

The LS2020 chassis can be mounted in a standard 19 inch wide rack. Guidelines for selecting racks are provided in the LightStream 2020 Site Planning and Cabling Guide; rack mounting instructions appear in the LightStream 2020 Installation Guide.


Midplane

Each LS2020 node has a midplane that contains most of the internal wiring for the node. The midplane, which is a field-replaceable unit (FRU), connects the network processors (NPs) and line cards to switch cards and also connects the function cards (NPs and line cards) to their I/O access cards. The midplane simplifies system assembly, increases reliability, and improves mean time to repair. The midplane carries 48-volt power to all the cards in the system and interconnects the Test and Control System hub and slave processors.

Figure 1-3 shows a conceptual view of a midplane with several cards connected. The view is from the top, looking down into the chassis. Only the connections between the first five function cards and the two switch cards are shown. Connections of the same types exist between the function cards in slots 6 -- 10 and the two switch cards.

NPs, line cards, and switch cards plug into the front of the midplane, and I/O access cards associated with each function card plug into the rear of the midplane. Function cards and their I/O access cards are connected by connector pins that pass through the midplane (without making an electrical connection with the midplane). The midplane contains all the internal wiring to connect the function cards to the switch cards.

Figure 1-3 : Conceptual View of Midplane in an LS2020 Switch

h3206.gif

The midplane provides connections for up to

Up to 12 cards (10 function cards and 2 switch cards) can be connected to the front of the LS2020 midplane. The 12 slots in the chassis are divided into function card slots, numbered 1 through 10, and switch card slots, designated A and B. Switch card slots A and B are located in the center of the chassis, between function card slots 5 and 6. (See Figure 1-3.)

The function cards connect to the switch card via the center 96-pin DIN connector in each slot. The upper and lower 96-pin DIN connectors are used to connect the function card to the access card on the other side of the midplane.

fig_7.gif Caution Although function cards and switch cards are the same size, their midplane connectors are completely different. Do not attempt to place a function card in a switch card slot or vice versa. Attempts to do so may result in damage to the connectors on the midplane or the cards.

Figure 1-4 shows the connectors on the front of the midplane.

Figure 1-4 : Connectors on the Front of the Midplane

h3207.gif

Up to ten I/O access cards, two console/modem assemblies, and two power supplies can be connected to the back of the midplane.

Figure 1-5 shows the connectors on the back of the midplane.

Figure 1-5 : Connectors on the Rear of the Midplane

h3208.gif

The 96-pin DIN connectors in each slot connect the access card to the function card on the other side of the midplane.

Each bulk power tray connects to one connector on the rear of the midplane. The console and modem ports for each switch card share one shrouded-pin header connector located on the rear of the midplane behind the switch card.


Midplane EEPROMs

On the midplane are two EEPROM chips whose contents, which are written in the factory, include

(A modem port is associated with each switch card.)

If you replace the midplane, you may need to program some of the information listed above into the EEPROMs on the new midplane. Refer to the midplane replacement procedure in the chapter entitled "Replacing FRUs" and to the EEPROM programming procedures in the LightStream 2020 Network Operations Guide.

The chassis IDs in the two midplane EEPROMs in an LS2020 switch must be identical, and they must be otherwise unique in your network. For this reason, Cisco assigns a unique chassis ID number to every LS2020 switch. To ensure that the correct chassis ID is restored in the event of an EEPROM failure, you should keep a record of the chassis ID for every system in your network.

fig_8.gif Caution You may wish to change the modem initialization string and modem password on your system. If you change these values for one switch card slot, be sure to change the values for the other slot to match. If modem information is not consistent across slots, you could have modem access problems if you move a switch card from one slot to another or if, in a redundant configuration, your backup switch card becomes active.


Grounding

The midplane acts as the main logic ground point in the LS2020 chassis.


Bulk Power Distribution

The midplane distributes high current bulk power to the function and switch cards. Bulk power arrives on the midplane through connectors mounted on the power tab, a projection on the left side of the midplane.


Blowers

The LS2020 chassis takes in cooling air from the front. Air is drawn up through the chassis and is exhausted at the back and the right side by blower units like the one shown in Figure 1-6.

There are two blowers in each LS2020 system, located at the top of the chassis. One blower is accessible from the front and the other from the rear. Each blower is an FRU. During normal operation, both blowers should be running. If one blower fails, the system can continue to operate; however, the failed blower should be replaced as soon as possible.

Each blower has a green LED that illuminates to indicate that the impeller is spinning at a rate of at least 1500 rotations per minute. On the rear blower, the LED is visible through the blower cover. You must remove the blower cover to see the LED on the front blower.

The blowers have two speeds and normally run at low speed. The blower speed is temperature controlled: the speed automatically varies as needed to maintain the temperature. The blowers run at the lower speed whenever possible, which provides the quietest operation.

The blowers run at high speed for 90 seconds after the system is first powered on, and then slow down. The decrease in speed is audible to anyone standing near the chassis.

Figure 1-6 : Front and Rear Views of an LS2020 Blower

h3239.gif

In addition to the main air flow through the chassis, each bulk power tray in an AC-powered system contains its own fans.

The cooling system operates properly only when all cards, bulkheads, filler panels, covers, and components are in place. Removing these items disrupts the flow of air through the chassis. As a result, components may be shut down due to overheating.


Power Options

In an LS2020 switch, a bulk power tray unit converts power from an external source to bulk DC voltage before distributing DC power to the individual function and switch cards. The nominal voltage of the bulk power unit is 48 volts.

There can be one or two power trays in each chassis; each power tray is an FRU. If there are two power trays, both are connected to a 48-volt rail so that either tray can drive the entire system.

LS2020 systems are available with two power options:

Power trays are accessible from the rear of the chassis; they are located to the right of the access cards. The power tray slots are designated A (on top) and B (on the bottom).

Each card in an LS2020 switch converts bulk power to its point-of-use voltages. The power converters on each card are controlled separately by the associated on-card TCS slaves. Each TCS slave can turn its converter on and off and voltage-margin the converter. This arrangement allows for a nondisruptive hot-swap capability and aids in fault diagnosis.

The TCS is powered independently from the rest of the system so that it can control power and run margining tests without impairing its own operation. TCS power is distributed from the switch card to all other cards in the chassis.


AC-Powered Systems

AC power supplies accept input power over a continuous range from 100VAC to 240VAC at 50 Hz or 60 Hz. No adjustment or configuration is required. An AC power supply is shown in Figure 1-7.

Each AC power tray has one recessed male power inlet that conforms to IEC standard 320 C20; it requires a power cord with an IEC 320 C19 connector. See the LightStream 2020 Site Planning and Cabling Guide for more information on power cords.

If a system has two power trays, the trays must be plugged into separate electrical circuits for true redundancy.

Each AC power tray has a circuit breaker that turns that power tray on and off; it can be tripped by an electrical event or operated manually.

Each AC power tray has a green LED that comes on when the system is powered up.

fig_1.gif Warning To turn off power in an AC system with two power trays, you must set the circuit breakers on both trays to off. If you turn off only one of the two power trays, the system remains fully powered.

fig_2.gif Caution The handle on the AC power tray is designed to support the weight of the tray only. Do not use the power tray handle to lift the chassis.

Figure 1-7 : Power Supply Tray for AC-powered Systems

h3606.gif


DC-Powered Systems

DC-powered LS2020 systems accept power over a continuous range from --43VDC to --60VDC. No adjustment or configuration is required. Power from an external --48VDC source is brought into the system by the DC power tray. A DC power tray is shown in Figure 1-8.

The green LED on each DC power tray illuminates to indicate the presence of DC power. The LED, which is mounted on the power tray and is visible from the rear of the chassis, is connected after the circuit breaker and before the isolation diodes. This allows the LED to indicate the presence or absence of power individually for each tray, prior to the or-ing of the power feeds.

DC-powered LS2020 systems do not use detachable power cords; they must be permanently wired to a DC power source by qualified service personnel. Systems with the optional second power tray can be wired from a dual power feed. (For more information on wiring DC-powered systems, refer to the LightStream 2020 Installation Guide.)

Figure 1-8 : Power Input Tray for DC-powered Systems

h3241.gif


Circuit Breaker and Circuit Breaker Alarm

Each DC power tray has a circuit breaker that turns system power on and off; it can be tripped by an electrical event or operated manually.

fig_5.gif Warning To turn off power in a DC system with two power trays, you must set the circuit breakers on both trays to off. If you turn off only one of the two power trays, the system remains fully powered.

The DC power tray is equipped with an optional circuit breaker alarm that can be connected to an external device such as a light panel. When the circuit breaker is tripped, the alarm is triggered, notifying you that the system is no longer receiving power through that power tray.

The COM (common), NO (normally open), and NC (normally closed) contacts on the DC power tray provide the alarm signal by indicating whether the circuit breaker is open (off/tripped) or closed (on). Table 1-2 summarizes the possible positions of the contacts.

Table 1-2 : Circuit Breaker Alarm Conditions

Circuit Breaker Position NC Contacts NO Contacts
Off (tripped) Closed Open
On Open Closed

The alarm contacts have a maximum rating of 10A at 250VAC (60 Hz) or 3A at 50VDC.


Switch Card

The LS2020 switch card, an FRU, provides the interconnection through which line cards and network processors (NPs) in the same chassis communicate with one another. Communications between NPs and line cards can take place over high-speed switch paths that carry payload traffic between LS2020 nodes. In addition, low-speed Test and Control System (TCS) data paths carry control and diagnostic information between the TCS hub on the switch card and the TCS slaves on the NP and line cards.

Two versions of the switch card exist: Release 1 and Release 2. Except as noted, functionality is identical on the two cards.

Switch cards can be inserted in one or both of the dedicated switch card slots on the front of the midplane, slots A and B. A redundant system has two switch cards; a nonredundant system has one. In a redundant system, one switch card is active and the other serves as a hot spare, ready to take over if the active card fails.

There is a recessed reset pushbutton on the card's front bulkhead. Pushing it causes a full reset of the card.

The LEDs on the switch card are described in the section "Card LEDs."

Figure 1-9 shows a Release 1 switch card; Figure 1-10 shows a Release 2 switch card.

Figure 1-9 : Release 1 Switch Card

h3209.gif

Figure 1-10 : Release 2 Switch Card

h3210.gif


Major Functions of the Switch Card

The switch card has four key functional areas:

Figure 1-11 shows a high-level functional block diagram of the switch card. Each of the functional areas shown in Figure 1-11 is described in the sections that follow.

Figure 1-11 : High-Level Block Diagram of the Switch Card

h3211.gif


Concurrent Cell Switch

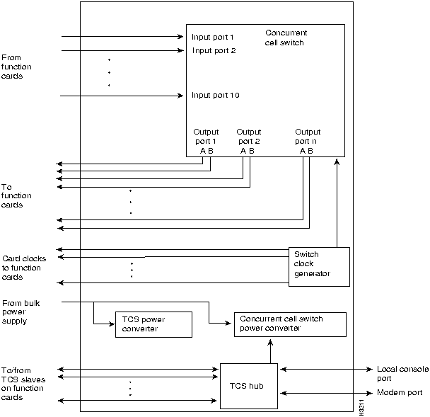
The concurrent cell switch provides the connection through which NPs and line cards communicate, allowing them to transport cells of data between function cards within an LS2020 chassis. The concurrent cell switch has 10 ports, one per function card slot.

The concurrent cell switch on each switch card takes the place of a bus in a conventional computer system. It eliminates the need for high-power drivers for high-speed, high-fanout buses. It provides physical isolation between function card data paths for power-on, nondisruptive servicing. It also provides a very high aggregate bandwidth in the chassis without requiring each function card to accept data at the aggregate rate.

The switch carries cells in fixed length time slots, which are common to all the traffic. All function cards transmit their cells into the switch simultaneously and receive cells from the switch simultaneously.

In the time slot preceding the data transfer, the switch selects the transmitting function card that will get a connection with its requested receiving function card. Then, it sends an acknowledgment back to those transmitters whose transmission requests will be fulfilled. The transmitter begins the data flow as the next time slot begins.

The function cards are connected to the switch by private links. There are three paths between each function card and the switch. One is used to transmit cells from the function card to the switch, and two are used to deliver cells from the switch to the function card. Each of these data paths is eight bits wide and is clocked at 25 MHz, for a raw path bandwidth of 200 Mbps.

The data passing on these links is divided into cells. Each link is unidirectional, but the three data paths between the function card and the switch can all pass cells simultaneously. The double data paths flowing from the switch to the function cards reduce blocking probability so the switch delivers better performance than ordinary "nonblocking" switches. Under typical traffic loads, the concurrent cell switch delivers an average of 160 Mbps of cell payload throughput. This is more than enough to handle the 149.8 Mbps OC-3c SONET payload bandwidth, and sufficient to handle wire-speed FDDI traffic with enough margin to accommodate inefficiencies due to packet fragmentation.


TCS Hub

The TCS hub is located on the switch card. It controls the switch card and acts as a communications hub for the system-wide test and control system. It provides communication among the TCS slaves, the console, the TCS hub on the redundant switch card if one is present, and the modem.

The switch card provides power for the entire TCS system. The TCS hub can monitor the "DC OK" signal on the bulk power supply.

In a system with two switch cards, the TCS hub on one card is primary and the TCS hub on the other is secondary. The active switch card---that is, the switch card whose switching fabric is currently in use---is not necessarily the same card on which the primary TCS hub is located. You can identify the active switch card by issuing the CLI command show chassis primaryswitch. Use any of the following methods to identify the switch card with the primary TCS hub:

TCS HUB <<B>>

The lower-case letters in the following prompt indicate that the secondary hub is on the switch card in slot A. (In other words, B is the primary hub.)
tcs hub <<a>>


By way of the local console and modem ports, both TCS hubs can provide some access to function cards. For example, you can display the status of a function card from either hub. However, if you need to establish a console connection to a card---to use the command line interface (CLI), for example, or to run diagnostics---you must connect to the card via the console or modem port of the switch card with the primary TCS hub.

If the primary hub fails to poll the secondary hub within a specified time period, the secondary hub takes over and becomes primary. In addition, you can force the secondary hub to become primary, as described in the LightStream 2020 Network Operations Guide. Forcing the hubs to switch roles may be necessary, for example, if you need to remove a switch card from the chassis.


Power

On the Release 1 switch card, there are two power supplies. One supplies TCS power for the entire LS2020 switch, and the other supplies power to the concurrent cell switch and clock circuitry. On the Release 2 switch card, a single power supply serves both purposes.

The switch card converts internally distributed bulk power to the voltages it needs to operate its switch circuitry and generates power for the TCS system on all the function cards.


Clock Distribution

A switch card generates a 25-MHz clock signal for the system and distributes it to all the function cards.

The Release 2 switch card incorporates network synchronization logic. The BITS CLK port and the BITS OK LED are useful for constant bit rate applications. BITS (building-integrated time source) refers to a type of T1 line that carries a valid T1 signal, and is used to provide a highly stable time reference for the LS2020 switch.

With appropriately configured hardware, software, and network management tools, an LS2020 switch can globally synchronize constant bit rate (CBR) interfaces in an LS2020 network to a central reference clock signal. This network timing distribution service, called Nettime, enables synchronous clocking and synchronous residual time stamp (SRTS) clocking functions to be accomplished through an LS2020 switch. This reference clock signal can be distributed throughout all interfaces in an LS2020 network except for the low-speed access cards, the medium-speed access cards, and the serial access cards. For more information on Nettime, see the LightStream 2020 System Overview.


Redundancy

An LS2020 node's optional second switch card is used for redundancy rather than loadsharing. The two cards are configured identically. One switch card is active while the other is available as a hot spare. If a failure occurs in the active switch card, cutover to the backup card happens automatically. The active card is always the card in slot A, unless that card is absent, failed, or not powered, or an operator has forced a cutover.

Note that in a redundant system, the active switch card---that is, the switch card whose switching fabric is currently in use---is not necessarily the same card on which the primary TCS hub is located. (See the section "TCS Hub," above, for details.)

Cutovers---when an active switch card goes out of service and the backup card becomes active---are handled differently by Release 1 and Release 2 switch cards.

If you mix Release 1 and Release 2 switch cards in the same chassis, the Release 2 card will behave like a Release 1 card. (That is, planned cutovers will not be possible. Any cutover involving a mix of Release 1 and Release 2 switch cards, whether caused by operator action or initiated by the system itself, will cause the system to reboot.)


Console/Modem Assembly

At the back of the chassis, behind each switch card, is a console/modem assembly consisting of a bulkhead with two connectors mounted on it. (See Figure 1-12.) The connectors are labeled CNSL and MODEM. The console/modem assembly connects to the midplane via a ribbon cable. Its ports can be used to connect a terminal and modem to the TCS hub on the switch card; from there you can connect to the NP or to any other function card.

Figure 1-12 : Console/Modem Assembly

h3212.gif


Network Processor Card

The NP card, an FRU, is the LS2020 system's primary computing and storage resource.

In conjunction with the line cards, network management systems, and NPs in other LS2020 nodes, the NP performs system-level functions for the LS2020 node. These functions include virtual circuit management, network management, maintenance of routing databases, distribution of routing information, and file system management.

Each NP is paired with an NP access card, which resides directly behind the NP in the chassis. The access card provides an Ethernet port that may be connected to carry network management traffic.

Signals are carried from the NP to both the switch card and the NP access card by 96-pin DIN connectors on the midplane.

Associated with each NP is a 3.5-inch floppy disk drive and a hard disk drive with at least 120-Mbytes. The NP and the disk assembly are connected by a ribbon cable. See the section "Disk Assembly" for more information on the disk assembly.

There is a recessed reset pushbutton on the card's front bulk-head. Pressing it causes a full reset of the card.


Note The reset button does not bring the NP down gracefully. Particularly in a system that is operating in an active network, you should reboot the NP to bring it down gracefully, as described in the "Performing an Orderly Shutdown" section of the "Replacing FRUs" chapter.

The LEDs on the NP are described in the section "LED Descriptions."

Figure 1-13 shows front, rear, and component side views of the NP.

Figure 1-13 : NP Card

h3213.gif


Major Functions of the NP

The network processor (NP) facilitates system operations. Its functions include call processing and rerouting, LAN bridging and address translation, CLI monitor and control functions, discovery of network topology, and maintenance of network statistics.

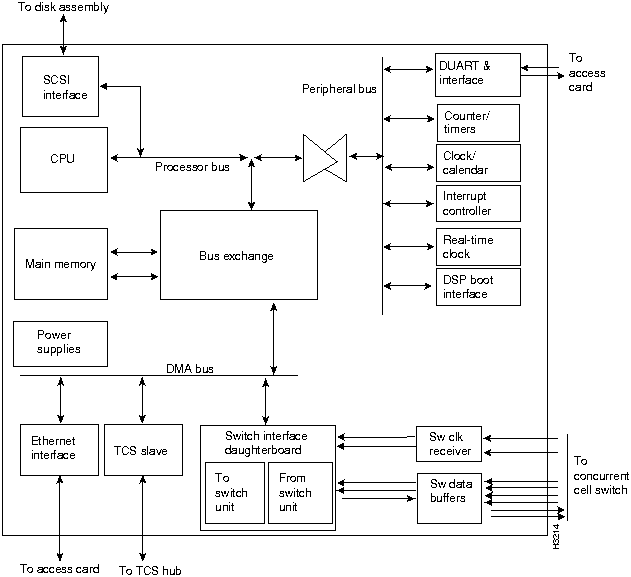
The NP is a single-card microcomputer with an interface to the concurrent cell switch. Each NP uses a Motorola 68040 CPU and has 32 megabytes (MB) of DRAM. In addition, the NP has an Ethernet interface to carry network management traffic to and from a network management station or other LS2020 nodes, and a SCSI interface for the NP's local hard disk and floppy drive. The NP also has a battery-backed clock/calendar, several counter/timers for performance measurements and event logging, and a TCS slave. Figure 1-14 is a functional block diagram of an NP. The components in Figure 1-14 are described below.


Note In Release 1, NPs had 16 MB of memory. 16-MB NPs are not capable of running software releases numbered 2.0 or higher. If you have Release 1 NPs in your network, you must upgrade them before upgrading your software.

Figure 1-14 : High-level Block Diagram of the NP

h3214.gif


Redundancy

A node's optional second NP serves as a backup. The two NPs are configured exactly alike. One NP operates as primary while the other is available as a hot spare. When a failure is detected in the primary NP or in its associated disk assembly, switchover to the backup card happens automatically.


Disk Assembly

Associated with each NP in an LS2020 chassis is a disk assembly (see Figure 1-15). The disk assembly is an FRU; it includes a 120-MB or larger hard disk drive, a 3.5-inch floppy disk drive, and a power supply.

The hard disk stores the node's system and application software, hardware diagnostics, and local configuration files.

The lower disk assembly is connected to the NP in slot 1; the upper disk assembly, if present, is connected to the NP in slot 2.

Figure 1-15 : Front and Rear Views of a Disk Assembly

h3654.gif


Interface Modules

The LS2020 switch uses interface modules for communicating with other systems. An interface module consists of a line card used in conjunction with an I/O access card. The line card provides higher layer data transfer functions. The access card provides the active logic for the physical layer interface for each port (line drivers/receivers, and so forth). Access cards are described in the section "Access Cards."

Interface modules allow LS2020 systems to connect to various other networks and systems, including local area networks (LANs), wide area networks (WANs), metropolitan area networks (MANs), directly connected hosts, and other LS2020 systems.

Interface modules can be divided into two categories:

Table 1-3 provides a summary of currently available interface modules. It shows the type of interfaces (trunk or edge) supported by the line module, and the number and types of ports provided by each module.

Signals are carried from the line cards to the switch card and the access cards by 96-pin DIN connectors on the midplane. The center connector connects the line card to the switch card and the upper and lower connectors connect the line card to its access card. (See Figure 1-3.)

There is a recessed reset pushbutton on each line card's front bulkhead. Pressing it causes the TCS to reset the line card.

Refer to the section "LED Descriptions" for explanations of the LEDs on the line cards.

Table 1-3 : Interface Module Summary

Line Card Access Card Trunk or Edge Number of Ports
LSC Low-speed access card (LSAC) Either 8 (RS-449, X.21, and V.35)
MSC T3 Medium-speed access card (T3 MSAC) Either 2
E3 PLCP Medium-speed access card (E3 MSAC) Either 2
E3 G.804 Medium-speed access card (E3 MSAC) Either 2
PLC Ethernet access card (EAC) Edge Only 2 AUI
8 10BaseT
Fiber Ethernet access card (FEAC) Edge Only 8
FDDI access card (FAC) Edge Only 2
T1 Circuit emulation access card (T1 CEMAC) Edge Only 8
E1 Circuit emulation access card (E1 CEMAC) Edge Only 8
Serial access card (SAC) Either 8 (RS-449, X.21, and V.35)
CLC OC-3c access card, single mode, 1 port (OC3AC SM) Either 1
OC-3c access card, single mode, 2 port (OC3AC SM) Either 1 Trunk or
2 Edge
OC-3c access card, multimode, 1 port (OC3AC MM) Either 1
OC-3c access card, multimode, 2 port (OC3AC MM) Either 1 Trunk or
2 Edge
T3 access card, 4 port (T3AC) Either 4
T3 access card, 8 port (T3AC) Either 4 Trunk or
8 Edge
E3 access card, 4 port (E3AC) Either 4
E3 access card, 8 port (E3AC) Either 4 Trunk or
8 Edge


Line Card Tasks

A line card reformats each incoming unit of data as needed, makes the necessary low-level routing and congestion avoidance decisions, and directs the data to its destination. For each outgoing unit of data, a line card checks for errors, queues the data for transmission through the appropriate interface port, supplies the buffering needed to match the rate between the concurrent cell switch and the interface port, and handles congestion events. Edge cards that handle packets or continuous data streams must also segment incoming data into cells and reassemble outgoing cells into the format required by the external interface.

Since line cards must be capable of handling high data rates and the processing requirements are relatively simple, all routine packet and cell forwarding operations are handled by hardware and firmware. Each line card also includes a line card control processor that handles the more complex tasks that must be executed in a tens of milliseconds or less. The line card control processor acts as an agent for the NP when an NP needs to query or change the state of a line card. To gather statistics from a line card, for example, an NP sends a message to the line card control processor, and the line card control processor reads the appropriate hardware registers and returns a result to the NP.

Low-speed and packet edge cards accept packets from up to eight lines, chop them into cells, and inject the resulting stream of cells into the switch. In addition, they receive cells from the switch, repackage the data as packets, and send them out of the network. Edge LSCs and edge PLCs also enforce the LS2020's backward congestion control scheme by discarding traffic on channels that send faster than their committed and excess rates allow. The cards smooth all datagram traffic that is injected into the switch. Isochronous traffic is injected into the switch on a fixed schedule, to avoid statistical effects that result in unpredictable delays.

Medium-speed edge cards accept ATM cells from up to two T3 or E3 lines, update the cell headers, and forward them to the switch. They send cells received from the switch out of the network. MS cards do not enforce traffic shaping.

Cell edge cards accept ATM cells from up to two OC-3c lines or up to eight T3 or E3 lines, update the cell headers, and forward them to the switch. They send cells received from the switch out of the network.

Trunk cards of all types accept LS2020 cells from trunk lines and replace their headers with new values for the next hop. The cells are then injected into the switch. Trunk cards also receive cells from the switch and send them on to the lines with no ATM header field replacement.


Line Card Functional Blocks

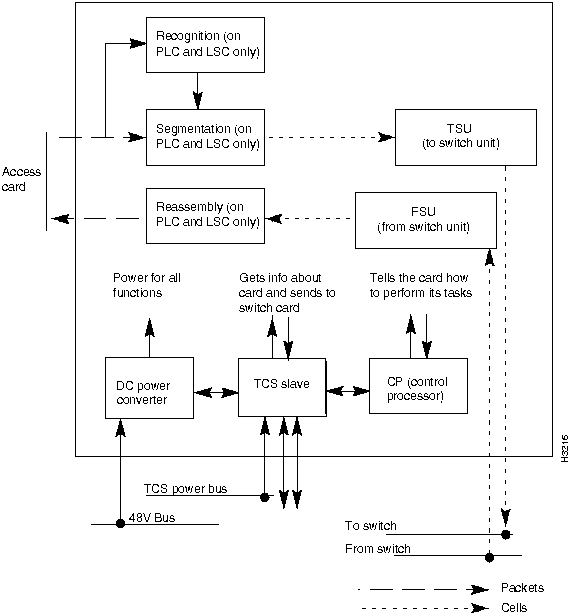
An LS2020 line card has two major logical portions: a line-specific portion and a generic portion. See Figure 1-16.

The line-specific portion attaches to the external media or system and performs the functions required by that system.

Figure 1-16 : High-level Block Diagram of a Line Card

h3216.gif

The generic portions of line-card logic perform functions that occur regardless of the line type. These are the functions that allow packets or cells to be transferred through the LS2020 network. These functions are summarized below.

There are the following exceptions to these functions:

Each line card also has a TCS slave, which provides initialization and bootstrap for the line card. It performs local monitoring and power control functions required to support the mission critical features of the LS2020 node. The TCS slave communicates with the TCS hub through the midplane.

The line cards are presented in alphabetical order and described in detail on the following pages.


Cell Line Card

The cell line card (CLC) supports over 357K cells per second aggregate bandwidth and can handle bursts up to 893K cells per second. The CLC is designed to support up to 15 ports.

The CLC supports the following access cards:

The CLC supports both trunk and edge interfaces. With the OC-3c access cards, it supports one trunk port or up to two edge ports. With the E3 and T3 access cards, it supports up to four trunk ports or up to eight edge ports.

The CLC is available with one or two TSUs (To Switch Units). The table shows those access cards supported by the both the 1- and 2-TSU CLCs and those supported by only the 2-TSU CLC.

Table 1-4 : Access Cards Supported by CLCs

Access Card 1-TSU CLC 2-TSU CLC
OC-3c (1 port) X X
OC-3c (2 port) X
T3 (4 port) X X
T3 (8 port) X
E3 (4 port) X X
E3 (8 port) X

The CLC's control processor is a 25-MHz Motorola 68EC030 microprocessor. Associated with the control processor are 4 MB of DRAM and 1 MB of Flash EPROM that stores bootstrap and POST code.

The cell line card is shown in Figure 1-17.

Figure 1-17 : Cell Line Card

h3644.gif


Low-Speed Line Card

This section describes low-speed line cards. See Figure 1-18 for an illustration.


LS Edge Card

A low-speed line card configured as an edge card provides eight full-duplex serial lines. The card supports frame forwarding and frame relay interfaces, and a single card can have any mix of frame relay and frame forwarding ports. Physical line interfaces include V.35, X.21, and RS-449. Each port on a low-speed card can operate at speeds up to 3.584 Mbps, although the ports are limited to a maximum aggregate speed of 6 Mbps per line card (regardless of where clock is sourced).

The LS edge card is capable of providing clock in DCE mode. The card can source clock at the following speeds (bps): 56,000; 64,000; 128,000; 192,000; 256,000; 384,000; 448,000; 512,000; 768,000; 896,000; 1,344,000; 1,536,000; 1,792,000; 2,688,000; 3,584,000; 4,000,000; and 5,376,000.

Each LS edge card requires a low-speed access card for which separate fantails provide V.35, RS-449, or X.21 interfaces.


LS Trunk Card

The LSC configured as a trunk card uses the same hardware as the LS edge card, but different software. The number of ports, physical interfaces, line speeds, external DSU/CSU control ports, and access cards are identical to those for the LS edge card. Instead of handling frame relay and frame forwarding traffic, the LS trunk card carries ATM cells embedded in HDLC (High-Level Data Link Control) frames.


External DSU/CSU for the LS Line Card

Access to T1 (DS1) or E1 lines is accomplished through the use of external data service units and channel service units (DSU/CSUs) connected to fantails over V.35 or RS-449 serial interfaces. DSU/CSUs are used primarily for long-distance connections with leased lines. A DSU/CSU is not generally necessary for connection to a device in the same building. It is the responsibility of the customer to provide DSU/CSUs; they are not available from Cisco Systems, Inc.

Support of fractional T1/E1 services is provided by allowing line speed settings in selected increments of 56 kilobits per second (kbps) and 64 kbps up to a maximum of T1 and E1 rates supported by the external DSU/CSU.

Each line on the LS line card includes a separate interface to control the external DSU/CSU. The interface allows setting loopbacks and carrier channel access configuration in the case of fractional T1. In addition, the interface is used to query traffic and error statistics as well as alarm conditions for local and remote carrier equipment. The control interface is supported by 9-pin male connectors for each port on the V.35 and RS-449 fantails. (X.21 lines do not require DSU/CSU control ports.)

Figure 1-18 : Low-speed Line Card

h3217.gif


Medium-Speed Line Card

This section describes medium-speed line cards. See Figure 1-19 for an illustration.

The chief difference between medium-speed edge cards and medium-speed trunk cards is that they use different software. The number of ports, physical interfaces, VCCs, line speeds, and access cards are identical for MS edge and trunk cards.


MS Edge Card

The MSC configured as an edge card provides two full duplex lines, each of which can operate at DS3/T3 (45 Mbps) or E3 (34 Mbps) speeds in each direction.

A single access card for each MS edge card supports two ports. (No fantails are needed for MS edge ports.) Three MS access cards are available; one supports DS3/T3 lines and the other two support E3 lines. The MS edge card handles ATM UNI traffic between the LS2020 network and other ATM devices.


MS Trunk Card

The MSC configured as a trunk card provides two full duplex lines, each of which can operate at DS3/T3 (45 Mbps) or E3 (34 Mbps) speeds in each direction. ATM cells are carried over these lines.

A single access card for each MS trunk card supports two ports. (No fantails are needed for MS trunk ports.) Three MS access cards are available; one supports DS3/T3 lines and the other two support E3 lines.

Figure 1-19 : Medium-speed Line Card

h3650.gif


Note Some medium-speed line cards vary slightly from the one shown in Figure 1-19. Such cards have small daughterboards and other minor variations from the figure. However, all cards labelled MSC on the bulkhead are functionally equivalent.


Packet Line Card

Depending on the type of access card used, the packet line card (PLC) supports up to eight full duplex ports with over 100 Mbps of continuous aggregate packet bandwidth. (For future expansion, the card is designed to accommodate up to 15 ports.)

The PLC supports the following access cards:

  • Ethernet access card (EAC)---up to eight ports

  • Fiber Ethernet access card (FEAC)---up to eight ports

  • FDDI access card (FAC)---up to two ports

  • T1 and E1 circuit emulation access cards (CEMACs)---up to eight ports

  • Serial access card (SAC)---up to eight ports

The PLC supports internetworking functions on the LS2020 switch. An important mechanism in this area is the PLC's ability to set up virtual circuits (VCs) on the fly when it encounters streams of traffic not associated with previously known VCs. The PLC's from-line unit (FLU) attempts to recognize incoming traffic as belonging to an established VC. When no match is detected, it buffers the incoming packets of unrecognized traffic and sends the NP the information it needs to set up the VC. Once the setup is complete, the FLU will recognize any subsequent packets for this flow and packet processing proceeds as usual.

The PLC's control processor is a 25MHz Motorola 68EC030 microprocessor. Associated with the control processor are 4 MB of DRAM and 1 MB of flash EPROM that stores bootstrap and POST code.

The packet line card is shown in Figure 1-20.

Figure 1-20 : Packet Line Card

h3218.gif


Access Cards

Within an LS2020 chassis, each interface module includes a line card and an access card. (In addition, network processor cards have access cards.) The access cards, which are FRUs, provide the physical interface to which other devices can be connected. Access cards are accessible from the rear of the chassis. Each access card connects to its function card through the midplane. If you remove or power down an access card, service is disrupted on the associated function card.

Each access card measures 14.4 inches (36.6 cm) high by 7 inches (17.9 cm) deep.

Table 1-5 lists each function card and its available access cards.

Table 1-5 : Function Cards and Associated Access Cards

Function Card Access Card
Low-speed line card (LSC) Low-speed access card (LSAC)
Medium-speed line card (MSC) T3 medium speed access card (T3 MSAC)
E3 G.804 medium speed access card
(E3 G.804 MSAC)
E3 PLCP medium speed access card
(E3 PLCP MSAC)
Cell line card (CLC) OC-3c single mode access card
(OC3AC SM) --- 1 or 2 ports
OC-3c multimode access card
(OC3AC MM) --- 1 or 2 ports
T3 access card (T3AC) --- 4 or 8 ports
E3 access card (E3AC) --- 4 or 8 ports
Packet line card (PLC) FDDI access card (FAC)
Ethernet access card (EAC)
Fiber Ethernet access card (FEAC)
T1 Circuit emulation access card
(T1 CEMAC)
E1 Circuit emulation access card
(E1 CEMAC)
Serial access card (SAC)
Network processor (NP) NP access card (NPAC)

(In addition, console/modem cable assemblies provide console and modem ports for the system.)

The access cards are presented in alphabetical order and described in detail on the following pages.


E3 Access Cards

There are two types of E3 access card:

  • Cell-based E3 access cards, labelled E3AC

  • Medium-speed E3 access cards, labelled MSAC


E3AC

Cell-based E3 access cards (which are labelled E3AC) operate in conjunction with cell line cards. E3ACs are available in two versions:

  • 8-port E3AC capable of supporting 8 edge (UNI) connections or 4 trunk connections

  • 4-port E3AC for edge or trunk connections


Note The 8-port E3AC requires the 2-TSU cell line card. The 4-port E3AC can use either the 1-TSU cell line card or the 2-TSU cell line card. (See the section "Access Cards" for more information.)

For each port, the E3AC has two SMB connectors. One connector is for the receive channel and one is for the transmit channel; this results in a total of 16 connectors on an 8-port E3AC and 8 connectors on a 4-port E3AC. Each connector is cabled to a 75-ohm BNC coaxial connector on the fantail that provides G.703-compliant connections.

Each access card contains internal DSU/CSUs that can connect directly to an E3 line. E3 access card ports can also connect LS2020 nodes directly at distances up to 1250 feet (381 meters).

Both the 4-port and 8-port E3ACs support either G.804 or PLCP. The framing method is under software control.

The LEDs on the E3AC are described in the section "LED Descriptions."

Figure 1-21 shows front, rear, and component side views of the E3AC.

Figure 1-21 : E3 Access Card

h3633.gif


MSAC

E3 medium-speed access cards (which are labeled MSAC) operate in conjunction with medium-speed line cards. E3 access cards support up to two ports each.

Each port has two 75-ohm BNC coaxial connectors that provide G.703-compliant connections. One connector is for the receive channel and the other is for the transmit channel.

Each access card contains internal DSU/CSUs that can connect directly to an E3 line. E3 access card ports can also connect LS2020 nodes directly at distances up to 1250 feet (381 meters).

Two versions of the E3 access card are offered to support different methods of framing:

  • G.804

  • PLCP

The LEDs on the E3 access card are described on in the section "LED Descriptions."

Figure 1-22 shows front, rear and component side views of the E3 MSAC.

Figure 1-22 : Medium-speed E3 Access Card (E3 MSAC)

h3225.gif


Ethernet Access Cards

There are two types of Ethernet access card:

  • AUI/10Base-T Ethernet

  • Fiber Ethernet


AUI/10Base-T Ethernet Access Card

The Ethernet access card (EAC) operates in conjunction with a packet line card. Each Ethernet access card supports up to eight IEEE 802.3 Ethernet ports. The ports are of two types:

  • Six ports support 10Base-T twisted pair Ethernet only (via RJ45 sockets).

  • Two ports support any of the following:

    • 10BaseT twisted pair Ethernet (via RJ45 sockets)

    • 10Base5 (thick wire) Ethernet (via DB-15 AUI ports)

    • 10Base2 (thin wire) Ethernet (via DB-15 AUI ports)

    • 10Base-FL (fiber) Ethernet (via DB-15 AUI ports)

Although it supports eight ports, the access card has 10 I/O connectors. Ports 1 through 6 are female RJ45 connectors that support twisted pair only. Ports 0 and 7 each have two connectors: one female RJ45 for twisted pair connections and one female DB-15 for AUI (attachment unit interface) connections. Only one of the two connectors for each port may be used at a time.

A line attached to a twisted pair port on the EAC must be connected to a 10Base-T hub or concentrator. As shown in Figure 1-23, a line attached to an AUI port must be connected to a 10Base2, 10Base5, or 10Base-FL transceiver, or medium attachment unit (MAU).

The LEDs on the EAC are described in the section "LED Descriptions."

Figure 1-24 shows front, rear and component side views of the card.

Figure 1-23 : 10Base-T, 10Base5, 10Base2, and 10Base-FL Connections

h3226.gif

Figure 1-24 : Ethernet Access Card

h3227.gif


Fiber Ethernet Access Card

The fiber Ethernet access card (FEAC) operates in conjunction with a packet line card. Each fiber Ethernet access card supports up to eight 802.3 Ethernet 10Base-FL ports.

For each port, the FEAC has two ST connectors that support a multimode fiber interface. One connector is for the receive channel and the other is for the transmit channel; this results in a total of 16 connectors on the FEAC.

A line attached to a 10Base-FL port must be connected to a 10Base-FL hub or concentrator. The receive channel on the FEAC connects to the transmit channel of the hub or concentrator, and the transmit channel on the FEAC connects to the receive channel of the hub or concentrator.

fig_9.gif Warning Unterminated optical connectors may emit radiation. Do not view them with an optical instrument. The transmit laser can damage your eyes.

The LEDs on the FEAC are described in the section "LED Descriptions."

Figure 1-25 shows front, rear, and component side views of the card.


Signal Attenuation

The power loss budget for LS2020 fiber Ethernet connections is 12.5 decibels (dB). Higher loss, which could result from passing the signal through overly long cables or through too many connectors, may cause signal attenuation and data loss.


Port Covers

We recommend that you attach a protective cover to any fiber Ethernet port that will be unconnected for more than a brief period. (Covers are shipped with each fiber Ethernet card.) The cover protects the optical media from dust and damage, which can cause signal attenuation and data errors.

Figure 1-25 : Fiber Ethernet Access Card

h3600.gif


FDDI Access Card

The FDDI access card (FAC) operates in conjunction with a packet line card. It allows the LS2020 node to connect to any network compliant with the ANSI standards for FDDI.

Figure 1-26 shows front, rear, and component side views of the FDDI access card. The LEDs on the FDDI access card are described in the section "LED Descriptions."


Ports

Each FDDI access card supports two multimode FDDI ports. Each port supports a single-MAC station that can function in either dual-attached mode or dual-homed mode. The station management task (SMT) facility adheres to SMT version 7.3 as defined in ANSI X3T9.5.

Each port consists of two media interface connectors (MIC), keyed and labelled as MIC A and MIC B. In addition, one 6-pin DIN connector per port is provided for an optional optical bypass cable. This connector lets you attach an external optical bypass relay to provide additional fault tolerance in the dual ring. The FAC senses the presence of the optical bypass relay and switches it in or out at the appropriate times.


Signal Attenuation

The power loss budget for LS2020 FDDI connections is 11 dB. Higher loss, which could result from passing the signal through overly long cables or through too many connectors, may cause signal attenuation and data loss.


Port Covers

We recommend that you attach a protective cover to any FDDI port that will be unconnected for more than a brief period. (Covers are shipped with each FDDI card.) The cover protects the optical media from dust and damage, which can cause signal attenuation and data errors.


Content-Addressable Memory

The FAC has two CAM (content-addressable memory) chips that filter out incoming packets that are addressed to stations on the same FDDI ring as the LS2020 FDDI interface (and hence do not need to be bridged). The CAMs relieve the packet line card of much of the filtering load.

Figure 1-26 : FDDI Access Card

h3230.gif


Low-Speed Access Card

The V.35/RS-449/X.21 low-speed access card (LSAC) operates in conjunction with the low-speed line card. It can support up to eight I/O ports. To accommodate those ports, the card has two 100-pin connectors. These connectors can be attached to interface-specific fantails (V.35, RS-449, or X.21) that hold the connectors for the I/O ports. (See the section "Fantails" for more information on fantails.)

In conjunction with external DSU/CSUs, low-speed access card ports can be connected to DS1 (T1) or E1 lines.

The low-speed access card has a group of user-settable jumpers that allow you to select the card's interface type (V.35 or RS-449/X.21). For instructions on setting the interface jumpers, see the chapter "Hardware Configuration."

Figure 1-27 shows front, rear and component side views of the low-speed access card.

Figure 1-27 : Low-speed Access Card

h3221.gif


NP Access Card

The NP access card supports one Ethernet port and a pair of serial ports. The Ethernet port can be used to connect the NP to an Ethernet for purposes of managing the LS2020 system. The two serial ports are used for module testing and debugging.

Figure 1-28 shows front, rear, and component side views of the NP access card.

Figure 1-28 : NP Access Card

h3234.gif


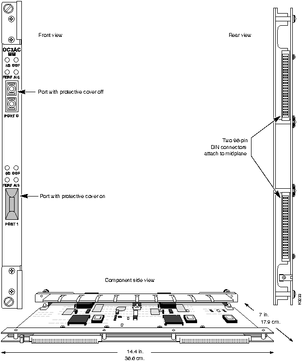
OC-3c Access Cards

OC-3c access cards operate in conjunction with cell line cards. Four versions of the OC-3c access card are available, with the options shown in Table 1-6. The cards are labelled OC3AC MM (for multimode) or OC3AC SM (for single mode). All versions of the card operate at a wavelength of 1300 nanometers.

Table 1-6 : OC-3c Access Card Options

No. of ports
Fiber Type
Connector
Type
Transmit
Power
Receive
Power
2 Single mode ST -15/-8 dBm -34/-7 dBm
2 Multimode Duplex SC -20/-14 dBm -30/-14 dBm
1 Single mode ST -15/-8 dBm -34/-7 dBm
1 Multimode Duplex SC -20/-14 dBm -30/-14 dBm


Note The 2-port OC3ACs require the 2-TSU cell line card. The 1-port OC3ACs require the 1- TSU cell line card. (See the section "Cell Line Card" for more information.)

A one-port OC-3c access card can run at full duplex at full line speed. A two-port card handles cells as fast as the switch card can deliver and receive them. The maximum sustained rate is about 1.1 OC-3c's. Both ports can simultaneously receive bursts at full OC-3c speed, but the TSU cell buffers eventually fill, and TSU flow control forces the card to drop cells at the receive ports.

The LEDs on OC-3c access cards are described in the section "LED Descriptions."

Figure 1-29 and Figure 1-30 show 2-port multimode and single mode OC-3c access cards, respectively.


Signal Attenuation

The power loss budgets for OC-3c connections are as follows:

  • Single mode: 0 -- 12 dB, with a margin of 7 dB

  • Multimode: 0 -- 9 dB, with a margin of 1 dB

Higher loss, which could result from passing the signal through overly long cables or through too many connectors, may cause signal attenuation and data loss.


Single-Mode Transmit Lasers

Each port on the single mode version of the OC-3c access card has a toggle switch and a green LED labelled Safe. The switch enables and disables the port's transmit laser, which can cause eye damage if left enabled when the port is unconnected. See the chapter "Hardware Configuration" if you need instructions on turning the transmit laser on or off.

fig_3.gif Warning Do not look directly into the connectors on a single mode OC-3c access card whose Safe LED is turned off. The transmit laser can damage your eyes.

(Multimode ports are not dangerous, and therefore do not have disable switches.)

Figure 1-29 : OC-3c Multimode Access Card

h3233.gif

Figure 1-30 : OC-3c Single Mode Access Card Front Bulkhead

h3634.gif


Port Covers

We recommend that you attach a protective cover to any OC-3c port that will be unconnected for more than a brief period. (Covers are shipped with each OC-3c card.) The cover protects the optical media from dust and damage, which can cause signal attenuation and data errors.


Serial Access Card

The serial access card (SAC) operates in conjunction with the packet line card. It supports up to eight full-duplex serial I/O ports that can be Frame Forwarding ports, Frame Relay ports, or a combination of the two. To accommodate those ports, the card has two 100-pin connectors. These connectors can be attached to interface-specific fantails (V.35, RS-449, or X.21) that hold the connectors for the I/O ports. (See the section "Fantails" for more information on fantails.)

Figure 1-31 shows front, rear, and component side views of the card.


Interface Jumpers

The SAC has a group of user-settable jumpers that allow you to select the card's interface type (V.35 or RS-449/X.21). For instructions on setting the jumpers, see the section "Setting SAC Interface Jumpers" in the "Hardware Configuration" chapter.


External DSU/CSUs

Access to T1 (DS1) or E1 lines is accomplished through the use of external data service units and channel service units (DSU/CSUs) connected to RS-232 ports on theV.35 or RS-449 fantails. DSU/CSUs are used primarily for long-distance connections with leased lines. A DSU/CSU is not generally necessary for connection to a device in the same building. It is the responsibility of the customer to provide DSU/CSUs; they are not available from Cisco Systems, Inc.

Line speed can be set to selected rates ranging from 55,854 bits per second (bps) up to a maximum of 6,144,000 bps, or to the rates supported by the external DSU/CSU. This arrangement provides support for fractional T1/E1 services.

Each line on the SAC includes a separate interface to control the external DSU/CSU. The interface allows setting loopbacks and carrier channel access configuration in the case of fractional T1. In addition, the interface is used to query traffic and error statistics as well as alarm conditions for local and remote carrier equipment. The control interface is supported by 9-pin male connectors for each port on the V.35 and RS-449 fantails. (X.21 lines do not require DSU/CSU control ports.)

Figure 1-31 : Serial Access Card (SAC)

h5043.gif


T1 and E1 Circuit Emulation Access Cards

The circuit emulation access cards (CEMACs) operate in conjunction with packet line cards. The T1 CEMAC provides eight clear channel DSX-1 constant bit rate (CBR) interfaces at full T1 rates. The E1 CEMAC provides eight clear channel G.704 constant bit rate (CBR) interfaces at full E1 rates. (Fractional circuit emulation is not supported for either T1 or E1.) The CEMAC supports three clocking modes: adaptive, SRTS, and synchronous.

The CEMAC has a single 50-pin Champ (or "telco") I/O connector, to which you attach a fanout device to support up to eight ports. Pinouts and signals for the CEMAC connector are described in the LightStream 2020 Site Planning and Cabling Guide.

The LEDs on the T1 and E1 CEMACs are identical; they are described in the section "LED Descriptions."

The jumpers on the E1 CEMAC are described in the section "Setting CEMAC Interface Jumpers" in the chapter "Hardware Configuration."

Figure 1-32 shows front, rear, and component side views of the T1 CEMAC. Figure 1-33 shows front, rear, and component side views of the E1 CEMAC.

Figure 1-32 : T1 Circuit Emulation Access Card (CEMAC)

h3601.gif

Figure 1-33 : E1 Circuit Emulation Access Card (CEMAC)

h3602.gif


T3 Access Cards

There are two types of T3 access card:

  • Cell-based T3 access cards, labelled T3AC

  • Medium-speed T3 access cards, labelled MSAC


T3AC

T3 access cards (which are labelled T3AC) operate in conjunction with cell line cards. T3ACs are available in two versions:

  • The 8-port T3AC supports 8 edge (UNI) connections or 4 trunk connections.

  • The 4-port T3AC supports 4 edge or trunk connections.


Note The 8-port T3AC requires the two-TSU cell line card. The 4-port T3AC requires the one-TSU cell line card. (See the section entitled "Access Cards" for more information.)

For each port, the T3AC has two SMB connectors. One connector is for the receive channel and the other is for the transmit channel; this results in a total of 16 connectors on an 8-port T3AC and 8 connectors on a 4-port T3AC. Each connector is cabled to a 75-ohm BNC coaxial connector on the fantail that provides DS3-compliant connections.

Each access card contains internal DSU/CSUs that can connect directly to a leased T3 line. T3 access card ports can also connect LS2020 nodes directly at distances up to 900 feet (274 meters).

The LEDs on the T3AC are described in the section "LED Descriptions."

Figure 1-34 shows front, rear, and component side views of the T3AC.

Figure 1-34 : T3 Access Card

h3623.gif


T3 MSAC

T3 medium-speed access cards (which are labeled MSAC) operate in conjunction with medium-speed line cards. T3 MSACs support up to two ports each.

Each T3 MSAC has four 75-ohm BNC coaxial connectors that provide DS3-compliant connections. Each port consists of two connectors: one for the receive channel and one for the transmit channel.

Each access card contains internal DSU/CSUs that can connect directly to a leased T3 line. T3 access card ports can also connect LS2020 nodes directly at distances up to 900 feet (274 meters).

The LEDs on the T3 MSAC are described in the section "LED Descriptions."

Figure 1-35 shows front, rear, and component side views of the T3 MSAC.

Figure 1-35 : Medium-speed T3 Access Card (T3 MSAC)

h3223.gif


Fantails

Certain interface modules (line card/access card pairs) support more ports than can be accommodated on the access cards. The necessary connectors are provided by fantail devices, shown in Figure 1-39, Figure 1-36, and Figure 1-37. Fantails, which are FRUs, provide connectors for four to 12 ports each. Up to two fantails per interface module may be required.

The fantails are presented in alphabetical order and described in detail on the following pages.


E1 Fantails

The E1 fantail (see Figure 1-36) provides 75-ohm ports for E1 CEMAC modules. Two versions of the E1 fantail are available:

  • E1 fantail with BNC connectors

  • E1 fantail with SMZ connectors

Each E1 fantail supports up to 12 ports with 24 connectors---one for transmitting and one for receiving on each port. (E1 fantails currently support a maximum of eight ports because the CEMAC supports a maximum of eight ports.)

The fantail measures 3.27 inches (8.3 cm) high by 19 inches (48.3 cm) wide. It is designed to fit standard 19-inch equipment racks.

For information on the cable used to connect an E1 fantail to a CEMAC and to other devices, see the LightStream 2020 Site Planning and Cabling Guide.

Figure 1-36 : E1 Fantails Showing BNC and SMZ Connectors

fig_4.gif


Serial Fantails

Serial fantails (see Figure 1-37) provide ports for serial interface modules and low-speed interface modules. Three types of fantail are available for these modules:

  • The V.35 fantail has four V.35 DTE ports.

  • The RS-449 fantail has four RS-449 DTE ports.

  • The X.21 fantail has eight X.21 ports. Switches on the fantail can set each port to either DTE or DCE.

Serial speed fantails measure 1.75 inches (1 rack unit, or 4.5 cm) high by 19 inches (48.3 cm) wide, and weigh 2 lb (0.9 kg). They are designed to fit standard 19-inch equipment racks.


Fantail Cables

Special 100-pin cables, supplied by Cisco Systems, Inc., are used to connect fantails to SACs and LSACs. To connect a V.35 or RS-449 fantail to its access card, one cable is required. To connect an X.21 fantail to its access card, you can use one or two cables, depending on the number of ports you wish to use. Each of the connectors on the back of the X.21 fantail (see Figure 1-37) serves four ports on the front of the fantail. (The connector on the left serves ports 0 - 3; the connector on the right serves ports 4 - 7.) If you wish to use up to four ports on the X.21 fantail, you can connect it to the access card with a single cable. If you wish to use 5 or more ports, you must use two cables.


DSU/CSU Control Ports

In addition to the four port connectors, each V.35 and RS-449 fantail has four 9-pin male D-type RS-232 connectors for DSU/CSU control ports (also known as craft ports). (X.21 fantails do not have DSU/CSU connectors.) If a port's DSU/CSU control port is connected to an external DSU/CSU device, you can use the csumon utility to set up and monitor the DSU/CSU from the LS2020 switch. See the LightStream 2020 Network Operations Guide for more information on csumon.


X.21 Ports

Using switches on the X.21 fantail, each X.21 port can be set to either DTE or DCE. The connectors on the fantail are female, the standard for DCE. If you set an X.21 port to be a DTE, you must attach a 15-pin male-to-male gender converter to change the connector on the fantail from female to male.

The X.21 cable available from Cisco can be used for both DTE and DCE X.21 ports. See the LightStream 2020 Site Planning and Cabling Guide for information on cables.

Figure 1-37 : Serial Fantails

h3237.gif

Figure 1-38 shows how fantails connect to the serial or low-speed access cards. The figure shows connections to a V.35 fantail and an RS-449 fantail. For an X.21 fantail (not shown), two cables connect a single 8-port fantail to the LS access card.

Figure 1-38 : Connections from the Serial or the Low-Speed Access Card to V.35 and RS-449 Fantails

h3238.gif


T3/E3 Fantails

T3/E3 fantails (see Figure 1-39) provide ports for cell line card/T3 modules and cell line card/E3 modules. Two T3/E3 fantails are available:

  • A four-port version

  • An eight-port version

The fantail has 8 or 16 BNC connectors---one for transmitting (TX) and one for receiving (RX) on each port. The fantail measures 1.75 inches (1 rack unit, or 4.5 cm) high by 19 inches (48.3 cm) wide. It is designed to fit standard 19-inch equipment racks. Each T3/E3 fantail includes a special cable harness to connect the fantail to its access card.

fig_6.gif Caution The cables attached to the T3/E3 fantail are delicate. If they are allowed to hang unsupported, the weight of unconnected cables can damage cables already connected to the access card. As you connect the cables to the access card, support the loose cables. Tie any unused cables to the rack. In addition, to avoid damaging coax cables, do not bend them more than 90 degrees.

Figure 1-39 : T3/E3 Fantail (8-port Version)

h3620.gif


Card LEDs

There are a number of LEDs on the bulkheads of many cards in an LS2020 switch. The information provided by the LED is also provided by the StreamView monitor application on the NMS. They serve the following purposes:

  • Indicate that basic power is available to the card.

  • Guide you to a broken card, or to one that has failed its diagnostics.

  • Give an informal indication that some traffic is flowing through the node.

  • Indicate the status of parts of the TCS that cannot be obtained via the TCS itself. For example, LEDs indicate which TCS hub is primary. (Problems with TCS hub switchover cannot be diagnosed from the TCS itself.)

The switch card, NP, and line card LEDs are visible from the front of the LS2020 chassis. The LEDs on the access cards are visible from the rear of the chassis.


Note The LSAC and the SAC do not have LEDs.


Fault LEDs

The fault (FLT) LED on a line card, NP, or switch card may turn on for several reasons, which are described in Table 1-7.

Table 1-7 : Causes of Lit Fault LEDs

Cause of Lit FLT LED Confirming the Cause What to Do About It
Card's power-on self test (POST) failed Use show tcs <slot#> command in CLI. If POST field says Failed, see column at right. See the chapter "Hardware Troubleshooting" for instructions on running diagnostics on the card. (You may want to bring up the rest of the system first.)
Card's temperature is out of normal range Use show tcs <slot#> command in CLI. Current temperature readings and maximums are listed in Slot State section of display, near bottom. If temperature reading exceeds warning or shutdown temperature, see column at right. Check blowers (see the section "Troubleshooting Blowers" in the "Hardware Troubleshooting" chapter) and make sure air flow into, through, and away from chassis is unrestricted. Note that leaving chassis open can cause temperature problems. To ensure proper air flow, make sure all components, cards, and bulkhead filler panels are firmly screwed in place.
Card's voltage is out of normal range Use show tcs <slot#> command in CLI. Voltage readings are listed in Slot Voltage section of display, near bottom. If any voltage is outside the listed normal range, see column at right. Call your support representative for instructions on margining the voltage.
Card's application is disabled Use show tcs <slot#> command in CLI. If Application field says Disabled, see column at right. Use the CLI command set card <slot#> active to enable the card.
Function card and access card in this slot are not compatible Check cards in slot at front and rear for mismatches. (Mismatched cards also fail to power up.) Ensure that function card and access card in each slot are compatible. Refer to Table 1-5 in the section "Access Cards" for compatibility list.
Bulk power supply failure Use the show chassis powersupply in CLI. See "Troubleshooting Bulk Power Trays" in Chapter 2, Hardware Troubleshooting, and "Replacing a Power Tray" in Chapter 3, Replacing FRUs."
Function card's flash EEPROM is being loaded Wait 7 to 8 minutes. When flash load is complete, FLT LED goes off.


LED Descriptions

This section (consisting of Tables 1-8 through 1-18) describes the LEDs on all LS2020 cards.

Table 1-8 : LEDs on the Switch Card

Name Color Description
FLT
(fault)
Yellow Turned on by power-on reset, turned off when POST passes. Shines steadily to signal a problem. See Table 1-7 for more information.
RDY
(ready)
Green Controlled by the TCS hub. Blinks while POST runs. When tests complete and are passed, light stays on continuously. LED is turned off by power-on reset. The READY light indicates that TCS is ready to use either hub as the primary hub, or to take over from the primary in case of failure. This LED remains lit if one port is having a problem, as long as the overall functionality of the board is intact.
TCS Green Illuminates when TCS hub has power.
VCC (power) Green Illuminates when the board has power.
TCS SEL Green Indicates that the TCS hub on this card is primary. (Note that the primary hub and the active switch fabric may not be on the same switchcard.) Console output is directed to the console port of the switch card on which this LED is lit.
BITS OK Green To be implemented in a future release.

Table 1-9 : LEDs on the NP

Name Color Description
FLT
(fault)
Yellow Turned on by power-on reset, turned off when POST passes. Shines steadily to signal a problem. See Table 1-7 for more information.
RDY
(ready)
Green Controlled by the TCS slave. Blinks while POST runs. When tests complete and are passed, the light stays on continuously. Turned off by power-on reset.
VCC (power) Green Illuminates when main 5V supply on the card is turned on.
TCS Green Illuminates when the 5V TCS power supply on the card is active. Is lit whenever the bulk power supply is turned on.
A Green Illuminates when the active TCS hub is on the switch card in slot A.
B Green Illuminates when the active TCS hub is on the switch card in slot B.
TX Green Illuminates when the TSU is sending a non-null cell.
RX Green Illuminates when the FSU is receiving a non-null cell.

Table 1-10 : LEDs on the Low-Speed Line Card

Name Color Description
FLT
(fault)
Yellow Turned on by power-on reset, turned off when POST passes. Shines steadily to signal a problem. See Table 1-7 for more information.
RDY
(ready)
Green Blinks while POST runs and illuminates continuously when POST completes and passes. Turned off by power-on reset.
VCC
(power)
Green Illuminates when the card's main 5V supply is within normal levels.
TCS Green Illuminates when the 5V TCS supply is within normal levels.
A Green Illuminates when the active TCS hub is on the switch card in slot A.
B Green Illuminates when the active TCS hub is on the switch card in slot B.
TX Green Illuminates when the TSU is sending a non-null cell.
RX Green Illuminates when the FSU is receiving a non-null cell.
0 - 7 Green Illuminates when the port indicated is active.

Table 1-11 : LEDs on the Medium-Speed Line Card

Name Color Description
FLT
(fault)
Yellow Turned on by power-on reset, turned off when POST passes. Shines steadily to signal a problem. See Table 1-7 for more information.
RDY
(ready)
Green Blinks while POST runs and illuminates continuously when POST completes and passes. Turned off by power-on reset.
VCC
(power)
Green Illuminates when the card's main 5V supply is within normal levels.
TCS Green Illuminates when the 5V TCS supply is within normal levels.
A Green Illuminates when the active TCS hub is on the switch card in slot A.
B Green Illuminates when the active TCS hub is on the switch card in slot B.
TX Green Illuminates when the TSU is sending a non-null cell.
RX Green Illuminates when the FSU is receiving a non-null cell.
0, 1 Green Illuminates when the port indicated is active.

Table 1-12 : LEDs on the Packet Line Card

Name Color Description
FLT
(fault)
Yellow Turned on by power-on reset, turned off when POST passes. Shines steadily to signal a problem. See Table 1-7 for more information.
RDY
(ready)
Green Blinks while POST runs and illuminates continuously when POST completes and passes. Turned off by power-on reset.
VCC
(power)
Green Illuminates when the card's main 5V supply is within normal levels.
TCS Green Illuminates when the 5V TCS supply is within normal levels.
A Green Illuminates when the active TCS hub is on the switch card in slot A.
B Green Illuminates when the active TCS hub is on the switch card in slot B.
TX Green Illuminates when the TSU is sending a non-null cell.
RX Green Illuminates when the FSU is receiving a non-null cell.
LN FLT
(line fault)
Yellow Illuminates when at least one port that is configured to be active (port status/ifAdminStatus = up) either has errors or has no cable connected to it. When LN FLT is lit, try the following:

  • Use the configurator or the CLI command set port <card#>.<port#> inactive to turn off any unused ports.
  • Attach cables to all ports that are in use.
  • Use the CLI command show port <card#>.<port#> status to determine whether there are errors on the line.
LNS OK
(lines OK)
Green Illuminates when at least one port that is configured to be up is functioning properly. This LED turns off if all ports' administrative and operational statuses are down, or if all active ports have errors or missing cables.

Table 1-13 : LEDs on the Cell Line Card

Name Color Description
FLT
(fault)
Yellow Turned on by power-on reset, turned off when POST passes. Shines steadily to signal a problem. See Table 1-7 for more information.
RDY
(ready)
Green Blinks while POST runs and illuminates continuously when POST completes and passes. Turned off by power-on reset.
VCC
(power)
Green Illuminates when the card's main 5V supply is within normal levels.
TCS Green Illuminates when the 5V TCS supply is within normal levels.
A Green Illuminates when the active TCS hub is on the switch card in slot A.
B Green Illuminates when the active TCS hub is on the switch card in slot B.
TX Green Illuminates when the TSU is sending a non-null cell.
RX Green Illuminates when the FSU is receiving a non-null cell.
LN FLT
(line fault)
Yellow Illuminates when at least one port that is configured to be active (port status/ifAdminStatus = up) either has errors or has no cable connected to it. When LN FLT is lit, try the following:

  • Use the configurator or the CLI command set port <card#>.<port#> inactive to turn off any unused ports.
  • Attach cables to all ports that are in use.
  • Use the CLI command show port <card#>.<port#> status to determine whether there are errors on the line.
LNS OK
(lines OK)
Green Illuminates when at least one port that is configured to be up is functioning properly. This LED turns off if all ports' administrative and operational statuses are down, or if all active ports have errors or missing cables.

Table 1-14 : LEDs on the T3 and E3 Access Cards (MSAC, T3AC and E3AC)

Name

MSAC
T3AC and E3AC
Color

Description
RXC
(receive clock)
R Green Illuminates when a DS3 transmitter is present at the other end of the connection. Goes out to indicate that clock is not being received.
OOF
(out of frame)
O Yellow Illuminates when the DS3 transmitter at the other end of the connection is not sending framing pulses.
FERF
(far end receive failure)
F Yellow Illuminates when the DS3 transmitter at the other end of the connection is not receiving framing pulses from this port.
AIS
(alarm indication signal)
A Yellow Illuminates when this port receives an indication that an error has occurred in an upstream device.

Table 1-15 : LEDs on the Ethernet Access Cards (EAC and FEAC)

Name Color Description
0 - 7
(port LEDs)
Green Illuminates when the port indicated is receiving or transmitting packets.
FLT1
(fault)
Yellow This LED echoes the state of the LN FLT (line fault) LED on the PLC in the same slot. (PLC LEDs are described in Table 1-12.)
VCC1
(power)
Green Illuminates when the card's main 5V supply is within normal levels.
1These LEDs are not present on the FEAC.

Table 1-16 : LEDs on the FDDI Access Card

Name Color Description
FLT
(fault)
Yellow This LED echoes the state of the LN FLT (line fault) LED on the PLC in the same slot. (PLC LEDs are described in Table 1-12.)
VCC
(power)
Green Illuminates when the card's main 5V supply is within normal levels.
0A, 0B, 1A, 1B
(port LEDs)
Green Illuminates when the port indicated is ready to transmit or receive data.

Table 1-17 : LEDs on the T1/E1 CEMAC

Name Color Description
LOS
(loss of signal)
Yellow Illuminates if this port is not receiving an input signal.
AIS
(alarm indication signal)
Yellow Illuminates when this port receives an indication that an error has occurred in an upstream device.

Table 1-18 : LEDs on the OC-3C Access Cards (SM and MM)

Name Color Description
SD
(signal detect)
Green Illuminates when an incoming signal is detected on the port indicated. If this LED goes out, it may indicate either a loose cable or a fault in the remote device.
OOF
(out of frame)
Yellow Illuminates when the device at the other end of the connection is not sending framing pulses.
FERF
(far end receive failure)
Yellow Illuminates when the device at the other end of the connection is not receiving framing pulses from this port.
AIS
(alarm indication signal)
Yellow Illuminates when this port receives an indication that an error has occurred in an upstream device.
Safe
(Single mode cards only)
Green Illuminates when the transmit laser on the port is shut off, so there is no danger in looking at the connectors.


Test and Control System

Most communications between components (cards) within an LS2020 node involve the passing of messages through the concurrent cell switch. However, some functions cannot be performed through the switch, including initialization, low-level control, and nondisruptive servicing (diagnostics and maintenance). The LS2020 switch has an integrated test and control system (TCS) to perform these functions.

The TCS provides diagnostic and control functions that

  • Are resilient to system and network failures

  • Are nondisruptive to system operation

  • Can be available even if other parts of the node are down

To meet these needs, the TCS consists of a single-chip microcomputer on every line card, NP, and switch card in the LS2020 node. The microcomputer on line cards and NPs is called a TCS slave: the microcomputer on the switch card is called a TCS hub. Each slave is connected to one hub (or in systems with redundant switch cards, two hubs) by a point-to-point serial link. Messages can flow from slave to hub, from hub to slave, or from slave to slave (using the hub as an intermediary). (For more information on TCS hubs and their behavior in redundant systems, see the section "TCS Hub.")

Each TCS microcomputer (hub or slaves) stores a copy of its card's vital statistics (for example, serial number and card type), and data needed to initialize and run the card. The job of each TCS chip is to manage the low-level functionality of its card. It supervises such functions as power supply sequencing, logic reset, soft logic loading, loading and monitoring of power-on self tests, and application program loading and startup. It also provides on/off control and voltage margining of the on-card DC-DC converters, handles updates to the card's EEPROM memory, and monitors air temperature.

The TCS provides access to each card in the system for diagnostics and maintenance operations via a local or remote console connection. When a card has been newly installed, for example, you can load and run diagnostics on the card without disturbing the rest of the system.

HomeTOCPrevNextGlossSearchHelp
-

Copyright 1988-1996 © Cisco Systems Inc.