Banner
HomeTOCPrevNextGlossSearchHelp

PDF

Table of Contents

Cisco 7000 and Cisco 7507 Rack-Mount Kit Installation Instructions

Cisco 7000 and Cisco 7507 Rack-Mount Kit Installation Instructions

Cisco 7000 and Cisco 7507 Rack-Mount Kit Installation Instructions

Product Numbers: EFT-RMK, ACS-7KRMK and ACS-7KRMK=

This document provides instructions for installing Cisco 7000 and Cisco 7507 routers in a 19-inch equipment rack. The rack-mount kit functionality is identical for both chassis. Throughout this document, the Cisco 7000 and Cisco 7507 chassis are referred to as the chassis.

The sections in this document include the following:

For complete system installation and startup procedures, refer to the Cisco 7000 Hardware Installation and Maintenance or Cisco 7507 Hardware Installation and Maintenance publications.


Rack-Mount Kit Overview

This section describes the types of racks for which this rack-mounting kit is intended, and the mounting configurations that are possible with each type.


Equipment Rack Descriptions

This kit is suitable for mounting the chassis in most 19-inch 2-post, 4-post, or Telco-type racks. The rack must have at least two mounting posts on which to mount the hardware, and the distance between the mounting holes in the two posts must be 18.31 inches ± .063 inches (as specified in the Electronic Industries Association (EIA)--310-C standard).

Figure 1 shows the three types of equipment racks described in this document:

Figure 1 : Equipment Rack Types

h2348.gif

fig_18.gif Caution Before installing the chassis in a rack or wiring closet, read the section "Safety Guidelines" on page 8 to familiarize yourself with the proper site and environmental conditions. Failure to read and follow these guidelines could result in an bodily injury or damage to the system chassis or components. This procedure requires two or more people to perform.


Rack-Mount Installation Summary

Following is a summary of the installation procedures required to rack-mount the chassis. This summary is informational and is not intended to replace the actual procedures required to rack-mount the chassis.

Following is a summary of procedures:

  1. Read the section "Prerequisites" starting on page 7.

  2. Verify that all mounting kit hardware is available.

  3. Install the brackets on the rack posts.

  4. Attach the spanner bars between the brackets.

  5. Attach the chassis ears to the chassis.

  6. Install the chassis in the rack.

Throughout these installation procedures, refer to Figure 2, Figure 3, and Figure 4, in addition to the illustrations provided in the specific installation sections.


Mounting Kit Hardware

The mounting kit comprises two brackets, two chassis ears (each holds two captive grommets), and fasteners (screws). The brackets and ears are identical. On each bracket, the inner side has a turned ledge at the bottom to support the chassis, and shielding to provide electrical isolation between the chassis and the rack. At the front of each bracket is a flange with five mounting holes at the top and three at the bottom.

Each of the two brackets mounts to a rack post with three 10-32 x 5/8-inch, Phillips pan-head screws, which are provided. The front of each bracket attaches to the front of the rack post, and the remainder of the bracket cantilevers off the post. At the bottom of each bracket, a ledge provides a shelf for the bottom sides of the chassis.

A spanner bar on each bracket hooks into the opposite bracket to maintain an exact distance between the two brackets at both the ends attached to the rack posts and unattached ends. The spanner bars prevent the two brackets from separating. (See Figure 11 on page 19.)

Figure 2 shows the components in this mounting kit.

Figure 2 : Rack-Mount Kit Components

h2292.gif

Each of the chassis ears attaches to a side of the chassis with two M4 x 10-mm, Phillips, flat-head screws). When the chassis is in the rack, the mounting strips on the chassis ears attach to the rack-mounting posts with four 10-32 x 5/8-inch, Phillips, pan-head screws. The ledges at the bottom of the brackets support the weight of the chassis. The ears are not weight-bearing fixtures, but prevent the chassis from sliding out of the rack horizontally.

You can attach the ears to either the front or back of the chassis, whichever end you will place at the most accessible end of the rack. For most installations, we recommend that you attach the ears to the interface processor end (rear) so that you can have access to the power supplies, processor slots, and all status LEDs.

In Telco-type installations, you can install the chassis so that the ends of the chassis are approximately centered on two posts. Figure 3 shows a typical center-mount installation.

fig_2.gif Caution To maintain a safe center of gravity in Telco-type installations (shown in Figure 3), the front and rear of the chassis are approximately centered on the mounting posts.

Figure 3 : Typical Center-Mount Installation

h2296.gif

In a 2-post, 4-post, or Telco-type installation, you can flush-mount the chassis so that the end of the chassis is flush with the rack posts. (When mounting the non-interface processor end, the front is actually recessed 1 inch into the rack to protect the plastic front bezel.) Multiple-chassis rack kits can be stacked in a rack with little or no clearance between the brackets. You can remove the four chassis feet after mounting the chassis in the rack.

Figure 4 shows a typical flush-mount installation.

Figure 4 : Typical Flush-Mount Installation---For Telco Racks Bolted to the Floor

h2293.gif


Prerequisites

Before you begin this installation, review the safety guidelines in this section to avoid injuring yourself or damaging the equipment. This section also provides descriptions of the tools and parts you need to perform this installation, and guidelines for planning the rack location so that you can access the system components when necessary and maintain trouble-free operation.

If you are mounting a chassis that is already installed, you will need to disconnect all power and interface cables from the back of the chassis. Be sure to label the cables to avoid confusion when you reconnect them to the interface ports. The configuration worksheets provided near the end of this document can help you reconnect the cables to the correct ports if you make a copy and complete it as you disconnect cables from the chassis. (For the Cisco 7000, see Figure 16 on page 27, and for the Cisco 7507, see Figure 17 on page 28.)

fig_15.gif Warning This warning symbol means danger. You are in a situation that could cause bodily injury. Before you work on any equipment, be aware of the hazards involved with electrical circuitry and be familiar with standard practices for preventing accidents.

Waarschuwing Dit waarschuwingssymbool betekent gevaar. U verkeert in een situatie die lichamelijk letsel kan veroorzaken. Voordat u aan enige apparatuur gaat werken, dient u zich bewust te zijn van de bij elektrische schakelingen betrokken risico's en dient u op de hoogte te zijn van standaard maatregelen om ongelukken te voorkomen.

Varoitus Tämä varoitusmerkki merkitsee vaaraa. Olet tilanteessa, joka voi johtaa ruumiinvammaan. Ennen kuin työskentelet minkään laitteiston parissa, ota selvää sähkökytkentöihin liittyvistä vaaroista ja tavanomaisista onnettomuuksien ehkäisykeinoista.

Attention Ce symbole d'avertissement indique un danger. Vous vous trouvez dans une situation pouvant causer des blessures ou des dommages corporels. Avant de travailler sur un équipement, soyez conscient des dangers posés par les circuits électriques et familiarisez-vous avec les procédures couramment utilisées pour éviter les accidents.

Warnung Dieses Warnsymbol bedeutet Gefahr. Sie befinden sich in einer Situation, die zu einer Körperverletzung führen könnte. Bevor Sie mit der Arbeit an irgendeinem Gerät beginnen, seien Sie sich der mit elektrischen Stromkreisen verbundenen Gefahren und der Standardpraktiken zur Vermeidung von Unfällen bewußt.

Avvertenza Questo simbolo di avvertenza indica un pericolo. La situazione potrebbe causare infortuni alle persone. Prima di lavorare su qualsiasi apparecchiatura, occorre conoscere i pericoli relativi ai circuiti elettrici ed essere al corrente delle pratiche standard per la prevenzione di incidenti.

Advarsel Dette varselsymbolet betyr fare. Du befinner deg i en situasjon som kan føre til personskade. Før du utfører arbeid på utstyr, må du vare oppmerksom på de faremomentene som elektriske kretser innebærer, samt gjøre deg kjent med vanlig praksis når det gjelder å unngå ulykker.

Aviso Este símbolo de aviso indica perigo. Encontra-se numa situação que lhe poderá causar danos físicos. Antes de começar a trabalhar com qualquer equipamento, familiarize-se com os perigos relacionados com circuitos eléctricos, e com quaisquer práticas comuns que possam prevenir possíveis acidentes.

¡Advertencia! Este símbolo de aviso significa peligro. Existe riesgo para su integridad física. Antes de manipular cualquier equipo, considerar los riesgos que entraña la corriente eléctrica y familiarizarse con los procedimientos estándar de prevención de accidentes.

Varning! Denna varningssymbol signalerar fara. Du befinner dig i en situation som kan leda till personskada. Innan du utför arbete på någon utrustning måste du vara medveten om farorna med elkretsar och känna till vanligt förfarande för att förebygga skador.


Safety Guidelines

Review the following guidelines to help ensure your safety and protect the equipment from damage during the installation.

fig_16.gif Warning Before working on a system that has an on/off switch, turn OFF the power and unplug the power cord. (For translations of this safety warning, refer to the section "Power Disconnection Warning" on page 29.)

fig_17.gif Warning Do not touch the power supply when the power cord is connected. For systems with a power switch, line voltages are present within the power supply even when the power switch is off and the power cord is connected. For systems without a power switch, line voltages are present within the power supply when the power cord is connected. (For translations of this safety warning, refer to the section "Power Supply Warning" on page 29.)

fig_19.gif Warning Before working on a chassis or working near power supplies, unplug the power cord on AC units; disconnect the power at the circuit breaker on DC units. (For translations of this safety warning, refer to the section "Power Supply Disconnection Warning" on page 30.)

fig_20.gif Warning This unit might have more than one power cord. To reduce the risk of electric shock, disconnect the two power supply cords before servicing the unit. (For translations of this safety warning, refer to the section "Electric Shock Warning" on page 31.)


Working with Electrical Equipment

When working with any electrical equipment, the following guidelines will help to ensure your safety and protect the equipment. This list does not include all potentially hazardous situations, so be alert.


Lifting the Chassis Safely

The chassis weighs 76 pounds (34.5 kilograms [kg]) when empty (with no interface processors or power supplies installed) and 145 pounds (65.8 kg) with two power supplies and seven processor modules installed. The chassis is not intended to be moved frequently. Before you install the router, ensure that your site is properly prepared, so you can avoid having to move the chassis later to accommodate power sources and network connections.

Whenever you lift the chassis or any heavy object, follow these guidelines:

Warning Two people are required to lift the chassis. Grasp the chassis underneath the lower edge and lift with both hands. To prevent injury, keep your back straight and lift with your legs, not your back. To prevent damage to the chassis and components, never attempt to lift the chassis with the handles on the power supplies or on the interface processors, or by the plastic panels on the front of the chassis. These handles were not designed to support the weight of the chassis. (For translations of this safety warning, refer to the section "Chassis Lifting Warning" on page 32.)

Figure 5 : Lifting Safely

h2336.gif

fig_1.gif Caution To avoid damage to power supplies and interface processors, never attempt to lift the chassis using the handles on the power supplies or the interface processors. These handles were not designed to support the weight of the chassis.


Note The following warning is for units equipped with DC-input power supplies.

fig_26.gif Warning Before performing any of the following procedures, ensure that power is removed from the DC circuit. To ensure that all power is OFF, locate the circuit breaker on the panel board that services the DC circuit, switch the circuit breaker to the OFF position, and tape the switch handle of the circuit breaker in the OFF position. (For translations of this safety warning, refer to the section "DC Power Disconnection Warning" on page 33.)


Safety with Electricity

Follow these basic guidelines when working with any electrical equipment:

Warning Do not work on the system or connect or disconnect cables during periods of lightning activity. (For translations of this safety warning, refer to the section "Lightning Activity Warning" on page 34.)

When you replace the power supplies, remember to engage all of the safety features on each supply. The power supplies feature the following three safety interlock features:

  • A safety interlock on/off switch (see Figure 6) prevents the power supply from being removed from the chassis when the power supply switch is in the on (|) position. When the switch is on, a metal tab extends into a slot in the chassis. When the switch is turned off (O), the tab retracts into the power supply housing and clears the slot.

  • A captive installation screw at the top of the power supply front panel provides electrical grounding and prevents the power supply from vibrating or sliding out of the bay and dislodging from the power connectors in the backplane.

  • A cable retention clip prevents the power supply power cord from being accidentally pulled out of the power supply socket.

For a complete description of the power supply, refer to the Cisco 7000 Hardware Installation and Maintenance or Cisco 7507 Hardware Installation and Maintenance publications.

Figure 6 : Power Supply Safety Interlocks---AC-Input Power Supply Shown

h1315.gif


Equipment Rack Considerations

This kit is suitable for mounting the chassis in most 19-inch 2-post, 4-post, or Telco-type racks that conform to the EIA-310-C standard. The brackets, which support the chassis, cantilever off two rack posts. You can mount the chassis with either end approximately flush with the two rack posts, or, in Telco-type installations, you can center-mount the chassis. Before proceeding, review the guidelines in this section and ensure that you have planned your installation carefully to avoid hazards such as top-heavy or unbalanced racks, or cables or equipment that obstruct traffic paths or access to equipment.

Before using a particular rack, check for obstructions (such as a power strip) that could impair access to the processor modules or power supplies at the interface processor end, or to the chassis panels that provide access to the internal field replaceable units (FRUs) at the non-interface processor end of the chassis. Figure 7 shows the chassis footprint and outer dimensions, and the clearance required to remove or install FRUs.


Rack Stability

When installing the chassis in any rack that is not secured to the floor or overhead structure, place the chassis in the lower half of the rack. A fully-configured chassis weighs 145 pounds (65.8 kg), and a shift in the weight distribution (during the installation or later as a result of disturbance to the rack) can cause the rack to fall.

Figure 7 : Chassis Footprint and Outer Dimensions

h1608.gif

Also, when installing the chassis in Telco-type racks, ensure that the rack is secured to the floor or otherwise stabilized. Center-mount the chassis if possible (and practical for your installation). Doing so places the center of gravity closest to the center of the mounting posts. Figure 8 shows the center of gravity for both center-mounted and flush-mounted installations. (The center of gravity will shift somewhat depending on which end of the chassis is positioned at the front of the rack.)

Figure 8 : Chassis Center of Gravity for Flush-Mount Configurations

h2350.gif

As an alternative, you can install an equipment shelf in the rack if both the rack dimensions allow the router to be secured to the shelf, and the overall configuration permits safe installation and access. If you install a customized shelf or install the router on slides, be aware of potential hazards of tip-over from an unbalanced rack.

fig_9.gif Warning To prevent bodily injury when mounting or servicing this unit in a rack, you must take special precautions to ensure that the system remains stable. The following guidelines are provided to ensure your safety:

    • This unit should be mounted at the bottom of the rack if it is the only unit in the rack.

    • When mounting this unit in a partially filled rack, load the rack from the bottom to the top with the heaviest component at the bottom of the rack.

    • If the rack is provided with stabilizing devices, install the stabilizers before mounting or servicing the unit in the rack. (For translations of this safety warning, refer to the section "Chassis Warning---Rack-Mounting and Servicing" on page 35.)

      fig_12.gif

Warning Do not use a ramp inclined at more than 10 degrees. (For translations of this safety warning, refer to the section "Ramp Warning" on page 37.)


Rack Dimensions and Site Layout

For complete site requirements and recommendations, refer to the Cisco 7000 Hardware Installation and Maintenance or Cisco 7507 Hardware Installation and Maintenance publications. To help maintain trouble-free operation, consider the following precautions when planning your rack installation:

  • Place the chassis in a location with sufficient access to power and network interface cables. Avoid straining cables or routing them near traffic paths or power cables (which can cause interference).

  • During the installation, allow sufficient working space around the rack. You will need at least three feet in front of the rack to lift the chassis and insert it, and two feet of clearance outside the power supply bays to insert power supplies.

  • After installation, allow at least two to three feet of clearance behind the rack for maintenance. Because the interface processor end of the router provides access to the power switches, processor slots, and status LEDs, we recommend that you mount the interface processor end at the most accessible side of the rack. You should be able to access both ends of the router without having to remove it from the rack.

  • Some equipment racks provide a power strip along the length of one of the rear mounting strips. If your rack has this feature, consider the position of the strip when planning fastener points and determine whether you will install the chassis from the front or the rear of the rack. Power supplies are installed in the rear of the chassis, and a power strip might partially block access to the bay.

  • If your rack is enclosed, or if it has a door on the front, temporarily remove the door to provide enough clearance for installation. If the rack does not provide a rear door for access to the rear chassis panel, install the chassis backwards in the rack so you can access the FRUs and spare parts, and view the LEDs.


Rack Ventilation

Planning a proper location for the router and the layout of your equipment rack is essential for successful system operation. Equipment placed too close together or inadequately ventilated can cause overtemperature conditions inside the chassis. In the chassis, the cooling air is drawn in through the front of the chassis, and the exhaust air is forced out the back between the interface processor faceplates.

The following guidelines are recommended to ensure a sufficient flow of cooling air to the chassis:

  • Place the chassis in a location that enables the flow of cooling air through the chassis. The chassis blower draws cooling air in through the front chassis panel, past the internal components, and out the back panel. Inhibiting the intake, blocking the exhaust, or allowing heated air to enter the intake can cause overtemperature conditions and cause the system to shut down.

  • Because the intake and exhaust ports for cooling air are located on the front and rear of the chassis, multiple chassis can be stacked with little or no clearance in a rack. You can remove the four feet on the chassis after the chassis is mounted in the rack.

  • Install the chassis in an open rack whenever possible. If installation in an enclosed rack is unavoidable, ensure that the rack has adequate ventilation or an exhaust fan.

  • Conversely, a ventilation system that is too powerful in a closed rack may also prevent cooling by creating negative pressure around the chassis and redirecting the air away from the chassis intake vent. If necessary, operate the chassis with the rack open.

  • Equipment near the bottom of a rack may generate excessive heat that is drawn upward and into the intake ports of equipment above, leading to overtemperature conditions in the chassis at or near the top of the rack.


List of Parts and Tools

This section lists the tools you will need to complete this installation and the parts that are shipped as part of the rack-mount kit. Ensure that you have all the tools and parts required so that you can complete the installation without interruption.


Tools Required

You will need the following tools to install the mounting hardware and chassis in the rack:

  • Number 2 Phillips screwdriver

  • One 7/16-inch, open-end (or adjustable) wrench if you will remove the chassis feet

  • Tape measure or level (both optional)

  • Ohmmeter if your installation requires the chassis to be electrically isolated from the rack

You also need the following tools to replace the power supplies after mounting the chassis:

  • A number 2 Phillips or 1/4-inch, flat-blade screwdriver for the captive screw. (Because of ongoing product improvements, some power supplies use slotted screws, and others use Phillips screws.)

  • If cables from other equipment fall in front of the power supply bays, you will need cable ties to temporarily anchor the cables out of the way while you install the power supplies.

Before beginning the power supply installation, check the captive installation screws on all power supplies to determine which tools you will need.


Parts List

Table 1 lists the parts that are included in the rack-mount kit. To verify that you received all the parts listed, refer to Table 1 and to Figure 2 on page 4. If any are missing, contact a service representative for assistance. (Refer to the section "Cisco Information Online" at the end of this document.)

Table 1 : Rack-Mount Kit Parts Checklist

Quantity Part Description Received
2 Mounting brackets (left and right are identical), each with an attached spanner bar
2 Chassis ears with captive grommets (left and right ears are identical)
4 M4 x 10-mm LG Phillips flat-head screws
10 10-32 x 5/8'' LG Phillips pan-head screws with integral square cone washers


Note As you perform the installation, refer to Figure 2, on page 4, and to the detailed illustrations that follow.


Installation

The following sections describe the procedures for mounting the chassis in a 19-inch equipment rack with two or four mounting posts. Before proceeding, review the guidelines and recommendations in the section "Prerequisites" on page 7 to protect your safety, to maintain sufficient clearance around the rack during and after the installation, and to ensure proper airflow through the chassis after the installation.

fig_8.gif Warning To avoid potentially serious bodily injury, this procedure requires two or more people to perform.

Some equipment racks provide a power strip along the length of one of the rear mounting strips. If your rack has this feature, we recommend that you fasten the brackets and install the interface processor end of the chassis at the opposite side of the rack.


Installing the Brackets

The two brackets are identical. The inner side of each bracket has a ledge at the bottom to support the undersides of the chassis, and shielding to provide electrical isolation between the chassis and the rack. A flange on the front of each bracket provides five mounting holes at the top, and three at the bottom. Mount the bracket with the flange in front of the rack post, and with the inner (shielded) side facing the center of the rack. The ledge should be at the bottom of the bracket. (See Figure 9.)

Figure 9 : Positioning a Bracket

h2288.gif

After you install both brackets in the rack, you must connect the spanner bar on each bracket to the opposite bracket. The spanner bars are required to prevent both ends of the brackets (at the front and rear of the rack) from separating or drifting apart. The cutouts in the brackets are to accommodate the ear brackets that attach to the chassis to the rack. (Refer to Figure 2 on page 4.)

To install the brackets in the rack, you will secure each bracket to a rack post with three 10-32 x 5/8-inch Phillips, pan-head screws. If possible (if the holes line up), use the top-most and bottom most mounting holes in the bracket. Always use the bottom mounting hole on the bracket. If the top mounting hole does not line up with a hole in the rack post, use one of the other two holes near the top of the bracket.


Mounting the Brackets to the Rack Posts

Follow these steps to mount each bracket to a rack post:

Step 1 Measure the space between the inner edges of the left front and right front equipment rack-mounting posts to ensure that it is at least 17.72 inches. The chassis is 17.5 inches wide and must fit between the mounting posts.

Step 2 Measure the distance between the holes in the mounting posts to ensure that it is 18.31 inches (± .063 inches). Make several measurements down the length of the posts to ensure they are parallel.

Step 3 Holding the first bracket in the position shown in Figure 10, place the bracket on the inner side of the rack post, with the flanged front edge of the bracket in front of the rack post.

Figure 10 : Installing a Bracket on a Rack Post---Left Bracket Shown

h2289.gif

Step 4 Slide the bracket up and down along the mounting post to align the mounting holes in the bracket with those in the rack post.

Step 5 While supporting the bracket with one hand, use the other hand to insert a 10-32 x 5/8-inch, Phillips pan-head screw through the bottom mounting hole on the front of the bracket and into the rack post. (See Figure 10.)


Note Finger tighten the pan-head screw, but do not tighten it because you might need to adjust these screws when attaching the spanner bars later.

Step 6 Secure the top of the bracket to the rack with two pan-head screws. Finger tighten the screws.

Step 7 Repeat Steps 3 through 6 for the remaining bracket. Use a level or tape measure to ensure that the two brackets are level in the rack.

fig_29.gif Caution To ensure adequate space between the brackets, and to ensure the chassis stays in the rack, push the brackets as far apart as possible before tightening the screws that secure them.

Step 8 Measure the horizontal distance between the left and right brackets. The distance must be greater than 17.5 inches for the chassis to clear the brackets; adjust as required.

To position and secure the spanner bars, proceed to the next section.


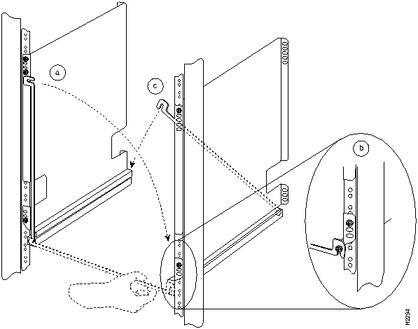
Securing the Spanner Bars

The spanner bar on each bracket hooks into the opposite bracket to maintain a fixed spacing between the two brackets. The spanner bars prevent the brackets from separating or drifting apart, particularly at the ends that are not secured to the rack. To connect the spanner bars, connect the hook at the unattached end of each spanner bar to a screw at the bottom of the opposite bracket.

Follow these steps to secure the spanner bars:

Step 1 Loosen the 10-32 x 5/8-inch, Phillips pan-head screw that is located in the end of the ledge of the right-side bracket. (See Figure 11b.) This screw is the anchor for the spanner bar.

Step 2 Remove the tape that secures the spanner bar on the left bracket, and swing the bar down (see Figure 11a) over the anchor screw on the opposite bracket. (See Figure 11b.)

Step 3 If the spanner bar does not reach the opposite bracket, loosen the pan-head screws to allow more play between the brackets.

Step 4 When the first spanner bar is secured, go around to the other side of the rack and repeat Steps 1 through 3 to fasten the remaining spanner bar to its anchor screw. (See Figure 11c.)

Figure 11 : Positioning and Fastening a Spanner Bar

h2294.gif

fig_30.gif Caution To ensure adequate space between the brackets and a proper chassis fit, push the brackets as far apart as possible before tightening the screws that secure them and the spanner bars.

Step 5 When both spanner bars are in place, use a number 2 Phillips screwdriver to tighten the six pan-head screws that secure the brackets to the rack-mounting posts, and the two anchor screws that secure the spanner bars. When tightening the pan-head screws on a bracket, push the bracket outward, away from the center of the rack, to ensure that the brackets remain at least 17.5 inches apart (otherwise the chassis will not fit between the brackets).

This completes the bracket installation. To install the ears on the chassis, proceed to the next section.


Attaching the Chassis Ears

The ears attach directly to the chassis with four M4 x 10-mm, flat-head screws. Attach the ears to the chassis before you slide the chassis onto the brackets and back into the rack. After you slide the chassis into the rack, insert a 10-32 x 5/8-inch pan-head screw through each of the captive grommets on the ears and through the rack-mounting strips. The ears do not bear the weight of the chassis, but prevent it from walking, or sliding horizontally out of the rack.

You can mount the ears on either the front or rear of the chassis, whichever end will be in the front of the rack. We recommend that you attach them to the interface processor end of the chassis, so the power supplies and processor modules will be accessible at the front of the rack.

In most four-post racks, you will attach the ears with the mounting strip flush with the end of the chassis. Figure 4, on page 6, shows a typical flush-mount installation. In Figure 12, the example insert on the right shows how the ears attach to the chassis for flush mounting.

In some Telco-type racks, it is more practical to center-mount the chassis. To do so, flip the ears around so that the mounting strips are near the center of the side of the chassis. Figure 3, on page 5, shows a typical center-mount installation. In Figure 12, the example insert on the left shows how the ears attach to the chassis for center mounting.

Figure 12 : Installing the Ears on the Chassis

h2297.gif

Follow these steps to install the ears on the chassis:

Step 1 While referring to Figure 12, position the ears on the chassis as follows:

  • To flush-mount the chassis (so that the end of the chassis is approximately flush with the rack posts): Place each ear so that the mounting strips are flush with the end of the chassis, and align the mounting holes in the ear with those in the chassis.

    If you are attaching the ears to the noninterface processor end (front) of the chassis, the mounting strips on the ears will extend slightly past the ends of the chassis. To protect the plastic front bezel and LED windows, the front of the chassis will be slightly recessed into the rack.

  • To center-mount the chassis (so that the chassis is roughly centered in a Telco-type rack): Place each ear with the mounting strips away from the end of the chassis, and align the mounting holes in the ear with those in the chassis.

Step 2 Use two M4 x 10-mm, flat-head Phillips screws to secure each ear to the chassis.

Proceed to the next section to install the chassis in the rack.


Installing the Chassis in the Rack

Two people are required to lift the chassis and complete this part of the installation. You will need to lift the chassis and slide it into the rack and onto the ledges provided by the brackets. After you push the chassis back into the rack, you will attach the ears to the rack-mounting strips to prevent the chassis from sliding forward or backward out of the rack.

Before moving the chassis, you must remove all power supplies and disconnect all power and interface cables. If you are installing a new chassis, or if you have already removed all power supplies and disconnected all interface cables, proceed to the section "Moving the Chassis into the Rack" on page 22.


Removing Power Supplies and Interface Cables

Before moving the chassis, you must remove all power supplies and disconnect all power and interface cables. Label the interface cables; you can use the configuration worksheet provided at the end of this document to record the correct cable connections and avoid crossing cables when you reconnect them. (For the Cisco 7000, see Figure 16 on page 27, and for the Cisco 7507, see Figure 17 on page 28.)

The power supply switch is also an interlock tab that prevents the supply from being removed when it is on. (See Figure 6 on page 11.) The interlock tab extends into a slot in the chassis when the power switch is on, and retracts into the power supply to allow removal when the switch is off.

Follow these steps to install the chassis in the rack:

Step 1 Turn OFF all installed power supplies.

Step 2 Disconnect the power cords from the source power connection first, then from the power supply receptacle. Push the cable retention clip down to free the plug, then pull the cord out of the power receptacle.

Step 3 Loosen the captive installation screw at the top of the first power supply. (See Figure 13.)

Step 4 Grasp the power supply handle and slowly pull the supply out of the bay. Keep your other hand underneath the bottom to support it. (See Figure 13.)

Step 5 Put the power supply aside.

Step 6 If a second power supply is installed, repeat steps Steps 3 through 5 to remove the second supply.

Figure 13 : Handling a Power Supply (AC-Input Power Supply Shown)

h1356.gif

fig_5.gif Warning To avoid dropping the power supply and injuring yourself, use both hands to remove or install a power supply. Each power supply weights approximately 20 pounds (9.1 kg).

Step 7 Label and disconnect all interface cables. You can make a copy of the configuration worksheet provided near the end of this document, and use it to record the correct cable connections and avoid crossing cables when you reconnect them. (For the Cisco 7000, see Figure 16 on page 27, and for the Cisco 7507, see Figure 17 on page 28.)

Step 8 On the rear of the chassis, check the ejector levers and captive installation screws on all installed interface processors and interface processor fillers to ensure that all are secure.

Proceed to the next section to move the chassis into the rack.


Moving the Chassis into the Rack

Two people are required to lift the chassis and insert it into the rack. The chassis weighs approximately 105 pounds (47.62 kg) when the power supplies are removed. Make sure that your path to the rack is not obstructed.

You will insert the end of the chassis that does not have the ears attached into the rack, lower it onto the two ledges on the brackets, then slide the chassis back until the ears meet the rack-mounting posts. The chassis feet are not needed on a rack-mounted chassis. You can remove the feet after you lower the chassis into the rack, but before you slide it fully back into position. The center of the foot has a slot for a screwdriver, and a 7/16-inch nut is fused to the stem of the foot. (See Figure 14.) Alternatively, you can simply leave the feet attached.

fig_7.gif Caution To avoid damaging power supplies and interface processors, never attempt to lift the chassis using the handles on the power supplies or the interface processors. These handles are not designed to support the weight of the chassis. Using them to lift or support the chassis can result in severe damage to the equipment and serious bodily injury.

Figure 14 : Chassis Foot

h1396.gif

If you have not already done so, review the safety guidelines in the section "Lifting the Chassis Safely" on page 9. Then follow these steps to install the chassis in the rack:

Step 1 Two people are required to perform this step. With a person positioned at either side of the chassis, grasp the bottom edge of the chassis with one hand near the front and the other near the back. Slowly lift the chassis in unison. Avoid sudden twists or moves to prevent injury. (See Figure 5 on page 9.)

Step 2 With the chassis positioned so that the end with the ears attached is farthest from the rack, insert the opposite end of the chassis into the rack between the brackets, then slowly lower the chassis until it rests on the two ledges.

Step 3 Slide the chassis back into the rack along the ledges. (See Figure 15.)

Step 4 To remove a chassis foot, use a 1/4-inch flat-blade screwdriver or insert an open-end 7/16-inch wrench (or an adjustable wrench set at 7/16) between the underside of the chassis and the foot. Turn the foot clockwise (counterclockwise if the chassis is directly above you) until the foot drops out of the chassis.

Step 5 When the chassis feet are removed, continue sliding the chassis into the rack until the ears meet the front mounting posts on both sides of the rack.

Step 6 Secure each ear to the rack-mounting post with two 10-32 x 5/8-inch, Phillips pan-head screws.

This completes the procedure for moving the chassis into the rack.

If your installation requires that the chassis be electrically isolated from the rack, proceed to the next section. Otherwise, proceed to the section "Replacing Power Supplies and Interface Cables" on page 25.

Figure 15 : Sliding the Chassis into the Rack

h2298.gif


Checking Electrical Isolation

The inner sides of the mounting brackets and the grommets on the chassis ears are shielded to isolate the chassis from contact with the equipment rack. If your installation requires that the chassis be electrically isolated from the rack, ensure that there are no conductive contact points between the chassis and the rack before replacing the power supplies.

Use an ohmmeter to perform the following test:

Step 1 Zero out the ohmmeter.

Step 2 Place one probe on an unpainted metal surface on the rack, and place the other probe on an unpainted metal surface on the chassis (such as inside the power supply bay).

Step 3 If the ohmmeter indicates an open circuit, the chassis is electrically isolated from the rack. If the ohmmeter indicates a closed circuit (0 ohms), there is at least one contact point between the chassis and the rack. Do not install the power supplies until you locate and resolve all points of contact between the chassis and the rack.

Proceed to the next section to replace the power supplies and reconnect the interface cables. If you are performing an initial installation, proceed to the appropriate installation guide.


Note If you are installing a new system, proceed to the Cisco 7000 Hardware Installation and Maintenance or Cisco 7507 Hardware Installation and Maintenance publications for cabling guidelines and further instructions. First-time startup and troubleshooting procedures are not covered in this installation document.


Replacing Power Supplies and Interface Cables

Before proceeding, ensure that you have sufficient working space (at least three feet) behind the chassis, and that access to the power supply bays is not blocked by an equipment rack power strip or cables from other equipment. If cables from other equipment are in the way, move them aside and temporarily secure them with tie wraps before proceeding. Remember that cables that block access to the bays or processor slots might also block status LEDs from view and impede the flow of cooling air through the chassis.

Always install the first power supply in the lower power supply bay and the second, if any, in the upper bay.

Follow these steps to replace the power supplies:

Step 1 Place the power switch in the OFF (O) position. The interlock tab should not extend out of the unit.

Step 2 Hold the power supply by the handle and place your other hand underneath to support the bottom.(See Figure 13 on page 22.)

Step 3 Align the power supply so that it will go straight into the slot.

Step 4 Push the power supply all the way into the bay. Do not use unnecessary force; firmly push the supply back into the bay until the power supply front panel is flush with the chassis rear panel.

fig_10.gif Caution When inserting a power supply into the bay, do not use unnecessary force. Slamming the power supply into the bay can damage the connectors on the rear of the supply and inside the chassis.

Step 5 Tighten the captive installation screw on the top of the power supply.

fig_11.gif Caution To prevent damage to the chassis components, do not turn on any power supplies until you are ready to power up the system. The interlock switch that locks the power supply in the slot also turns ON the system power.

Step 6 If you have AC-input power supplies, plug each power cord into an AC receptacle, then push each cable retention clip up until it snaps into place around the cable connector. If you have DC-input power supplies, correctly attach the power cable leads and use the nylon cable tie for strain relief. Refer to the documentation that accompanied the DC-input power supplies.

Step 7 Repeat Steps 2 through 6 for the second power supply, if any.

Step 8 Connect each power supply cord to a separate input line.

Step 9 Reconnect all interface cables to the ports on the rear of the chassis. Use the configuration worksheet (if you recorded the cable positions when you disconnected them) to avoid crossing cables. (For the Cisco 7000, see Figure 16 on page 27, and for the Cisco 7507, see Figure 17 on page 28.)


Restarting the System

To complete the installation, you will perform a final check of all connections, then restart the system. This procedure is not for new systems; perform this procedure only if you have already connected the network interfaces and performed the first-time startup procedures in the Cisco 7000 Hardware Installation and Maintenance or Cisco 7507 Hardware Installation and Maintenance publications.

Follow these steps to restart the system and verify that the system restarts successfully:

Step 1 Check the following components to make sure they are secure:

  • Each interface processor is fully inserted in the slot and all captive installation screws are tightened.

  • All interface cable connections are secured.

  • Each power supply is fully inserted in the bay, and the captive screw is tightened.

  • All power supply cables are inserted into the power supply and secured with the cable retention clip.

  • All power cables are connected to a power source.

Step 2 Ensure that a console terminal is connected to the RP console port and turned on, or that you have a remote login to the router from another device through a Telnet session. (You will need to check the startup banner and displays to ensure that the system restarts properly and that all the interfaces reinitialize in the proper state.)

Step 3 When you have checked all of the connection points, turn the lower power supply on by turning the power supply switch clockwise one-quarter turn. The AC power LED on the lower AC-input power supply (or the input power LED on the DC-input power supply) and the lower power LED on the front of the chassis should go on.

Step 4 Listen for the system blower. You should hear it start operating immediately.

Step 5 After the lower power supply is on, turn the upper power supply on (if one is present) for redundant power. The AC power LED on the upper AC-input power supply (or the input power LED on the DC-input power supply) and the upper power LED on the front of the chassis should go on.

Step 6 On the console terminal, verify that the console displays the system banner and that the system and all interfaces initialize successfully.

Step 7 If you try to turn on a power supply and the switch resists, the power supply probably is not fully inserted into the bay. Turn the power switch fully counterclockwise (to O), pull the power supply out of the bay about two inches, then push the power supply firmly back into the slot. Do not slam the supply into the slot; doing so can damage the connectors on the supply and the backplane. Tighten the captive installation screw before turning on the switch.

If the power supplies do not start up, or if the system or any interfaces do not initialize properly, refer to the Cisco 7000 Hardware Installation and Maintenance or Cisco 7507 Hardware Installation and Maintenance publications for additional information and installation troubleshooting procedures.

If necessary, contact a service representative. (See the following section, "Cisco Information Online.")

Figure 16 : Cisco 7000 Port Configuration Worksheet

h1324.gif

Figure 17 : Cisco 7507 Port Configuration Worksheet

h3889.gif


Translated Safety Warnings

Following are translations of the safety warnings that appear throughout this publication:


Power Disconnection Warning

fig_21.gif Warning Before working on a system that has an on/off switch, turn OFF the power and unplug the power cord.

Waarschuwing Voordat u aan een systeem werkt dat een aan/uit schakelaar heeft, dient u de stroomvoorziening UIT te schakelen en de stekker van het netsnoer uit het stopcontact te halen.

Varoitus Ennen kuin teet mitään sellaiselle järjestelmälle, jossa on kaksiasentokytkin, katkaise siitä virta ja kytke virtajohto irti.

Attention Avant de travailler sur un système équipé d'un commutateur marche-arrêt, mettre l'appareil à l'arrêt (OFF) et débrancher le cordon d'alimentation.

Warnung Bevor Sie an einem System mit Ein/Aus-Schalter arbeiten, schalten Sie das System AUS und ziehen das Netzkabel aus der Steckdose.

Avvertenza Prima di lavorare su un sistema dotato di un interruttore on/off, spegnere (OFF) il sistema e staccare il cavo dell'alimentazione.

Advarsel Slå AV strømmen og trekk ut strømledningen før det utføres arbeid på et system som er utstyrt med en av/på-bryter.

Aviso Antes de começar a trabalhar num sistema que tem um interruptor on/off, DESLIGUE a corrente eléctrica e retire o cabo de alimentação da tomada.

¡Advertencia! Antes de utilizar cualquier sistema equipado con interruptor de Encendido/Apagado (ON/OFF), cortar la alimentación y desenchufar el cable de alimentación.

Varning! Slå AV strömmen och dra ur nätsladden innan du utför arbete på ett system med strömbrytare.


Power Supply Warning

fig_22.gif Warning Do not touch the power supply when the power cord is connected. For systems with a power switch, line voltages are present within the power supply even when the power switch is off and the power cord is connected. For systems without a power switch, line voltages are present within the power supply when the power cord is connected.

Waarschuwing U dient de voeding niet aan te raken zolang het netsnoer aangesloten is. Bij systemen met een stroomschakelaar zijn er lijnspanningen aanwezig in de voeding, zelfs wanneer de stroomschakelaar uitgeschakeld is en het netsnoer aangesloten is. Bij systemen zonder een stroomschakelaar zijn er lijnspanningen aanwezig in de voeding wanneer het netsnoer aangesloten is.

Varoitus Älä kosketa virtalähdettä virtajohdon ollessa kytkettynä. Virrankatkaisimella varustetuissa järjestelmissä on virtalähteen sisällä jäljellä verkkojännite, vaikka virrankatkaisin on katkaistu-asennossa virtajohdon ollessa kytkettynä. Järjestelmissä, joissa ei ole virrankatkaisinta, on virtalähteen sisällä verkkojännite, kun virtajohto on kytkettynä.

Attention Ne pas toucher le bloc d'alimentation quand le cordon d'alimentation est branché. Avec les systèmes munis d'un commutateur marche-arrêt, des tensions de ligne sont présentes dans l'alimentation quand le cordon est branché, même si le commutateur est à l'arrêt. Avec les systèmes sans commutateur marche-arrêt, l'alimentation est sous tension quand le cordon d'alimentation est branché.

Warnung Berühren Sie das Netzgerät nicht, wenn das Netzkabel angeschlossen ist. Bei Systemen mit Netzschalter liegen Leitungsspannungen im Netzgerät vor, wenn das Netzkabel angeschlossen ist, auch wenn das System ausgeschaltet ist. Bei Systemen ohne Netzschalter liegen Leitungsspannungen im Netzgerät vor, wenn das Netzkabel angeschlossen ist.

Avvertenza Non toccare l'alimentatore se il cavo dell'alimentazione è collegato. Per i sistemi con un interruttore di alimentazione, tensioni di linea sono presenti all'interno dell'alimentatore anche quando l'interruttore di alimentazione è en posizione di disattivazione (off), se il cavo dell'alimentazione è collegato. Per i sistemi senza un interruttore, tensioni di linea sono presenti all'interno dell'alimentatore quando il cavo di alimentazione è collegato.

Advarsel Berør ikke strømforsyningsenheten når strømledningen er tilkoblet. I systemer som har en strømbryter, er det spenning i strømforsyningsenheten selv om strømbryteren er slått av og strømledningen er tilkoblet. Når det gjelder systemer uten en strømbryter, er det spenning i strømforsyningsenheten når strømledingen er tilkoblet.

Aviso Não toque na unidade abastecedora de energia quando o cabo de alimentação estiver ligado. Em sistemas com interruptor, a corrente eléctrica estará presente na unidade abastecedora, sempre que o cabo de alimentação de energia estiver ligado, mesmo quando o interruptor se encontrar desligado. Para sistemas sem interruptor, a tensão eléctrica dentro da unidade abastecedora só estará presente quando o cabo de alimentação estiver ligado.

¡Advertencia! No tocar la fuente de alimentación mientras el cable esté enchufado. En sistemas con interruptor de alimentación, hay voltajes de línea dentro de la fuente, incluso cuando el interruptor esté en Apagado (OFF) y el cable de alimentación enchufado. En sistemas sin interruptor de alimentación, hay voltajes de línea en la fuente cuando el cable está enchufado.

Varning! Vidrör inte strömförsörjningsenheten när nätsladden är ansluten. För system med strömbrytare finns det nätspänning i strömförsörjningsenheten även när strömmen har slagits av men nätsladden är ansluten. För system utan strömbrytare finns det nätspänning i strömförsörjningsenheten när nätsladden är ansluten.


Power Supply Disconnection Warning

fig_23.gif Warning Before working on a chassis or working near power supplies, unplug the power cord on AC units; disconnect the power at the circuit breaker on DC units.

Waarschuwing Voordat u aan een frame of in de nabijheid van voedingen werkt, dient u bij wisselstroom toestellen de stekker van het netsnoer uit het stopcontact te halen; voor gelijkstroom toestellen dient u de stroom uit te schakelen bij de stroomverbreker.

Varoitus Kytke irti vaihtovirtalaitteiden virtajohto ja katkaise tasavirtalaitteiden virta suojakytkimellä, ennen kuin teet mitään asennuspohjalle tai työskentelet virtalähteiden läheisyydessä.

Attention Avant de travailler sur un châssis ou à proximité d'une alimentation électrique, débrancher le cordon d'alimentation des unités en courant alternatif ; couper l'alimentation des unités en courant continu au niveau du disjoncteur.

Warnung Bevor Sie an einem Chassis oder in der Nähe von Netzgeräten arbeiten, ziehen Sie bei Wechselstromeinheiten das Netzkabel ab bzw. schalten Sie bei Gleichstromeinheiten den Strom am Unterbrecher ab.

Avvertenza Prima di lavorare su un telaio o intorno ad alimentatori, scollegare il cavo di alimentazione sulle unità CA; scollegare l'alimentazione all'interruttore automatico sulle unità CC.

Advarsel Før det utføres arbeid på kabinettet eller det arbeides i nærheten av str¿mforsyningsenheter, skal str¿mledningen trekkes ut pOE vekselstrømsenheter og strømmen kobles fra ved strømbryteren på likestrømsenheter.

Aviso Antes de trabalhar num chassis, ou antes de trabalhar perto de unidades de fornecimento de energia, desligue o cabo de alimentação nas unidades de corrente alternada; desligue a corrente no disjuntor nas unidades de corrente contínua.

¡Advertencia! Antes de manipular el chasis de un equipo o trabajar cerca de una fuente de alimentación, desenchufar el cable de alimentación en los equipos de corriente alterna (CA); cortar la alimentación desde el interruptor automático en los equipos de corriente continua (CC).

Varning! Innan du arbetar med ett chassi eller nära strömförsörjningsenheter skall du för växelströmsenheter dra ur nätsladden och för likströmsenheter bryta strömmen vid överspänningsskyddet.


Electric Shock Warning

fig_24.gif Warning This unit might have more than one power cord. To reduce the risk of electric shock, disconnect the two power supply cords before servicing the unit.

Waarschuwing Dit toestel kan meer dan één netsnoer hebben. Om het risico van een elektrische schok te verminderen, dient u de stekkers van de twee netsnoeren uit het stopcontact te halen voordat u het toestel een servicebeurt geeft.

Varoitus Tässä laitteessa saattaa olla useampi kuin yksi virtajohto. Irrota molemmat virtalähteestä tulevat johtimet ennen laitteen huoltamista, jotta vältät sähköiskun vaaran.

Attention Il est possible que cette unité soit munie de plusieurs cordons d'alimentation. Pour éviter les risques d'électrocution, débrancher les deux cordons d'alimentation avant de réparer l'unité.

Warnung Diese Einheit hat möglicherweise mehr als ein Netzkabel. Zur Verringerung der Stromschlaggefahr trennen Sie beide Netzgerätekabel ab, bevor Sie die Einheit warten.

Avvertenza Questa unità potrebbe essere dotata di più di un cavo di alimentazione. Per ridurre il rischio di scossa elettrica, scollegare i due cavi di alimentazione prima di procedere alla manutenzione dell'unità.

Advarsel Denne enheten kan være utstyrt med mer enn én strømledning. Koble fra de to strømledningene før det utføres reparasjonsarbeid på enheten for å redusere faren for elektriske støt.

Aviso Esta unidade poderá ter mais do que um cabo de alimentação. Para reduzir o risco de choque eléctrico, desligue os dois cabos de alimentação antes de efectuar reparações na unidade.

¡Advertencia! Puede ser que este equipo posea más de un cable de alimentación. Para reducir el riesgo de descarga eléctrica, desenchufar los dos cables antes de proceder al mantenimiento de la unidad.

Varning! Denna enhet kan vara försedd med mer än en nätsladd. För att minska risken för elektriska stötar skall båda nätsladdarna dras ur innan du utför underhållsarbete på enheten.


Chassis Lifting Warning

fig_25.gif Warning Two people are required to lift the chassis. Grasp the chassis underneath the lower edge and lift with both hands. To prevent injury, keep your back straight and lift with your legs, not your back. To prevent damage to the chassis and components, never attempt to lift the chassis with the handles on the power supplies or on the interface processors, or by the plastic panels on the front of the chassis. These handles were not designed to support the weight of the chassis.

Waarschuwing Er zijn twee mensen nodig om het frame op te tillen. Het frame dient onder de onderste rand vastgegrepen en met beide handen omhooggetild te worden. Om te voorkomen dat u letsel oploopt, dient u uw rug recht te houden en met behulp van uw benen, niet uw rug, te tillen. Om schade aan het frame en de onderdelen te voorkomen, mag u nooit proberen om het frame op te tillen aan de handvatten op de voedingen of op de interface-processors of aan de kunststof panelen aan de voorkant van het frame. Deze handvatten zijn niet ontworpen om het gewicht van het frame te dragen.

Varoitus Asennuspohjan nostamiseen tarvitaan kaksi henkilöä. Ota ote asennuspohjan alareunasta ja nosta molemmin käsin. Pitäen selkäsi suorana nosta jalkojen (ei selän) avulla, jotta välttäisit loukkaantumista. Älä yritä nostaa asennuspohjaa virtalähteen tai liitäntäprosessorin kahvoista tai asennuspohjan etuosan muovipaneeleista, jotta estät asennuspohjan ja rakenneosien vaurioitumisen. Näitä kahvoja ei ole suunniteltu kestämään asennuspohjan painoa.

Attention Il faut deux personnes pour soulever le châssis. Le saisir par son rebord inférieur et soulever des deux mains. Pour éviter tout trauma de la région lombaire, garder le dos droit et soulever la charge en redressant les jambes. Pour éviter d'endommager le châssis et ses composants, ne jamais tenter de le soulever par les poignées des blocs d'alimentation ou des processeurs d'interface, ni par les panneaux en plastique à l'avant du châssis. Ces poignées ne sont pas prévues pour supporter le poids du châssis.

Warnung Zum Anheben des Chassis werden zwei Personen benötigt. Fassen Sie das Chassis unterhalb der unteren Kante an und heben es mit beiden Händen an. Um Verletzungen zu vermeiden, ist der Rücken aufrecht zu halten und das Gewicht mit den Beinen, nicht mit dem Rücken, anzuheben. Um Schäden an Chassis und Bauteilen zu vermeiden, heben Sie das Chassis nie an den Kunststoffabdeckungen vorne am Chassis oder mit den Griffen am Netzgerät oder an den Schnittstellenprozessoren an. Diese Griffe sind nicht so konstruiert, daß sie das Gewicht des Chassis tragen könnten.

Avvertenza Il telaio va sollevato da due persone. Afferrare il telaio al di sotto del bordo inferiore e sollevare con entrambe le mani. Per evitare infortuni, mantenere la schiena diritta e sollevare il peso con le gambe, non con la schiena. Per evitare danni al telaio ed ai componenti, non provare mai a sollevare il telaio tramite le maniglie sugli alimentatori o sui processori di interfaccia oppure tramite i pannelli in plastica sulla parte anteriore del telaio. Queste maniglie non sono state progettate per sostenere il peso del telaio.

Advarsel Det er nødvendig med to personer for å løfte kabinettet. Ta tak i kabinettet under den nedre kanten, og løft med begge hender. Unngå personskade ved å holde ryggen rett og løfte med bena, ikke ryggen. Unngå skade på kabinettet og komponentene ved å aldri prøve å løfte kabinettet etter håndtakene på strømforsyningsenhetene, grensesnittprosessorene eller i plastpanelene foran på kabinettet. Disse håndtakene er ikke beregnet på å tåle vekten av kabinettet.

Aviso São necessárias duas pessoas para levantar o chassis. Agarre o chassis imediatamente abaixo da margem inferior, e levante-o com ambas as mãos. Para evitar lesões, mantenha as suas costas direitas e levante o peso com ambas as pernas, sem forçar as costas. Para prevenir danos no chassis e nos seus componentes, nunca tente levantá-lo pelas asas das unidades abastecedoras de energia, nem pelos processadores de interface, ou pelos painéis plásticos localizados na frente do chassis. Estas asas não foram criadas para suportar o peso do chassis.

¡Advertencia! Se necesitan dos personas para levantar el chasis. Sujete el chasis con las dos manos por debajo del borde inferior y levántelo. Para evitar lesiones, mantenga la espalda recta y levántelo con la fuerza de las piernas y no de la espalda. Para evitar daños al chasis y a sus componentes, no intente nunca levantar el chasis por las asas de las fuentes de alimentación o de los procesadores de interfase, ni por los paneles de plástico situados en el frontal del chasis. Las asas no han sido diseñadas para soportar el peso del chasis.

Varning! Det krävs två personer för att lyfta chassit. Fatta tag i chassit under den nedre kanten och lyft med båda händerna. För att undvika skador skall du hålla ryggen rak och lyfta med benen, inte ryggen. Chassit och delarna kan skadas om du försöker lyfta chassit i handtagen på strömförsörjningsenheterna eller gränssnittsprocessorerna, eller i plastpanelerna på chassits framsida. Handtagen är inte konstruerade för att hålla chassits tyngd.


DC Power Disconnection Warning

fig_27.gif Warning Before performing any of the following procedures, ensure that power is removed from the DC circuit. To ensure that all power is OFF, locate the circuit breaker on the panel board that services the DC circuit, switch the circuit breaker to the OFF position, and tape the switch handle of the circuit breaker in the OFF position.

Waarschuwing Voordat u een van de onderstaande procedures uitvoert, dient u te controleren of de stroom naar het gelijkstroom circuit uitgeschakeld is. Om u ervan te verzekeren dat alle stroom UIT is geschakeld, kiest u op het schakelbord de stroomverbreker die het gelijkstroom circuit bedient, draait de stroomverbreker naar de UIT positie en plakt de schakelaarhendel van de stroomverbreker met plakband in de UIT positie vast.

Varoitus Varmista, että tasavirtapiirissä ei ole virtaa ennen seuraavien toimenpiteiden suorittamista. Varmistaaksesi, että virta on KATKAISTU täysin, paikanna tasavirrasta huolehtivassa kojetaulussa sijaitseva suojakytkin, käännä suojakytkin KATKAISTU-asentoon ja teippaa suojakytkimen varsi niin, että se pysyy KATKAISTU-asennossa.

Attention Avant de pratiquer l'une quelconque des procédures ci-dessous, vérifier que le circuit en courant continu n'est plus sous tension. Pour en être sûr, localiser le disjoncteur situé sur le panneau de service du circuit en courant continu, placer le disjoncteur en position fermée (OFF) et, à l'aide d'un ruban adhésif, bloquer la poignée du disjoncteur en position OFF.

Warnung Vor Ausführung der folgenden Vorgänge ist sicherzustellen, daß die Gleichstromschaltung keinen Strom erhält. Um sicherzustellen, daß sämtlicher Strom abgestellt ist, machen Sie auf der Schalttafel den Unterbrecher für die Gleichstromschaltung ausfindig, stellen Sie den Unterbrecher auf AUS, und kleben Sie den Schaltergriff des Unterbrechers mit Klebeband in der AUS-Stellung fest.

Avvertenza Prima di svolgere una qualsiasi delle procedure seguenti, verificare che il circuito CC non sia alimentato. Per verificare che tutta l'alimentazione sia scollegata (OFF), individuare l'interruttore automatico sul quadro strumenti che alimenta il circuito CC, mettere l'interruttore in posizione OFF e fissarlo con nastro adesivo in tale posizione.

Advarsel Før noen av disse prosedyrene utføres, kontroller at strømmen er frakoblet likestrømkretsen. Sørg for at all strøm er slått AV. Dette gjøres ved å lokalisere strømbryteren på brytertavlen som betjener likestrømkretsen, slå strømbryteren AV og teipe bryterhåndtaket på strømbryteren i AV-stilling.

Aviso Antes de executar um dos seguintes procedimentos, certifique-se que desligou a fonte de alimentação de energia do circuito de corrente contínua. Para se assegurar que toda a corrente foi DESLIGADA, localize o disjuntor no painel que serve o circuito de corrente contínua e coloque-o na posição OFF (Desligado), segurando nessa posição a manivela do interruptor do disjuntor com fita isoladora.

¡Advertencia! Antes de proceder con los siguientes pasos, comprobar que la alimentación del circuito de corriente continua (CC) esté cortada (OFF). Para asegurarse de que toda la alimentación esté cortada (OFF), localizar el interruptor automático en el panel que alimenta al circuito de corriente continua, cambiar el interruptor automático a la posición de Apagado (OFF), y sujetar con cinta la palanca del interruptor automático en posición de Apagado (OFF).

Varning! Innan du utför någon av följande procedurer måste du kontrollera att strömförsörjningen till likströmskretsen är bruten. Kontrollera att all strömförsörjning är BRUTEN genom att slå AV det överspänningsskydd som skyddar likströmskretsen och tejpa fast överspänningsskyddets omkopplare i FRÅN-läget.


Lightning Activity Warning

fig_28.gif Warning Do not work on the system or connect or disconnect cables during periods of lightning activity.

Waarschuwing Tijdens onweer dat gepaard gaat met bliksem, dient u niet aan het systeem te werken of kabels aan te sluiten of te ontkoppelen.

Varoitus Älä työskentele järjestelmän parissa äläkä yhdistä tai irrota kaapeleita ukkosilmalla.

Attention Ne pas travailler sur le système ni brancher ou débrancher les câbles pendant un orage.

Warnung Arbeiten Sie nicht am System und schließen Sie keine Kabel an bzw. trennen Sie keine ab, wenn es gewittert.

Avvertenza Non lavorare sul sistema o collegare oppure scollegare i cavi durante un temporale con fulmini.

Advarsel Utfør aldri arbeid på systemet, eller koble kabler til eller fra systemet når det tordner eller lyner.

Aviso Não trabalhe no sistema ou ligue e desligue cabos durante períodos de mau tempo (trovoada).

¡Advertencia! No operar el sistema ni conectar o desconectar cables durante el transcurso de descargas eléctricas en la atmósfera.

Varning! Vid åska skall du aldrig utföra arbete på systemet eller ansluta eller koppla loss kablar.


Chassis Warning---Rack-Mounting and Servicing

fig_13.gif Warning To prevent bodily injury when mounting or servicing this unit in a rack, you must take special precautions to ensure that the system remains stable. The following guidelines are provided to ensure your safety:

    • This unit should be mounted at the bottom of the rack if it is the only unit in the rack.

    • When mounting this unit in a partially filled rack, load the rack from the bottom to the top with the heaviest component at the bottom of the rack.

    • If the rack is provided with stabilizing devices, install the stabilizers before mounting or servicing the unit in the rack.

Waarschuwing Om lichamelijk letsel te voorkomen wanneer u dit toestel in een rek monteert of het daar een servicebeurt geeft, moet u speciale voorzorgsmaatregelen nemen om ervoor te zorgen dat het toestel stabiel blijft. De onderstaande richtlijnen worden verstrekt om uw veiligheid te verzekeren:

    • Dit toestel dient onderaan in het rek gemonteerd te worden als het toestel het enige in het rek is.

    • Wanneer u dit toestel in een gedeeltelijk gevuld rek monteert, dient u het rek van onderen naar boven te laden met het zwaarste onderdeel onderaan in het rek.

    • Als het rek voorzien is van stabiliseringshulpmiddelen, dient u de stabilisatoren te monteren voordat u het toestel in het rek monteert of het daar een servicebeurt geeft.

Varoitus Kun laite asetetaan telineeseen tai huolletaan sen ollessa telineessä, on noudatettava erityisiä varotoimia järjestelmän vakavuuden säilyttämiseksi, jotta vältytään loukkaantumiselta. Noudata seuraavia turvallisuusohjeita:

    • Jos telineessä ei ole muita laitteita, aseta laite telineen alaosaan.

    • Jos laite asetetaan osaksi täytettyyn telineeseen, aloita kuormittaminen sen alaosasta kaikkein raskaimmalla esineellä ja siirry sitten sen yläosaan.

    • Jos telinettä varten on vakaimet, asenna ne ennen laitteen asettamista telineeseen tai sen huoltamista siinä.

Attention Pour éviter toute blessure corporelle pendant les opérations de montage ou de réparation de cette unité en casier, il convient de prendre des précautions spéciales afin de maintenir la stabilité du système. Les directives ci-dessous sont destinées à assurer la protection du personnel :

    • Si cette unité constitue la seule unité montée en casier, elle doit être placée dans le bas.

    • Si cette unité est montée dans un casier partiellement rempli, charger le casier de bas en haut en plaçant l'élément le plus lourd dans le bas.

    • Si le casier est équipé de dispositifs stabilisateurs, installer les stabilisateurs avant de monter ou de réparer l'unité en casier.

Warnung Zur Vermeidung von Körperverletzung beim Anbringen oder Warten dieser Einheit in einem Gestell müssen Sie besondere Vorkehrungen treffen, um sicherzustellen, daß das System stabil bleibt. Die folgenden Richtlinien sollen zur Gewährleistung Ihrer Sicherheit dienen:

    • Wenn diese Einheit die einzige im Gestell ist, sollte sie unten im Gestell angebracht werden.

    • Bei Anbringung dieser Einheit in einem zum Teil gefüllten Gestell ist das Gestell von unten nach oben zu laden, wobei das schwerste Bauteil unten im Gestell anzubringen ist.

    • Wird das Gestell mit Stabilisierungszubehör geliefert, sind zuerst die Stabilisatoren zu installieren, bevor Sie die Einheit im Gestell anbringen oder sie warten.

Avvertenza Per evitare infortuni fisici durante il montaggio o la manutenzione di questa unità in un supporto, occorre osservare speciali precauzioni per garantire che il sistema rimanga stabile. Le seguenti direttive vengono fornite per garantire la sicurezza personale:

    • Questa unità deve venire montata sul fondo del supporto, se si tratta dell'unica unità da montare nel supporto.

    • Quando questa unità viene montata in un supporto parzialmente pieno, caricare il supporto dal basso all'alto, con il componente più pesante sistemato sul fondo del supporto.

    • Se il supporto è dotato di dispositivi stabilizzanti, installare tali dispositivi prima di montare o di procedere alla manutenzione dell'unità nel supporto.

Advarsel Unngå fysiske skader under montering eller reparasjonsarbeid på denne enheten når den befinner seg i et kabinett. Vær nøye med at systemet er stabilt. Følgende retningslinjer er gitt for å verne om sikkerheten:

    • Denne enheten bør monteres nederst i kabinettet hvis dette er den eneste enheten i kabinettet.

    • Ved montering av denne enheten i et kabinett som er delvis fylt, skal kabinettet lastes fra bunnen og opp med den tyngste komponenten nederst i kabinettet.

    • Hvis kabinettet er utstyrt med stabiliseringsutstyr, skal stabilisatorene installeres før montering eller utføring av reparasjonsarbeid på enheten i kabinettet.

Aviso Para se prevenir contra danos corporais ao montar ou reparar esta unidade numa estante, deverá tomar precauções especiais para se certificar de que o sistema possui um suporte estável. As seguintes directrizes ajudá-lo-ão a efectuar o seu trabalho com segurança:

    • Esta unidade deverá ser montada na parte inferior da estante, caso seja esta a única unidade a ser montada.

    • Ao montar esta unidade numa estante parcialmente ocupada, coloque os itens mais pesados na parte inferior da estante, arrumando-os de baixo para cima.

    • Se a estante possuir um dispositivo de estabilização, instale-o antes de montar ou reparar a unidade.

¡Advertencia! Para evitar lesiones durante el montaje de este equipo sobre un bastidor, o posteriormente durante su mantenimiento, se debe poner mucho cuidado en que el sistema quede bien estable. Para garantizar su seguridad, proceda según las siguientes instrucciones:

    • Colocar el equipo en la parte inferior del bastidor, cuando sea la única unidad en el mismo.

    • Cuando este equipo se vaya a instalar en un bastidor parcialmente ocupado, comenzar la instalación desde la parte inferior hacia la superior colocando el equipo más pesado en la parte inferior.

    • Si el bastidor dispone de dispositivos estabilizadores, instalar éstos antes de montar o proceder al mantenimiento del equipo instalado en el bastidor.

Varning! För att undvika kroppsskada när du installerar eller utför underhållsarbete på denna enhet på en ställning måste du vidta särskilda försiktighetsåtgärder för att försäkra dig om att systemet står stadigt. Följande riktlinjer ges för att trygga din säkerhet:

    • Om denna enhet är den enda enheten på ställningen skall den installeras längst ned på ställningen.

    • Om denna enhet installeras på en delvis fylld ställning skall ställningen fyllas nedifrån och upp, med de tyngsta enheterna längst ned på ställningen.

    • Om ställningen är försedd med stabiliseringsdon skall dessa monteras fast innan enheten installeras eller underhålls på ställningen.


Ramp Warning

fig_14.gif Warning Do not use a ramp inclined at more than 10 degrees.

Waarschuwing Gebruik een oprijplaat niet onder een hoek van meer dan 10 graden.

Varoitus Älä käytä sellaista kaltevaa pintaa, jonka kaltevuus ylittää 10 astetta.

Attention Ne pas utiliser une rampe dont l'inclinaison est supérieure à 10 degrés.

Warnung Keine Rampen mit einer Neigung von mehr als 10 Grad verwenden.

Avvertenza Non usare una rampa con pendenza superiore a 10 gradi.

Advarsel Bruk aldri en rampe som heller mer enn 10 grader.

Aviso Não utilize uma rampa com uma inclinação superior a 10 graus.

¡Advertencia! No usar una rampa inclinada más de 10 grados.

Varning! Använd inte ramp med en lutning på mer än 10 grader.


Cisco Information Online

Cisco Information Online (CIO) is Cisco Systems' primary, real-time support channel. Maintenance customers and partners can self-register on CIO to obtain additional content and services.

Available 24 hours a day, 7 days a week, CIO provides a wealth of standard and value-added services to Cisco's customers and business partners. CIO services include product information, software updates, release notes, technical tips, the Bug Navigator, configuration notes, brochures, descriptions of service offerings, and download access to public and authorized files.

CIO serves a wide variety of users through two interfaces that are updated and enhanced simultaneously---a character-based version and a multimedia version that resides on the World Wide Web (WWW). The character-based CIO (called "CIO Classic") supports Zmodem, Kermit, Xmodem, FTP, Internet e-mail, and fax download options, and is excellent for quick access to information over lower bandwidths. The WWW version of CIO provides richly formatted documents with photographs, figures, graphics, and video, as well as hyperlinks to related information.

You can access CIO in the following ways:

  • WWW: http://www.cisco.com

  • Telnet: cio.cisco.com

  • Modem: From North America, 408 526-8070; from Europe, 33 1 64 46 40 82. Use the following terminal settings: VT100 emulation; data bits: 8; parity: none; stop bits: 1; and baud rates up to 14.4 kbps.

For a copy of CIO's Frequently Asked Questions (FAQ), contact ciohelp@cisco.com. For additional information, contact cioteam@cisco.com.

fig_6.gif

HomeTOCPrevNextGlossSearchHelp
-

Copyright 1988-1996 © Cisco Systems Inc.