Banner
HomeTOCPrevNextGlossSearchHelp

PDF

Table of Contents

Repair and Replacement

Repair and Replacement

Repair and Replacement


Introduction

This chapter describes periodic maintenance procedures, troubleshooting procedures, and the replacement of major BPX components.

fig_7.gif Caution For protection against shock hazard, verify both power cords are disconnected before servicing unit.

fig_12.gif Caution Vergewissern sie sich, däss beide Netzkäbel vom Gerät getrennt sind, bevor Sie mit den Wärtungsärbeiten beginnen.

fig_1.gif Caution Pour iviten tout danger, dibrancher les deux cordons d'alimentation avant toute intervention de maintenance sur cet equipement.


Preventive Maintenance

Most monitoring and maintenance of the BPX is done via the BPX operating system software. Preventive maintenance of the BPX hardware is minimal and requires only the following:

  1. Periodically check the node supply voltage and internal cabinet temperature with the dspasm command. It should not exceed 50° C.

  2. Periodically check the event log with the dsplog command.

  3. Periodically check the network alarm status with the dspalms command.


Troubleshooting the BPX

This section describes basic troubleshooting steps to be taken for some of the more obvious node failures (refer to Table 4-1). This is not an exhaustive set of procedures, and does not take into account any of the diagnostic or network tools available to troubleshoot the BPX. Refer to the "Troubleshooting Commands" chapter in the Command Reference Manual for information on commands and command usage.

fig_2.gif Caution Do not perform any disruptive tests or repairs to the BPX on your own. Before proceeding with troubleshooting, call StrataCom ISC so they can provide you with assistance in locating the fault and provide repair information. Refer to Appendix D for ISC phone numbers.


General Troubleshooting Procedures

The BPX runs self tests continuously to ensure proper function. When the node finds an error condition that affects its operation, it downs the card or trunk affected. It then selects a standby card or alternate trunk if one is available.

The FAIL indicators on the cards indicate that the system has found these cards defective in some mode, and now considers them as failed cards. It is at this point that you would use Table 4-1 to find the cause and obtain the information on replacing the failed component.

fig_3.gif Caution When using Table 4-1 for troubleshooting, call StrataCom ISC before performing any disruptive testing, or attempting to repair the BPX. This ensures that you have isolated the correct problem area. It also enables ISC personnel to provide assistance in performing the necessary procedures.

fig_10.gif Warning Contact StrataCom ISC before attempting to replace fuses on backplane, and refer to instructions in Replacing Card Slot and Fan Fuses on the System Backplane.

Figure 4-1 : Troubleshooting the BPX Node

Symptom Probable Cause Remedy
Front panel LED on individual card not lighted Card Fuse Check card fuse. Replace if defecive.

Try another card of the same type. If still no LED lighted, backplane card slot fuse may be defective. Refer to Replacing Card Slot and Fan Fuses on the System Backplane.
No front panel LEDs are lighted. AC Systems:

  • Circuit Breakers on AC Power Supply Tray

DC Systems

  • Circuit breakers on Power Entry Module(s) switched off.
Switch on circuit breakers. If problem persists, pull all cards and power supplies out to see if a shorted card or supply exists.
BPX power cord plug dislodged from AC receptacle. Check that no one is working on system, shut off source breaker, then reconnect power cord.
Power supply ac LED lit but dc LED not lit. Power supply defective. Check DC ok LEDs on ASM. If out, remove and replace power supply. If on, PS LED probably defective.
Card front panel fail LED lit Card failed self-test. Check status of card at NMS terminal using dspcds screen. If alarm confirmed, try card reset (resetcd command). Finally, remove and replace the card.
Card stby LED on. Card is off-line. Not a problem as long as primary card is active.
ASM major or minor LED on. Service-affecting (major) or non-service affecting (minor) system fault. Check NMS event log to identify problem reported.
Failed card in local node. See remedy for card fail LED indication.
Network trunk failed. Observe Port LEDs on each BNI.
Use NMS dsptrk to locate failure.
Failure in remote node. May be another BPX or an IPX. Use NMS dspnw screen to locate node in alarm. Refer to Troubleshooting Commands in the Command Reference for additional information.
Internal temperature is higher than normal resulting from blocked air flow or defective fan. Check front and back of node cabinet for freedom of air flow. Replace any fan that may have failed or slowed. Use NMS dsppwr screen to check node temperature.
ASM hist LED lit. If no other alarm indications, a fault occurred in the past but has been cleared. Press ASM history clear button. Check NMS event log to determine cause.
BNI Port LED is red or orange. Trunk is in local or remote alarm. Use NMS dsptrk screen to confirm trouble. Use short BNC loopback cable at LM-BNI connectors for local test of trunk. Loop trunk at DSX-3 crossconnect to check cable.
No BNI card or port LED on. No trunks on card are upped. Card not necessarily failed. Up at least one of the three trunks associated with the card.
ASI Port LED is red or orange. Line is in local or remote alarm. Use NMS dsplns screen to confirm trouble.
No ASI card or port LED on. No lines on card are upped. Card not necessarily failed. Up at least one of the two lines associated with the card.
BCC fail LED flashing Downloading system software or configuration data. Wait for download to complete.
BCC LAN LED flashing Normal for node connected to NMS terminal over Ethernet. If it does not flash, there may be problems with node to NMS data path. Check that the cabling to the NMS is firmly connected to the LAN port on the LM-BCC back card. An alternate connection is to the control port.
No BCC card LED on. Preparing to download new software (momentary condition). Wait for download to begin.
Command issued to run a software rev. that was not available in the network. Check that proper s/w rev. is available on another node or on NMS.


Displaying the Status of Cards in the Node

When a card indicates a failed condition on the alarm summary screen, use the Display Cards (dspcds) command to display the status of the circuit cards on a node. The information displayed for each card type includes the card slot number, software revision level, and the status of the card. The possible status description for each card type are listed in Table 4-1. Refer to the Command Reference for more information on the Display Cards command.

Table 4-1 : Card Status for the BPX

Card Type Status1 Description
All card types Active Active card
Active - F Active card with no terminal failure.
Standby Standby card
Standby - F Standby card with no terminal failure.
Standby - T Standby card performing diagnostics.
Standby - F -T Standby card with no terminal failure performing diagnostics.
Failed Card with terminal failure.
Unavailable Card is present but it may be in one of the following states:
a. The node does not recognize the card.
b. The card is running diagnostics.
Down Downed card.
Empty No card in that slot.
BCC Same status as for all card types, plus:
Updating Standby BCC downloading the network configuration from an active PCC.
Note: Red FAIL LED flashes during updating.
Cleared BCC is preparing to become active.
Downloading Software There are downloader commands that appear when the system is down- loading software to the BCC.
Minor BCC Redundancy alarm indicates node is configured for redundancy but no standby BCC is equipped.

1 Cards with an F status (no terminal failure) are activated only when necessary. Cards with a failed status are never activated.


Replacing Parts

After an alarm occurs, use the BPX software to isolate the problem. (Refer to Troubleshooting the BPX for troubleshooting information). If an BPX part has failed, then it must be replaced.

fig_4.gif Caution Only authorized personnel should remove and replace parts on the BPX system.

Parts should be replaced only by qualified personnel who have taken the StrataCom training courses or have been trained by a qualified system manager. For assistance in diagnosing or replacing a failed part, call the StrataCom ISC representative.

When replacing a part, save the electrostatic bag, foam, and carton that the new part comes in. These packaging materials are needed for returning the failed part to StrataCom. Refer to Appendix D, "Customer Support" for instructions on ordering and returning BPX parts.


Replacing a Front Card

The BPX front cards are as follows:

Caution Ground yourself before handling BPX cards by placing a wrist strap on your wrist and clipping the wrist strap lead to the cabinet.

When a card has failed, the red FAIL indicator for that card turns on. Before replacing it, check to see if the card only needs to be reseated. After reseating the card, wait for it to run its self-tests to see if the ACTIVE light comes on. If the card is seated correctly, but the FAIL light is still on, replace the card.

To remove a front card, perform the following steps:

Step 1 If the front panel fail lamp is on, remove the card and go to Step 3. Otherwise, go to Step 2.

Step 2 Check the status of the card using the dspcd or dspcds commands. It should be failed or standby if the node is actively carrying traffic.

Step 3 If an active card (ASI, BNI) needs to be replaced, "down" it first with the dncd command. Removing an active card affects operation only slightly if there is a standby card.

Step 4 If a BCC has failed, the other BCC will switch from standby mode to active. Use the dspcd command to verify that the standby BCC has entered the active mode. Then you can remove the failed BCC.

fig_11.gif Caution Never remove the active BCC until the standby BCC has entered the "active" mode. Using the dspcd command is the only reliable way to determine that the standby BCC has finished updating and has entered the "active" mode.

Step 5 Unlatch the Air Intake Grille. Locate the small access hole in the top, center of the Air Intake Grille.

Step 6 Fully insert a medium, flat-bladed screwdriver in the access hole.

Step 7 Rotate the screwdriver to release the spring latch holding the grille.
(Figure 4-2). The top of the grille should pop out.

Step 8 Tilt the grille forward to approximately a 45° angle.

Step 9 Put on a wrist strap to discharge any static.

Step 10 Rotate the top and bottom card extractors on the front of the card.

Step 11 Hold the card at the top and bottom and gently slide it out of the slot.

To install a front card in the BPX, perform the following steps:

Step 1 Unlatch the Air Intake Grille as described in Step 5 through Step 8 of the previous procedure for removing the front card.

Step 2 Remove the replacement card from the antistatic shipping container.

Step 3 Hold the replacement card at top and bottom and gently insert it over the guides, and slide it all the way to the rear of the cabinet.


Note The card should slide in easily with a light sliding friction from the EMI gaskets on adjacent cards. If it does not, check to see if there is anything restricting it---do not use excessive force.

Step 4 Rotate the top and bottom latches on the card and push the card into the rear connector. You will feel the card seat itself as you push it in.

Step 5 Press firmly on the top and bottom extractors to complete the card seating process. The extractor should snap back to a vertical position after the card is properly seated.

Step 6 Replace the air intake grille by swinging it up and pressing in at the top until the latch snaps into place.

Figure 4-2 : Unlatching the Air Intake Grille

h8001.gif


Replacing a Line Module

The configuration of the back card may be slightly different depending on whether it is a single card or redundant card configuration. A standby card in a redundant card configuration may be removed without disrupting system operation even if it is a BCC. Removing a single card, however, will cause a system outage.

fig_6.gif Caution Removing an active, single back card disrupts service on the node.

To remove a line module, perform the following steps:

Step 1 Check the status of the card using the dspcd or dspcds command. It should be failed or standby or replacement will affect operation of the node.

Step 2 If an active card needs to be replaced, "down" it first with the dncd command. Removing an active card affects operation only slightly if there is a standby card.

Step 3 Before removing a LM-BCC, make sure the standby BCC stby indicator is on steady. A flashing stby indicator indicates it is in the process of downloading either configuration data or software and is not ready to accept a transfer.

Step 4 For a single card configuration, disconnect the cables from the back card face plate. Make a note of the location of each cable so that it can be replaced correctly.

Step 5 For a redundant card configuration, disconnect the appropriate leg of the Y-cable connecting to the back card to be replaced. DO NOT REMOVE THE OTHER LEG GOING TO THE BACKUP CARD.

Step 6 Loosen the two captive screws on the back card faceplate and, pulling on the top and bottom card extractors, slide the card straight out of the shelf slot. See
Figure 4-3.

To install a line module, perform the following steps:

Step 1 Insert the line moduel (e.g., LM-3T3) into the slot from which the defective card was removed (see Figure 4-3).

Step 2 Tighten the two captive screws (Tighten securely, but do not overtighten.)

Step 3 Reconnect the T3 trunk cables to the LM-3T3 connectors from which they were disconnected.

Step 4 Perform the appropriate steps to bring the lines that were disconnected back on line.

Figure 4-3 : Removing a Line Module

h8005.gif


Replacing a DC Power Entry Module

DC Power Entry Modules (PEMs) contain few active components so they should rarely need replacement. Access is from the back of the node. To remove a PEM, proceed as follows:

Step 1 If you haven't already done so, check the node system voltage by using the Display Power (dsppwr) command. Note which input has failed, A or B. Power Supply A is the unit on the right side facing the rear of the node.

Step 2 Turn off the primary source of power to the PEM to be replaced.

Step 3 Turn off the circuit breaker on the PEM to be replaced.

Step 4 Remove the two screws holding the conduit box cover (Figure 4-4). Or, remove the plastic cover plate over the input terminal block.

Step 5 Remove the power input wiring at the PEM terminal block.

Step 6 If a conduit box is used, remove it. Remove the ground screw above the middle terminal block connector (Figure 4-4).

Figure 4-4 : DC Power Entry Module with Conduit Box

h8212.gif

Step 7 Remove the two standoffs on each side of the terminal block. and pull the conduit box straight back. Set it aside. Do not try to remove the terminal block.

Step 8 Loosen the two captive screws (at the bottom corners) holding the PEM. Loosen the two connector jackscrews adjacent to the finger pull.

Step 9 Grasp the finger pull lip at the top of the PEM and pull the unit straight out.

Step 10 Replacement is the reverse of removal.


Replacing an AC Power Supply

BPX nodes are powered by redundant power supplies; either power supply can supply the current requirements of the node. The AC Power Supply is part of an assembly which is replaced as a single unit. Access to the AC Power Supply assembly is from the front, but first, the Air Intake Grille must be removed.

To remove a power supply, proceed as follows:

Step 1 If you haven't already done so, check the status and output voltage of the power supplies at the node using the dspasm command. Note which power supply is failed, A or B. Power supply A is on the right side facing the rear of the node.

Step 2 Remove the Air Intake Grille. Locate the small access hole in the top, center of the Air Intake Grille.

Step 3 Fully insert a flat-bladed screwdriver (with a 1/4 in. blade) in the access hole.

Step 4 Rotate the screwdriver to release the spring latch holding the Air Intake Grille (Figure 4-5). The grille should pop out.

Figure 4-5 : AC Power Supply Assembly

h8036.gif

Step 5 Tilt the grille forward approximately a 45° angle, then lift if out and set it aside. This exposes the power supply retainer bracket.

Step 6 With a flat-bladed screwdriver, loosen the retainer bracket hold-down screw in the center of the bracket and tilt the bracket.

Step 7 Identify which power supply needs replacement. Power supply A is the unit on the left, B is on the right. In most cases, the failed unit will be identified by a front panel lamp indication.

Step 8 There are two power supply securing fasteners, one on each side of the power supply assembly (Figure 4-5). The one on the left of each supply is a spring-loaded pin, the one on the right of each supply is a normal thumb-screw. Loosen the thumb-screw on the right.

Step 9 With the right hand, grip the power supply under the front panel. With the left hand, pull out the spring-loaded pin on the left side of the supply and hold it out as you pull out the power supply assembly.

Step 10 The power supply assembly weighs approximately 15 pounds (33 Kgs.). Get ready to support the bottom of the power supply with your free hand as you continue to pull it straight out, until it is free of the shelf.


Field-Installing a Second AC Power Supply

To field-install a redundant power supply, perform the following steps:

Step 1 If the front Air Intake Grille has already been removed, go to the next step. If not, remove it using Step 2 through Step 6 of the previous procedure (refer to Replacing an AC Power Supply section).

Step 2 If converting a node from single to redundant powering, first remove the blank filler panel over position B (right side). With Air Intake Grille open, remove three screws attaching the filler panel to the retainer bracket (see Figure 4-6).

Figure 4-6 : Removing Blank Filler Panel (B side shown)

h8037.gif

Step 3 Slide a replacement power supply assembly into the tracks of the power supply shelf.

Step 4 When the power supply is completely seated, the spring-loaded pin will snap into place to assure that the power supply has mated with its connector.

Step 5 Screw in the thumb-screw on the right side of the power supply assembly until it is finger tight.

Step 6 Flip the retaining bracket up and tighten its thumbscrew.

Step 7 Reinstall the Air Intake Grille and press firmly on the top, center of the Air Intake Grille until the latch snaps into place.

Step 8 Check the status and output voltage of the replacement power supply using the dspasm command. Make sure the status is OK and the output voltage is 48V.


Replacing the Fan Assembly

The Fan Assembly provides the primary cooling for the BPX node and is located at the top, rear of the BPX cabinet. There are three fans in the Fan Assembly. The fan on the right (#1) and the one on the left (#3) can be changed out individually with very little effort or interruption in the operation of the node. The fan in the middle (#2) requires powering down the node and removing the Fan Assembly to replace.

fig_8.gif Caution You must work quickly to prevent heat buildup in the node which could damage the cards.

To replace fan #1 or #3 in the Fan Assembly, perform the following steps:

Step 1 Use the dspasm command to check the status of the three fans.

Step 2 From the rear of the BPX cabinet, visually check that the fan(s) is indeed not turning or turning slowly.

Step 3 From the back of the cabinet, unplug the small fan power cord from its appropriate receptacle on the Fan Assembly.

Step 4 Remove the two screws holding the fan and the fan shield to the-fan housing. Be careful not to drop the hardware into the rear of the cabinet.

Step 5 Remove the fan. Replace the fan in reverse order. Use the existing fan grille.

To replace fan #2 requires powering down the node and replacing the whole Fan Assembly. Under normal ambient room temperatures, this can be scheduled for the next available quiet time. Perform the following steps:

Step 1 Use the dspasm command to check the status of the three fans.

Step 2 From the rear of the BPX cabinet, visually check that the fan #2 is indeed not turning or turning slowly.

Step 3 At the rear of the BPX cabinet, turn the circuit breaker(s) OFF to power down the node.

Step 4 Loosen the eight captive screws holding the Fan Assembly in place.

Step 5 With one hand, pull the Fan Assembly back just far enough to gain access to the Fan Assembly power cord. This cord connects to the Fan Assembly to the backplane.

Step 6 Unplug the power cord and remove the Fan Assembly.

Step 7 Plug the power cord in the replacement Fan Assembly into the backplane connector.

Step 8 Install the replacement Fan Assembly.

Step 9 Tighten the eight screws holding the Fan Assembly in place.


Replacing the Temperature Sensing Unit

The temperature sensing unit is located on the ASM card. If the temperature indication using the dspasm command does not appear to be correct, try a replacement ASM card.


Replacing Card Slot and Fan Fuses on the System Backplane

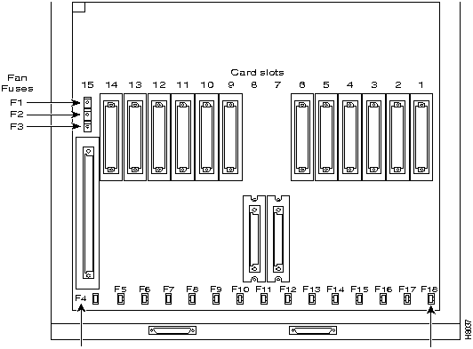
There is a separate fuse provided on the System Backplane for each card slot. These fuses are numbered F4 through F18, corresponding to card slots F15 down through F1 respectively (Figure 4-7). There three separate fan fuses provided on the System Backplane. These fuses are numbered F1 through F3, corresponding to Fans 1 through 3 (Figure 4-7).

fig_9.gif Warning For both personnel safety and to prevent equipment damage, power down the BPX node before replacing, fan fuses F1 through F3, or card slot fuses F4 through F18 on the System Backplane. For continued protection against risk of fire, replace only with same type and rating of fuse.

Backplane fuses rarely, if ever, need replacement. Backplane fuses are intended to prevent catastrophic damage to the backplane in the event of accidental shorting of -48VDC on the backplane to chassis ground. This type of event could be caused by bent backplane pins, inadvertent contact of conductive elements (EMI Cans, EMI Gaskets, etc.) to power pins, or (in the case of a fan fuse) a pinched wire harness.

These fuses are located in sockets on the backplane and are therefore not readily accessible. A special tool (StrataCom P/N 218090-00) and a special set of instructions are required for fuse replacement. It is recommended that only factory-trained personnel perform the procedure. Contact StrataCom ISC for further information.

Figure 4-7 : Card Slot and Fan Fuse Locations on System Backplane

h8158.gif

HomeTOCPrevNextGlossSearchHelp
-

Copyright 1988-1996 © Cisco Systems Inc.