Banner
HomeTOCPrevNextGlossSearchHelp

PDF

Table of Contents

About LightStream 2020 Traps

About LightStream 2020 Traps

About LightStream 2020 Traps

This chapter provides an overview of trap messages generated by the LightStream 2020 multiservice ATM switch (LS2020 switch). It describes how traps are generated, the types of traps generated, their formats, and their relative priorities.

Traps inform you of network events. When a network event occurs, the LS2020 switch sends a trap message, or possibly a series of messages, to one or more user-specified destinations, such as the network management station (NMS) or a log file on the switch. A trap may notify you of a serious condition that requires immediate corrective action, or it may give you information that, while important, does not require any action. You can initiate further interaction with an LS2020 switch to determine the nature and extent of the event signaled by the trap.

Another aspect of traps is called trap filter levels. By changing trap filter levels, you can control which traps are viewed where. This allows you, for instance, to save some traps in the traps log, view other traps on your console, and view still others on your NMS.


How Traps Are Generated and Reported

Figure 1-1 shows the flow of traps through the LS2020 system. Traps are passed from software processes to another process called the master management agent (MMA). By default, the MMA writes the traps to a log file on the switch's network processor (NP). From there, traps are sent to the local console, if one is present. Traps can also be displayed on one or more NMSs, as well as on a terminal running the CLI.


Note Only one instance of the CLI can run on the NMS at any given time.

By default, a switch sends traps only to its trap log and to its local console. However, you can configure a switch to send traps to another NP or to an NMS for viewing. You can do that if you want to collect traps for all the switches in the network in a single place or to send traps to as many as 25 different destinations in the network. See the LightStream 2020 Installation Guide for information about changing trap delivery addresses.

You can also copy a switch's trap log to an NMS or workstation and view it there. See the section entitled "Moving the Trap Log from the NP" in the chapter "Managing LightStream 2020 Traps" for information about copying the trap log to another LS2020 system.

Figure 1-1 : The Paths Traps Travel in a LightStream 2020 System

h3455.gif


Trap Messages

This section describes the types of traps generated by an LS2020 switch and the format of those traps.


Trap Types

LS2020 switches generate five types of traps:

SNMP Traps---Are the standard SNMP traps defined by the SNMP MIB-2 specifications. They are used by LS2020 network operators. These traps are displayed as "generic" traps in the log file. For more information, see the chapter entitled "SNMP Traps." The following is an example of an SNMP trap:

(GENERIC) at 06/19/96 17:10:40 EDT (06/19/96 21:10:40 GMT)
Link Up Trap at 06/19/96 17:10:40 EDT (06/19/96 21:10:40 GMT)
Port 8001

Operational Traps---Provide information on key system components. These traps are of primary interest to network operators. For more information, see the chapter entitled "Operational Traps."

The following is an example of an operational trap:

(OPER) NDD_3 at 06/06/96 11:03:57 EDT (06/06/96 15:03:57 GMT)
Line Card lstb1:6 (LS-EDGE) up.

Operational traps are divided into three categories:

Within each software process, operational traps are numbered from 1 to 1999. Traps numbered from 1000 to 1999 are generally not documented here, because your only response in such cases is calling your customer service representative.

Informational Traps---Provide supplemental details on problems reported by some operational and SNMP traps. Informational traps are used by customer support representatives to do troubleshooting and software debugging. For more information, see the chapter entitled "Informational Traps."

The following is an example of an informational trap:

(INFO) NPTMM_2020 at 06/06/96 11:03:56 EDT (06/06/96 15:03:56 GMT)
Slot 8 State Changed From DOWN To UP

Within each software process, informational traps are numbered from 2000 to 2999.

Trace Traps---Are used to track a sequence of actions through a process. Customer support representatives use trace traps to do advanced troubleshooting and software debugging. Within each software process, trace traps are numbered from 3000 to 3999. Because trace traps are not intended for customer use, they are not discussed in detail in this manual.

Debug Traps---Are used to find and solve serious software problems in an LS2020 switch. Debug traps are used by customer support representatives and developers. Within each software process, debug traps are numbered from 4000 to 4999. Because debug traps are not intended for customer use, they are not discussed in detail in this manual.


Trap Formats

Two trap formats have been defined for the LS2020 switch, one for SNMP standard traps and one for enterprise-specific traps.

The SNMP trap format is defined by prevailing MIB-2 specifications. Enterprise-specific traps pertain only to the LS2020 switch. Figure 1-2 shows a sample trap display from nodes called Light1 and Light6. The display contains both SNMP standard and enterprise-specific traps.

If you are using an NMS to display traps, the display may differ somewhat in format from that shown in Figure 1-2, but the content will be identical.

Standard SNMP traps include the following information:

Figure 1-2 : Examples of SNMP Standard and Enterprise-Specific Traps

h4874.gif

Enterprise-specific traps (that is, operational, informational, trace, and debug traps) contain the following information:

Trace and debug traps also include the process identification (PID) number and process alias name for the process in which the trap occurred.


Trap Filter Levels

Because an LS2020 switch is capable of reporting a vast amount of information, you may want to adjust the number of traps that are logged or displayed.

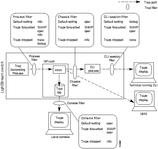
As shown in Figure 1-1, trap messages travel distinct routes to any of several destinations: the trap log, the console, the terminal running a CLI session, or the NMS. On their journey, traps encounter filters. These filters, shown in Figure 1-3, limit the type of traps that reach the device.

With default settings, the traps' journey looks like this:

  1. When the traps reach the process filter, it drops trace and debug traps and allows info, oper, and SNMP traps to proceed to the MMA.

  2. The MMA sends the info, oper, and SNMP traps to both the console filter (by way of the trap log) and the chassis filter.

  3. Both the console filter and the chassis filter drop info traps, so that only oper and SNMP traps proceed. Traps that pass through the console filter are displayed on the local console. Traps that pass through the chassis filter are displayed on an NMS and forwarded to the CLI session filter.

Figure 1-3 : Traps Filter Levels and Default Settings

h4880.gif

  1. Any traps that make it to the CLI session filter are allowed to proceed; thus, both oper traps and SNMP traps are displayed on the terminal running the CLI session.

You set the filters in the CLI, by assigning a trap filter level to each filter. There are four trap filter levels:

Procedures for managing traps are in the chapter entitled "Managing LightStream 2020 Traps." That chapter explains how to change the trap filter levels or override the settings for individual trap numbers.

HomeTOCPrevNextGlossSearchHelp
-

Copyright 1988-1996 © Cisco Systems Inc.