|
|
This chapter describes the standard and optional network services (features) supported by networks utilizing the BPX Service Node, and the IGX, and IPX nodes. Standard features are bundled with the base nodes. Optional features can be purchased separately and must be enabled by Cisco Customer Service Support before they become operational.
This chapter contains the following:
Broadband trunks, trunks that operate at rates exceeding T1, provide the extra network bandwidth required by rapidly-expanding networks. For example, the 45 Mbps. T3 trunks can carry approximately 28 times as much traffic as a T1 trunk. The BPX supports even greater bandwidth with OC-3/STM-1 (155.52 Mbps) and OC-12/STM-4 (622.08 Mbps) rates.
Broadband trunks can be used as high-speed links between BPXs to create ATM networks or they can connect directly to IPX and IGX nodes, to IPX and AXIS shelves, to the EdgeConnect, and to CPE. Each broadband network trunk is monitored for signal quality with user-set thresholds for alarm reporting. Trunk load and utilization statistics are accumulated for display by the network administrator.
A broadband network trunk interface, operating at T3 or E3 rates, is provisioned on IPX nodes by equipping it with an AIT (ATM Interworking Trunk) card and associated back card and on an IGX by equipping it with a BTM (Broadband Trunk Module) and associated backcard. This feature allows users of existing IPX/IGX networks to economically migrate to ATM and higher bandwidths by adding one card to each IPX node.
The ATM trunk interface permits the IPX to transmit data using ATM cell relay at speeds up to 45 Mbps. Assigned trunk bandwidth can be as low as one T1 data rate and can be increased in T1 or E1 increments up to the full T3 or E3 rate.
The ATM trunk interface permits the IGX to transmit data using ATM cell relay at speeds up to 45 Mbps. Assigned trunk bandwidth can be as low as one T1 data rate and can be increased in T1 or E1 increments up to the full T3 or E3 rate.
The BPX provides BXM-622 and BXM-155 cards which may be configured for either trunk or port (service access) mode, as well as BNI cards.
The BXM-622 cards are either one or two port cards with each port operating at a 622.08 Mbps rate, corresponding to 1,412,830 cells per second at the full OC-12 rate.
By using a full complement of BNI cards, the BPX can provide up to thirty-two high-speed trunks per node making it an excellent candidate for an ATM tandem switch. Each T3 ATM port conforms to the Bellcore specifications for DS3 and has a bandwidth capacity of 96,000 cells per second. Each E3 port conforms to ITU-T G.804 interface specification and has a capacity of up to 80,000 cells per second. Each OC3/STM-1 port has a capacity of up to 353,208 cells per second. and conforms to SONET/SDH specifications.
For users who may need T3 or E3 capacity in the future but currently can only justify, and have access to T2 trunks, StrataCom can provide a T3 to T2 adapter to be used with the BPX or IPX. This adapter interfaces directly to a IPX or BPX T3 port on the node side and to a 6.312 Mbps T2 facility on the line side. The capacity of a T2 facility is 14,490 cells per second, approximately four times the bandwidth of a T1 line.
The IPX and IGX nodes support various narrowband network trunk interfaces:
These trunk types interface with the majority of standard digital trunking types available throughout the world. For linking sites with a small amount of traffic, the fractional T1 and subrate trunks provide an economical solution yet are fully compatible with nodes using higher bit rate trunks. T1 trunks provide a capacity of 8,000 packets/second while framed E1 can carry up to 10,333 packets/second. Fractional T1 trunks use only as many T1 64-Kbps channels as needed, instead of using a full T1 trunk. Subrate trunks use only a portion of the bandwidth of an E1 or T1 trunk and are used for special purposes such as satellite hub access.
Broadband ATM network connections are switched by BPX nodes. ATM connection services are established in StrataCom broadband networks by adding ATM connections between ATM service interface ports in the network. ATM permanent virtual circuits (PVCs) can originate and terminate on the ASI (ATM Service Interface) cards on the BPX, on Monarch BXM-155 (OC-3) and BXM-622 (OC-12) cards configured for Port (UNI) operation, or on the AXIS shelf (using the AUSM card for the AXIS). Frame relay to ATM Network interworking connections are supported between either BXM or ASI cards to the IPX, IGX, or AXIS. In addition, frame relay to ATM sevice interworking connections are supported between either BXM or ASI cards to FRSM cards on the AXIS shelf.
The Monarch BXMcards conform to ATM Forum UNI v3.1 and support the full range of service types specified by ATM Forum Traffic Management 4.0. Traffic Management. The Monarch BXM cardds are designed to support all the following service classes: Constant Bit Rate (CBR), Variable Bit Rate (VBR), Available Bit Rate (ABR with VS/VD, ABR without VS/VD, and ABR using Foresight), and Unspecified Bit Rate (UBR). ABR with VS/VD supports explicit rate marking and Congestion Indication (CI) control. The Monarch cards support up to 16 classes of service. Additional queues are provided for ABR type connections. Egress queues include 32 virtual interface queues, each of which supports 32 VI Qbin queues.
For connections using the ASI-1 card, StrataCom's dynamic closed-loop, rate-based ForeSight algorithm may be selected to provide a dynamic congestion control and to optimize bandwidth utilization.Ingress queue size for each card is available up to a maximum of 64,000 cells and can be allocated between the two ports in any manner. On the ASI-155 two separate egress queues are provided; one for CBR and one for VBR.
Narrowband T1/E1 ATM connections terminate on the AUSM card on AXIS--and there can be connections between T1\/E1, T3/E3, OC3, etc.
ATM switched virtual circuits (SVCs) are ATM connections set up and maintained by a standardized signaling mechanism between ATM CPE (that is ATM end systems) across a Cisco StrataCom network. ATM SVCs are created on user demand and removed when the call is over, thus freeing up resources.
ATM SVCs are supported by the BPX Service Node when it is equipped with a co-located Extender Services Processor (ESP). When an ESP is installed in a BPX Service Node, the nodes resources, sucha as VPI range, queue allocations, and trunk bandwidth are partitioned during initial node configuration between SVCs and PVCs.
This resource partitioning provides a firewall between the PVCs and SVCs so that problems occur with the CPE or large call bursts do not affect the robustness and availability of PVC services. Figure 4-1 depicts a network with BPX Service Nodes providing both ATM SVC and PVC service interfaces.
For further information about ATM SVCs and the ESP, refer to the Cisco StrataCom BPX Service Node Extended Services Processor Installation and Operation Guide.

The Intelligent Network Server (INS) uses a robust high-powered processing platform to add several important capabilities to StrataCom networks. Although there are three distinct INS products, they are INS family members because they all use an adjunct processor that distributes selected processing and database-intensive functions across the StrataCom network. In addition, the INS products all support some form of standards-based signalling between customer premise equipment (CPE) and a StrataCom network. Typically this signalling is a variation of common-channel, message-oriented Integrated Services Digital Network (ISDN) or Broadband ISDN (B-ISDN) signalling protocols. The INS function interprets these industry-standard signalling messages, translates the logical addresses to the appropriate physical endpoints of the network, and instructs the StrataCom switches to establish the connection required for the particular application. The switches then take over, dynamically establishing the optimum route through the network and maintaining the connection for its duration.
The two INS applications are:
Each INS application uses one or more adjunct processors that are co-located with a StrataCom node (that is a BPX/AXIS, IPX, or IGX) and often installed in the same equipment rack. Available in either AC- or DC-powered models, the base INS processor is a scalable UNIX platform and contains:
For each INS application, the base INS processor is equipped with different interface modules, memory and disk configurations, and different application software. To distinguish between these different configurations, the INS processor is identified by different names and model numbers closely associated with one of the INS applications.
Released as part of Software Release 8.1, the INS Dial-Up Frame Relay application adds semi-permanent virtual circuits (or soft PVCs) to IPX, IGX, BPX/AXIS networks. The INS Dial-Up Frame Relay application is implemented by the DAS Server Shelf (i.e., the adjunct processor) and INS Dial-Up Frame Relay software.
In this application, semi-permanent virtual circuits are frame relay PVCs that are configured in the network's data base but are not activated until requested by a dial-up call from end user's customer premise equipment (CPE), such as routers or frame-relay access devices (FRADs). These dial-up calls use ISDN signalling messages to activate the semi-permanent virtual circuits. ISDN signalling messages follow the Q.921 and Q.931 protocol standards.
The INS Dial-Up Frame Relay Application supports five ISDN signalling variations:
The INS Dial-Up Frame Relay application operates through both the DAS Server Shelf and SV+ Workstation. Pre-configured soft PVCs lie dormant in the database on the SV+ Workstation until they are activated by an ISDN call into the network. During configuration, the soft PVC has been associated to an ISDN Automatic Number Identification (ANI) field. Then when an ISDN call with that ANI is received and validated, StrataView Plus activates the dormant soft PVC between two preconfigured endpoints. Once the dial-up connection is established, all of the routing, switching and (when needed) rerouting are handled by StrataCom switches in the same way that they are handled for PVCs that are connected with leased access lines. When the call is terminated, the StrataView Plus returns the soft PVC to its dormant state.
Currently, INS Dial-Up Frame Relay supports two types of connections (i.e., soft PVCs) in the SV+ database:
For the Dial-Up connection, as shown in Figure 4-2, a soft PVC could be configured in the SV+ database between the routers at Customer Sites A and B. (In actuality, the PVC is configured between the ports on the StrataCom nodes which connect to these routers, i.e., the ports on the two IPXs.)

To begin a dialup process, customer premise equipment, such as the router at Customer Site A, issues call setup commands to the ISDN network. The ISDN network routes the incoming call to the Primary Rate Interface (PRI) access port of the Stratacom frame-relay network (i.e., IPX node). These call request and call setup messages are carried on the ISDN D channel, a dedicated signalling channel. The IPX node passes the ISDN message, encapsulated in a V.35 frame-relay frame, to the DAS Server Shelf. The INS processes this message and initiates an INS server function on the SV+ Workstation. The INS server searches the connection database for the appropriate connection information which has previously been configured (e.g., a PVC, virtual connection, to Customer Site B), then passes this information to the frame-relay network. In other words, the INS Dial-Up Frame Relay application determines the identity of the calling device (using the ANI) and directs the frame-relay network to activate the virtual circuits associated with that call source.
Once the dial up connection is established, all of the routing, switching and (when needed) rerouting are handled by Stratacom switches (i.e., nodes) in the same way that they are handled for PVCs that are connected with leased access lines. When the call is terminated, the virtual circuits are torn-down in a similar manner.
Backup strategies for critical business applications are a concern in any network. StrataCom's frame relay networks provide automatic re-routing around failed lines and equipment, but for many users the leased line connecting the remote site to the frame relay network, as well as the frame relay port to which the leased line is connected, represent single points of failure,
ISDN Dial-up Frame Relay provides a reliable, economical dial backup solution by using an ISDN switched connection as the backup link into the frame relay network. If the site's leased line connection to the network fails, a dial-up ISDN backup link, shown in Figure 4-3, can quickly and automatically re-establish communications. If the network offers the capability to provide a pool of ports to support dial-in users, the possibility of a single failed port disrupting communication is minimal.

The call processing is similar to that of the Dial-Up Call Process, except that the ISDN call is initiated automatically, and the original PVC for the dedicated line is torn down. Because Dial-Backup calls are associated with an active PVC, they must use the same DLCI as the original circuit. When the router at Customer Site A senses that the dedicated line to the frame-relay network is down, it will, after a configured delay, automatically dial into the ISDN network. This call will reach the INS Dial-Up Frame Relay application, which will have already been configured to process this backup call. First it will tear down the PVC that was supporting the dedicated line, then it will establish the dial-backup PVC. When the endpoints terminate the dial-backup call, the backup PVC will be torn down and the original PVC re-established.
Further information about the INS Dial-Up Frame Relay application can be found in the INS DAS Server Shelf Installation Manual and the INS Dial-Up Frame Relay Operations Guide.
The INS Voice Network Switching (VNS) application, which is implemented with the Voice Network Switching Server Shelf (i.e., the adjunct processor, simply referred to as a VNS) and VNS software, provides switched virtual circuits (SVCs) for voice calls over a StrataCom network.
With the VNS application in a StrataCom network, private branch exchanges (PBXes) using Digital Private Network Signalling System (DPNSS) or QSIG signalling will be able to establish voice calls on demand, just as if they are dialing a public switched telephone network. Dynamic Network Switching provides for direct call-by-call routing for PBX voice, data, video, image, and fax connections, enabling this information to be transported across a StrataCom network efficiently and economically. Also by providing for the direct connection of DPNSS- or QSIG-based PBXes, Dynamic Network Switching eliminates the need for tandem PBX connections. This reduces the number of trunks (e.g., E1) required to interconnect PBXes.
A VNS network also saves network bandwidth by consolidating traffic over fewer physical interfaces, and through the use of Voice Activity Detection (VAD) and Adaptive Differential Pulse Code Modulation (ADPCM) voice compression provided by IPX/IGX nodes. The VNS network allows the use of a StrataCom network's standard voice service features to be applied to switched voice circuits from DPNSS and QSIG PBXes. StrataCom's standard voice services save network resources by providing a voice compression ratio of up to 10:1.
As shown in Figure 4-4, Voice Network Switching provides a signalling mechanism to establish and maintain SVCs between PBXs across a StrataCom frame network. In the figure, there is a separate signalling channel, between the VNSes to manage the setup and disconnection of the voice SVC calls. The signalling channel actually stretches to the PBXes because the PBXes exchange signalling messages with the network and with each other. This signalling channel is indicated by the dashed line in the figure, and can be thought of as a virtual signalling network, or signalling plane over-laid on the traditional StrataCom network. The solid line indicates the end-user traffic, the actual voice SVCs, between the PBXes.

The signalling between the VNS and the PBXes is based on an ISDN variant. There are two signalling variants supported in DNS release 1.0:
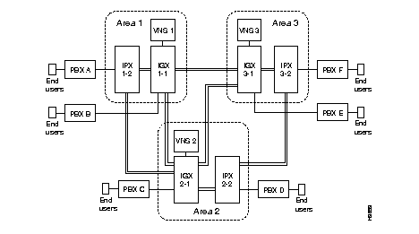
In the VNS application, each VNS (or redundant pair of VNSes) is assigned to control a group of one or more nodes, i.e., an IPX or IGX. These nodes are considered the VNS's area (or domain). The VNS will be directly attached to one of the nodes in its area as shown in Figure 4-5. The VNS processes call setup or release requests for calls originating in its area, or calls received from another area but destined for this one. VNS areas do not overlap.

In Figure 4-5, each VNS has two IGXes in its area. VNS 1 has IGX 1-1 and IGX 1-2, and VNS 2 has IGX 2-1 and IGX 2-2, and so on. Each IGX is connected to one PBX with its complement of end users. So in Area 1, VNS 1 would be responsible for processing call setups for all calls from PBX A and PBX B. It would also handle calls destined for PBX A and PBX B. Similarly, VNS 2 would be responsible call setups for PBX C and PBX D, and VNS 3 would be responsible for PBX E and PBX F.
Further information about Voice Network Switching can be found in the INS VNS Installation and Operations manual(s).
This description is keyed to the IPX, but the general principles apply to the IGX and AXIS. See those respective reference manuals for details. With Frame Relay to ATM Interworking, the AXIS, IPX, and IGX provide efficient transport of frame relay traffic via BPX nodes across ATM networks.
Emerging data applications are characterized by large volumes of high-speed, bursty data with diverse connectivity. Typical applications require connectivity to multiple destinations and data transfers of millions of bits at megabit speeds. Today's systems require access to high bandwidth on demand, direct connectivity to all points in the network, and access to only the minimum bandwidth actually required. ITU-T has defined Frame Relay Services as the standard data interface to meet these needs.
StrataCom's implementation of Frame Relay is designed to provide high-speed data transmission, minimal network delay, and efficient use of network bandwidth. The IPX's frame relay ports allow a connected device to access any other Frame Relay device by specifying its address within the transmitted data frame. StrataCom cell relay frame relay network transmits data frames to their destinations at high speeds.
Advantages of using a StrataCom cell relay network for bursty data include:
A number of software features have been included in the BPX, IGX, IPX, and AXIS to detect, control, and avoid internal network congestion. These include ForeSight, Explicit Congestion Notification, Local Management Interface, and the Credit Manager. The ForeSight feature allocates extra bandwidth to all connections fairly while insuring that no congestion exists.
These features allow network operators more flexibility in defining the performance characteristics of frame relay virtual circuits bases upon initial, minimum, and maximum data rates as well as network delay caused by congestion. ForeSight, for example, is a closed-loop mechanism that provides continuous feedback on trunk utilization across the network to adjust the data rate of each virtual circuit at the network access points.
StrataCom frame relay complies with the following Standards Committees specifications:
The basic IPX and IGX frame relay service provides permanent virtual circuits (PVCs) as defined in the frame relay standards. These circuits are used for interconnecting widespread LANs transmitting bursts of data. User device control is transmitted over a Local Management Interface (LMI) port. Features of basic frame relay service are listed below:
When enhanced with an Extended Services Processor (ESP), the BPX Service Node will support frame relay switched virtual circuits (SVCs).
Frame relay SVCs are set up and maintained by a standard signaling mechanism between frame relay CPE (that is end users) across a Cisco StrataCom network. Frame relay SVCs are created upon user demand and are removed when the all is over, thus freeing network resources.
When an ESP is installed on a BPX Service Node, the node's resources such as frame relay port DLCI range and bandwidth, and trunk bandwidth are partitioned between frame relay SVCs and PVCs. This prevents problems with frame relay SVCs from affecting Frame Relay PVCs. Frame relay SVCs are supported only on AXIS FRSMs. For further information refer to the BPX Service Node Extender Service Processor documents.
This feature is an extension of the basic Frame Relay service to provide a higher speed (T1 or E1) user interface to the BPX/IPX network. Frame Relay T1/E1 is used to extend StrataCom cell relay network frame relay service to remote LANs using standard T1 trunks by using a higher speed frame relay interface port.
Two port capacities are available in this application. One provides 6 logical ports, which is convenient for fractional T1. The other provides a full 24 logical ports (T1) or 31 logical ports (E1) applications. For example, on a T1 line connection, all 24 DS0/timeslots could be used if each of the 6 logical ports had 4 DS0/timeslots assigned.
Frame relay DS0 timeslots are grouped into "logical ports". These logical ports can be a single DS0/timeslot or a group of contiguous DS0 timeslots. Logical ports that consist of multiple DS0/timeslots transmit at the full rate of 64 Kbps per timeslot.
A single frame relay DS0 logical port may be configured for 56 Kbps or 64 Kbps. The
56 Kbps rate is typically used for groomed DDS circuits that appear on a T1/E1 line. If a logical port is configured for 56 Kbps, the IPX will strip off the least significant bit (signalling bit) in the incoming octet and stuff a "1" in the least significant bit of the outgoing octet.
With E1 frame relay, timeslot 16 cannot be used as part of a logical port if the line is configured for CAS type signalling. However, it may be used for CCS configurations.
Frame relay uses the data link layer address to route data frames across a network between a source and destination. This service is provided via a standard interface between the user device and the network. This standard interface is called the User Network Interface (UNI).
There are two protocols used across the UNI, the data transfer protocol and the control protocol. The data transfer protocol operates end-to-end (through the network, between a pair of user devices). The control protocol operates between the user device and the network. The service allows 1024 connections per node.
ANSI Annex A and ITU-T Annex D Frame Relay standards groups specify a protocol and set of procedures called the User-to-Network Interface(UNI) to provide a control function for frame relay PVCs. StrataCom's Local Management Interface (LMI) is a specialized UNI that offers additional features over and above those defined by either the ANSI or ITU-T standards. These control features are imbedded in the software and the FRP firmware and operate between the IPX and the user device. The messages communicated via the UNI/LMI protocol provide the following features:
The StrataCom LMI frame relay interface includes several internal software controls to regulate the flow of frame relay data and prevent congestion on network trunks. Refer to the Frame Relay Congestion Avoidance on page 14 section later for a more complete discussion.
Frame Relay networks utilizing an IPX, IGX, or AXIS can be seamlessly connected together and to other frame relay networks adhering to standards set forth by the Frame Relay Forum. Inter-network messages flow between Network-to-Network Interface (NNI) frame relay ports to report internetwork connection status to user devices wherever they are located.
NNI is a frame relay port that forms a boundary between two independent wide area networks, e.g., a StrataCom network and another network that may or may not consist of StrataCom equipment. There is no user device connected, only another network port. Each network interface in a StrataCom network consists of a port on a FRP, FRM, FRSM, or PCS shelf card.
Only ports that need to support the reporting of the A-bit status need be equipped with Model F or H FRP cards. Frame Relay NNI can operate in networks with a mix of older model and new model FRP cards. Although, connections may be established between these and earlier FRPs they will not support the NNI feature.
Frame relay virtual circuits between the same two nodes over the same network route may be treated as one routing entity. These connections are bundled and grouped connections. Bundled connections require that all virtual circuits in the bundle be numbered consecutively and located on the same frame relay card. Grouped connections allow up to 16 PVCs located anywhere in the node to be associated together in a grouped connection, making it a more flexible option.
All bundled or grouped connections in the same logical group are treated as one physical circuit thereby increasing the capacity of the IPX/IGX node for frame relay circuits. Without bundling, an IPX node can accommodate 252 virtual circuits. With bundling, a node can handle 1024 circuits. Up to 255 separate connection groups may be defined for a node with up to 16 circuits per group (not to exceed 1024).
Frame forwarding is a software feature of frame relay allowing point-to-point connections for various data applications that do not conform to the Frame Relay Interface Specification. This includes bridges, switches, front-end processors, and other equipment that support SDLC, HDLC, or LAP-B interfaces.
With frame forwarding, all frames received on a local FRP port are transmitted via a single PVC to a remote FRP port, and all frames received on a remote FRP port are transmitted via a single PVC to a local FRP port.
Frames containing any data are interpreted as valid frames. These frames must use 7E (hex) flags, 5-4096 bytes, and a valid CRC as defined in ITU-T standards. If a frame relay connection exists, the frames are relayed via a PVC to their destination. If no connection exists, the frames are discarded and the invalid frame statistics are updated.
StrataCom cell relay networks have a number of features incorporated to monitor the network frame relay connections for congestion, to notify the user device of this congestion, and to take action to minimize the congestion where possible.
The IPX assigns a control function to each frame relay port to control the transmission of user data from the port. In many frame relay applications, if the user is permitted to send a short "burst" of data, it will fulfill many user's requirements with a delay that is almost unnoticeable. Often, a short burst of data from any one port can be accommodated by the network without any undue stress.
However, there must be some means to throttle back the data rate so it doesn't persist at a high rate long enough to cause congestion. The long-term committed information rate must not be more than the user has contracted for. This feature is the Credit Manager, and, unlike ForeSight, which is optional, the Credit Manager is a standard operating feature of the IPX when equipped with frame relay.
The Credit Manager allows an initial high-bandwidth burst of data to be sent, but throttles back the data rate after the short initial period based on the number of system-assigned "credits" that have been accumulated by an individual circuit. This permits short transactions to be sent immediately for quick response but prevents long transactions from overloading the network.
"Credits" are allocated to a frame relay port at a constant rate, depending on the Committed Information Rate assigned to the port, up to a certain maximum. When a port is idle, it "saves" credits, when it is transmitting, it "spends" credits. If a port has been idle for a time, it has accumulated credits and can spend them as fast as it wants (up to the Peak Information Rate set for the port). After accumulated credits are spent, the port is throttled back to its Committed Information Rate for the duration of the session to minimize the possibility of congestion and for fairness to other users.
Explicit Congestion Notification is a form of flow control for frame relay networks accepted by the Frame Relay standards committee as a way of preventing network congestion. This standard feature consists of two bits carried in the frame header that are set by the network in the event of congestion and it is up to the user device to react by reducing the data rate applied to the network. It reacts primarily to congestion at the source or destination of the frame relay connection.
When the IPX FRP card at the source end of the circuit detects its input buffer fill approaching a preset threshold, it sets the Forward ECN (FECN) bit. This bit is carried "forward" through the network, towards the frame destination. At the same time, the FRP sets the Backwards ECN (BECN) bit, which is sent back to the transmitting user device.
Similarly, when the IPX FRP card at the sink end of the circuit detects its output buffer fill approaching a preset threshold, it sets the Forward ECN (FECN) bit. This bit now is transmitted to the receiving user device. At the same time, the sink FRP sets the Backwards ECN (BECN) bit, which is sent through the network back to the transmitting user device. FECN and BECN are of no value in reducing congestion if the user device does not, or is incapable, of reacting to the change of state of the FECN and BECN bits.
Circuit mode data ports are used for today's conventional data communications applications that expect to communicate via a point-to-point bit-transparent connection, such as is provided by a data modem. StrataCom cell relay networks typically allow twice as many data connections to be carried compared to TDM-type circuit switching networks.
For circuit mode data applications, the IPX Synchronous Data PAD (SDP) provides direct connection to the IPX from standard data communication interfaces. IPX data interfaces are full-duplex, protocol transparent circuits. Synchronous, binary synchronous, and bit synchronous protocols are supported.
The IPX supports high-speed synchronous data ports at rates up to 1.344 Mbps with the following port interfaces:
The IPX supports low speed data applications on the LDP/LDI front card/back card set with 8 ports/card (up to 19.2 Kbps) or 4 ports/card (up to 56 Kbps) with the following port interfaces. Asynchronous data rates up to 19.2 Kbps are supported by oversampling.
DS0A connections allow a channelized 64 Kbps interface (T1 or E1) to carry a single sub-rate data channel. This channel can operate at 2.4, 4.8, 9.6, or 56 Kbps. DS0A connections that originate on a CDP can terminate on either another CDP (output with parallel 8-bit bytes) or on a SDP or LDP card (serial data output) at the far end.
Imbedded signalling information is carried over the network in one of two modes, transparent or interpretive. For CDP to CDP connections, the transparent mode transmits signalling bits directly end-to-end and lets the connecting data device interpret the signalling. The interpretive mode is used with CDP to SDP or LDP data connections. The near-end CDP decodes the DS0A signalling and converts them to standard EIA control leads that can be mapped and observed using the software "breakout box" feature.
This standard feature enables bundles of 56 or 64 Kbps time slots to be aggregated to make up a single data channel. This data channel can be terminated on another CDP or SDP. If the link is sensitive to long strings of zeros, the IPX will assure a minimum pulse density. If the link uses B8ZS or other means of suppressing long strings of zeros, the IPX can be set to forgo bit stuffing to save bandwidth.
Data Frame Multiplexing is a compression technique for data channels to reduce network bandwidth requirements. DFM monitors the input data and replaces repetitive patterns (such as idle codes, etc.) with an initial pattern and a repetition code number that indicates to the far end how many times to repeat the initial pattern in the output data stream. During long intervals of repetitious data, the initial data pattern is periodically transmitted for confirmation at the far end. DFM is only available for data rates up to 128 Kbps.
In a network where the clocks are not synchronous, the card's character receive rate differs from the character playout rate. This results in continuously variable data delays and periodic bursts of bit errors. If a data card's remote partner is clocking at a slightly higher rate, delay increases as extra characters build overruns and all characters in the buffer are lost. Under these conditions, up to two seconds of delay may be introduced at the lowest baud rate before the overrun occurs.
The Pleisiochronous Clocking feature limits the amount of data (delay) allowed to accumulate in the Low-Speed Data PAD (LDP) card receive buffers by resynchronizing at an acceptable delay threshold that is less than the size of the complete receive buffer. This feature provides an upper limit to the receive buffer delay. It is always active with no user interface or configuration required. The delay variation imposed by the feature is between 12.5 and 50 milliseconds for all supported baud rates.
There are three modes for transmitting control lead status for synchronous data channels. The normal mode periodically samples up to 12 control leads per data circuit and sends the lead status using the internode communications channel. This mode uses very little trunk bandwidth but trades delay for bandwidth.
Alternatively, the fully interleaved mode transmits a byte of data followed by a byte of control lead status (up to 7 control leads). This reduces the delay between the change of status and when it is recognized at the far end to one byte interval but doubles the bandwidth required for each data circuit.
A third mode, the partially interleaved mode, permits sending the status of one control lead in each direction (RTS or CTS) as the eighth data bit. All other lead status is transmitted as normal mode. This provides quick response to status changes on this lead without requiring much additional bandwidth. However, this mode is restricted to 19.2 Kbps and under.
Voice interfaces, such as PABX's, channel banks, transmit Pulse Code Modulation (PCM) voice streams to the IPX for processing. The voice interface to T1 trunks is based on the D4 frame format. Via the T1-D4 format interface, T1 IPX systems are certified as fully compatible with major PBXs, channel banks, and other D4 equipment.
The IPX receives PCM voice from the T1 or E1 circuit lines as 64 Kbps channels, which is packetized and compressed by the CDP card. The IPX can provide up to 4:1 compression, which means it can support up to 96 active toll-quality channels on one T1 FastPacket trunk, and up to 120 voice channels on one E1 FastPacket trunk.
In addition to Pulse Code Modulation (PCM), the IPX provides Adaptive Differential Pulse Code Modulation (ADPCM) to give another 2-to-1 or 4-to-1 compression to voice. In this way, the IPX provides 4-to-1 or 8-to-1 voice compression for as many as 240 (E1) or 192 (T1) voice channels on a single trunk.
The IPX also compresses voice streams using Voice Activity Detection (VAD). With VAD, voice packets are transmitted only when speech is present (in typical phone conversations, speech is present only 40% of the time). This results in greater than 2-to-1 compression, with no degradation in voice quality. This compression ratio allows many more voice channels to share a single trunk.
The IPX supports Robbed Bit signalling for T1 networks, and Channel Associated Signalling (CAS) for CEPT(E1) international networks. Initially, the IPX CEPT (E1) supports a transparent pass-through (that is, no interpretation of the data) of Common Channel Signalling (CCS) for CEPT(E1) international and ISDN networks.
The CEPT E1 and Japanese J1 interfaces to voice equipment consists of 32 time slots, where one channel is used for framing (time slot 0) and one channel is used for signalling (time slot 16), leaving 30 available voice channels. The frames are transmitted on 2.048 Mbps trunks.
For information about voice SVCs, as supported bythe INS Voice Network switching, refer to INS-Voice Network Switching on page 9 of this chapter and to the INS-VNS Installation and Operation document.
Pulse Code Modulation is the current world-wide standard for converting analog signals to digital voice. This standard IPX feature carries voice in 64 Kbps DS0 channels from one circuit line to another with toll-grade voice quality. No voice compression techniques are applied to the encoded data bits.
Adaptive Differential Pulse Code Modulation (ADPCM) is a technique for encoding only changes in amplitude between PCM samples rather than the actual amplitude. Since a smaller range of amplitudes is generally encoded, it requires fewer bits to represent the change than it does the actual sample.
ADPCM compression reduces network bandwidth requirements for transmitting voice by encoding 64 Kbps voice channels as 32, 24, or 16 Kbps ADPCM. The 32 Kbps is available with all software releases. 16 and 24 Kbps became available with Release 6.0 and the CDP.
32 Kbps provides 2:1 compression, 24 Kbps provides 3:1 and 16 Kbps provides 4:1 compression. Generally, there is a trade-off between the amount of compression and voice quality. The CDP provides two new options, 32z, and 16z using a new compression algorithm with inherent zero code suppression (limits strings of zeros to a maximum of 6).
The Voice Activity Detection (VAD) feature detects periods of silence when the speaker is quiet and the silence between words and suppresses the transmission of packets/cells during these periods. It provides a 2:1 savings in the amount of packets otherwise sent. VAD can be used in conjunction with any of the ADPCM compression rates. VAD is a standard feature of all IPX nodes equipped for voice.
VAD can be automatically enabled or disabled depending on connection bandwidth available. Refer to the associated Adaptive Voice feature described next in the "Adaptive Voice" section.
Adaptive Voice is a feature that provides dynamic enabling/disabling of VAD. As long as the network has available, unused bandwidth, VAD is automatically disabled on all voice connections using it to maximize the quality of voice connections. When there is no more network bandwidth available, VAD is automatically reapplied. Priority for using connections is by class of service (COS) or activity. See also the section, Voice Activity Detection Feature on page 18.
FAX/modem upgrade (Instafax) is a standard feature that automatically disables ADPCM compression for voice connections whenever a V.25 protocol echo canceller disabling tone is detected from a high-speed modem or a facsimile (FAX) application.
Normally voice circuits employ some type of compression (ADPCM and/or VAD). When a high-speed modem or FAX is used on these circuits, the compression may interfere with error-free transmission of the modem tones. Instafax is a feature that disables VAD on the connection and forces the circuit to use the full 64 Kbps circuit bandwidth when the CDP card detects a V.25 echo canceller disabling tone from the modem or FAX.
Enhanced Instafax operates in a similar manner except that the user may chose to revert to either the full 64 Kbps PCM connection or to a StrataCom-proprietary 32 Kbps ADPCM that is optimized to pass modem/FAX transmission. This ADPCM provides a 2:1 compression that otherwise would be unavailable for these applications without affecting the modem/ FAX performance.
The 32 Kbps ADPCM encoding used, however, is not compatible with the ITU-T-based
32 Kbps ADPCM used on other types of IPX voice circuits. Circuit defaults to 64 Kbps during Instafax transmission.
Many users consider voice as a low priority service on their network that may be preempted in the case of trunk failures. This section describes features that allow this kind of routing. These features include the following:
Courtesy Downing connections is the process of monitoring a set of voice connections to see when they go inactive. When the connections go inactive, they are downed or disabled. This frees up network bandwidth for other uses, generally for bandwidth reservation.
In the case of inter-node connections, downing connections deroutes these connections and frees up the network bandwidth. In the case of local (DAX) connections, these connections are only disabled. In both local and distant connections, downed connections are conditioned at both ends and do not generate network alarms.
Only voice-type connections ("v", "c", "a", "p", and "t") can be monitored for activity, and then only when the on-hook status is configured by the user. All other connection types and voice types without their on-hook state defined are treated as active and cannot be courtesy downed. System software allows manual control over Courtesy Downing. This allows the user:
Bandwidth Reservation is the process of configuring a currently inactive connection to become active at a specified time and accumulating the necessary bandwidth in advance. This is particularly useful when a periodic uploading of a large file, for example a database update, requires a large amount of bandwidth but only for a short period of time.
The user may request Courtesy Downing of specific connections or network-side connections matching the specified COS range at a particular time. At a later time the user may activate a downed connection, add a new connection, or change the COS of an existing connection to use this bandwidth. If sufficient bandwidth is available, then the connection is routed, completing the reservation.
An inactive connection is a connection that was previously downed manually. This state reserves the endpoint resources for the connection but does not route the connection. In addition, the connection is conditioned. Commands for reserving bandwidth can be used in conjunction with scheduled jobs to schedule connections on a daily or weekly basis.
All the IPX, IGX, and BPX controller cards (NPC, NPM,and BCC, respectively) incorporate flash memory, which can be programmed yet retain their memory when power is removed. This permits upgrading both the system software as well as the firmware for individual cards. The following paragraphs describe these standard features.
Software Downloading provides a quick and simple method of upgrading the node operating software from one revision to another and it does not require dedicated personnel at each site. If the node is equipped with redundant controllers, the upgrade can be accomplished with no disruption in the operation of the node.
Updated software is supplied by StrataCom on magnetic tape cartridges for loading onto a StrataView Plus workstation. From here, it is downloaded, upon command, to the local node, over the NMS connection to the network.
For nodes equipped with redundant controller cards, the new release is loaded into the standby controller while the active controller continues to run the existing release. Nodes are designed to run properly with different software releases in active and standby controllers.
In similar manner, each node in the network is updated with the new software release. Software for nodes that are not directly connected to a StrataView Plus terminal is transmitted over network trunks. As each node completes its update, the software is automatically downloaded to the next adjacent node.
Upon command, each node can be instructed to run the newly downloaded release software in which case the standby controller with the new release becomes active. If, for any reason, a problem arises, the network can revert back to the prior release immediately by switching back to the other controller.
Most of the hardware modules used in the IPX and BPX operate under control of software imbedded in ROM (firmware). In many of these modules, a flash EPROM is used. When new firmware becomes available from StrataCom (often with new features), this firmware can be downloaded from StrataView Plus NMS in a manner similar to that just described for system software.
New firmware is first loaded onto the StrataView terminal from a data cartridge supplied by StrataCom. It is downloaded to each node controller, which temporarily stores it in a buffer. Upon command, the controller transfers the new firmware, card by card, to each of the appropriate module(s) in the node. A second command causes the new firmware to be "burned" into the module's memory.
Firmware download permits easy upgrade of existing modules without the need to remove and replace them. The modules are taken out of service only during the download procedure, which lasts only a few minutes. A redundant module pair can be updated with no downtime. This feature extends to all nodes in the network.
Software Restore provides a means of automatically restoring node operations after a node power failure, a momentary interruption in node controller processing, or following controller card replacement.
Each controller card has two memory areas for the system software, one is ROM and one is RAM. The controller is shipped from the factory with the current release of the system software loaded in ROM, which is transferred to RAM on power-up.
If a node power fail should completely erase the contents of the RAM or a momentary failure should corrupt the normal operation of the controller, a boot routine in ROM begins to immediately transfer its copy of the system software to RAM. Within a few minutes, when the transfer is complete, the node is up and running again.
The node configuration data (information about the network) is stored in BRAM (battery supported RAM) and is preserved during power interruptions.
IPX and BPX networks feature pleisiochronous network clocking, which provides a highly flexible and robust clocking system. An IPX network automatically configures its clock synchronization plan when a network is constructed, and reconfigures its clock routing as the network grows. Automatic clocking reconfiguration results in the selection of a new clock source in the event of line failures, minimizing the impact of loss of clock.
The IPX can automatically derive its clock source from an internal clock, a port, a trunk, or an external clock device. In pleisiochronous networks, different regional clocks may not be synchronized, so frame slips occur on trunks connecting the regions to compensate. The IPX is able to slip frames on empty packets to maintain network synchronization without information loss.
Network synchronization internal to IPX node sources corresponds to Stratum 4 (2.048 MHz, ±10 ppm). BPX node clocks are Stratum 3 sources. Network Synchronization external to network sources is dynamic primary, secondary, and tertiary clocking, synchronized to the nearest highest-stratum clock available. Any network trunk or circuit line or 1.544/2.048 Mbps external clock can be used for the clock source.
European networks can be bridged to North American networks via T1, CEPT E1, or subrate trunks. The bridging trunks are digital trunks that carry voice, signalling, and data between circuits using different standards. Data connections can be made freely between any compatible end ports operating at the same speed (e.g. X.21 circuit in Europe and RS232 circuit in North America).
For voice data, the International IPX does an A-law/m-law conversion of the encoded voice samples in the CDP card. Signalling data requires two translations: A and B bit states and signalling timing. The International IPX system converts an E1 system SSDC5-A trunk A and B bit signalling states to a T1 system A and B signalling states in the CDP port card.
The BPX and IPX hardware and software architecture and features are designed to protect the node in the event of a major network outage, system disruption, or node power outage.
The intelligence for network routing with IPX/BPX nodes is distributed around the network to maximize robustness. Each node contains an image of the network topology and a list of all network connections. This is used for automating routine network administration. The only centralized system functions are user interface and statistics collection.
Each node is initially supplied with at least one more power supply than is needed to provide full power to the node. All power supplies are on-line so that should a power supply fail, the remaining power supplies can easily carry the system load with no switching of supplies required. Inputs to each supply are separately protected with a circuit breaker.
All dc outputs of each power supply are monitored separately and automatically cause an alarm when a failure of any output voltage is detected. Status and output voltages for each power supply equipped are displayed on a NMS screen making it easy to isolate a failed unit.
Power supplies are mounted on slides and held in place with a captive mechanism. Any one supply may be replaced without powering down the node. IPX 8 and BPX nodes are available with dual power input configurations to enhance reliability.
BPX and IPX nodes are generally equipped with dual controller cards for redundancy. The smaller IPX 8 nodes have provision for dual controllers but may be equipped with a single controller card if desired for cost savings. All other card sets may be provisioned either singly or with 1:1 redundancy (1:N redundancy was provided for lines and trunks with the DTI card set found in earlier release systems).
All cards are monitored for normal operation in a background mode and, if redundancy is provided, the system automatically switches to the hot-standby card if the active card fails. Often this switchover is accomplished with no interruption in service.
Each node maintains a database of the configuration the node elements as well as a configuration of the overall network. Each node is aware of all other nodes, trunks, trunk bandwidths used and available, as well as any special routing details entered by the user. As a result, each node is capable of deciding when and how to reroute connections around network failures.
The advantage of this is two-fold. It speeds rerouting decisions since a single node detecting a network failure can make the decision to reroute. But, more importantly, this architecture eliminates the possibility of a single node failure or a failure of the Network Management Station from affecting the operation of the whole network.
With Structured Networks, the situation is similar in that each local node has knowledge of all other nodes within the structured network domain. The network database in junction nodes contains entries for routing for all interdomain connections in the network.
The Configuration Save/Restore feature provides a means of storing the configuration of each BPX, IGX, or IPX node in a StrataView Plus workstation and downloading it to one or more nodes upon command. Data that defines the configuration of the network is stored in the controller card for each node in the network. This configuration data is variable and changes with each modification in the network topology.
The node configuration is stored in non-volatile memory in the controller cards. This memory, battery backup RAM (BRAM), allows unlimited reading/writing of data while providing protection against power fail.
Configuration Save/Restore allows the network administrator to send a copy of the configuration database to the StrataView Plus NMS where it is archived for ultimate protection against a catastrophic failure. When needed, the archived copy is downloaded to the selected node.
In normal operations, the configuration data should be saved on a periodic basis so that the backup database is current. The save routine runs as a background process and is non-invasive. Should the node configuration database require restoring, the first part of the restore is also non-invasive. However, the final writing to BRAM and database rebuild is disruptive and will take the node out of service for several minutes.
The optional alarm summary feature provided by the Alarm Relay cards provides both a front panel visual indication of an IPX node alarm as well as a set of relay outputs (dry-contact) for indicating node and network alarms. A visual alarm history indication is also provided. These outputs are intended to be connected to the site alarm system. This alarm reporting is separate and in addition to the alarm output at the node's control port, which provides a data output to a control terminal, e.g., the StrataView Plus NMS.
To implement this feature on IPX nodes requires an Alarm Relay Front Card (ARC and an Alarm Relay Interface (ARI) back card. BPX nodes come standard with an Alarm Status Monitor (ASM) front card and a corresponding Line Monitor (LM-ASM) back card. The features provided by both card sets are quite similar.
One set of alarm relays is used to display a major alarm or minor alarm for the node. One pair of contacts on each relay is used for audible alarms. These contacts are in series with a front panel alarm cut-off (ACO) switch. The other set of relay contacts is used for visual alarms and is not affected by the ACO switch. Any time the ACO switch is operated, a front panel ACO indicator is lit as a reminder to the operator. If the ACO switch is operated to disable the node audible alarm output and a second alarm is received, the audible alarm is reactivated. Two front panel LEDs provide local indication of network major or minor alarms.
Network management can be performed from a single location using a StrataCom StrataView Plus Network Management Station. The NMS is connected to a single node in a flat network (or a single node in each domain of a structured network)) and communications throughout the network is provided by the Internode Controller Channel that connects to each node.
StrataView Plus collects network status information and operating statistics accumulated by each node and stores this data in its own on-line database. It is graphically displayed in real-time on a topological map on the NMS console with status displayed in color. In addition, a maintenance log is kept on the NMS terminal of all network changes and maintenance activity. In addition, system software updates and firmware revisions can be remotely downloaded to each node from the StrataView Plus NMS.
Users with other SNMP network administration systems can gain direct access to BPX, IGX, IPX, and AXIS status and statistics via optional software features. Contact Cisco StrataCom Customer Sevice for more information. Each node in the network (or domain for structured networks) maintains an image of the network configuration in memory. A backup copy of the system software and configuration can be manually stored on the StrataView Plus terminal.
All BPX, IGX, and IPX nodes provide a serial RS-232, communications port for either local or remote connection to a terminal for troubleshooting or local use. In addition, all BPX, IGX and IPX nodes and the AXIS shelf may be connected via a high-speed Ethernet LAN port to NMS workstations. The StrataViw Plus workstation requires a LAN connection to the IPX/IGX/BPX network. Network Management is implemented via in-band ILMI through the use of SNMP agents and proprietary and ATM MIBs in each node. StrataCom's SNMP proxy agent is also available to connect StrataView Plus NMS to SNMP-based management integrators.
The standard node hardware administration feature allows the BPX, IGX, and IPX software to recognize each card installed in the node. Hardware Administration also allows the system to test a card and switch to a redundant card or take the card off-line if the test fails. It provides the following alarm functions:
Network-trunk administration is a standard node feature of the BPX, IGX, and IPX allowing network trunks to be configured using software commands from a remote user interface. The Trunk Administration routines monitor all network FastPacket and ATM trunks for alarm conditions and collects performance statistics to assist in evaluating network performance. This data is routed to the StrataView Plus terminal where it is stored in the NMS database.
All IPX, IGX, and BPX nodes include a Simple Network Management Protocol (SNMP) Agent as part of the system software. The SNMP Agent permits a SNMP Manager other than StrataView Plus (e.g. HP OpenView) to view and set certain network objects in Management Information Bases (MIBs) maintained in each node allowing integrated network management systems (INMS) the capability to manage a IPX/iGX/BPX network with SNMP.
The SNMP Manager connects to one of the IPX, IGX, or BPX nodes through the Ethernet LAN port. This node then acts as the gateway for the SNMP Manager to communicate with all other nodes In Flat Networks, this communication extends to the whole network. With structured networks, the SNMP Agent maintains a MIB that extends throughout a single domain.
The embedded SNMP Agent supports the standard Internet MIB II and a proprietary MIB. Currently, the proprietary MIB contains status and configuration data for each frame relay connection in the managed IPX network. Later releases of this feature are expected to include all other types of connections and to extend to BPX nodes.
A system software default allows only one user access to a node at a time on one of three terminal access ports (auxiliary, control, or LAN). The network manager may allow up to ten simultaneous user command interfaces on a node. A second option of this feature is to allow user access on any or all of the terminal access ports simultaneous.
This option can be configured for multiple simultaneous users and multiple active terminal ports. Access can be either local or remote via the vt command. Default is one direct user and one vt user. In addition, a job may be running while a user session.
The FastPAD feeder multiplexer provides analog voice and data channels that are presented to the user as extensions of IPX and IGX facilities. Local user interface to the FastPAD for configuration, connection management, and status is via front panel controls and display. This can be inconvenient in a centrally managed network. This release provides a remote user interface to the FastPAD from the SV+ NMS workstation.
The FastPAD interfaces to StrataCom networks via a V.35 frame relay PVC. The IPX or IGX sends control information and gathers status via a special frame relay port on a FTC/FTI card set. It forwards this information to SV+ to integrate the FastPAD into the NMS topology map, maintenance log, administration window, and statistics databases. The associated IPX or IGX also collects statistics on the PVCs associated with the FastPAD.
One of the four ports on a FTC card is available to interface to a FastPAD, the other three can be used as normal frame relay ports like those found on the FRP card. A maximum of 64 FastPADs can be interfaced to a node.
Included in the FastPAD NMS are commands for card management, port management, connection management, and FastPAD management.
|
|