|
|
The AGS+ is a modular router with slots for nine cards. Up to seven of the slots can contain interface cards that connect to a network through applique plates on the rear panel.
Because of the variety of applique plates, the appearance of the rear panel changes with the configuration of the router. Individual applique plates contain one connector, and large applique plates contain multiple connectors.

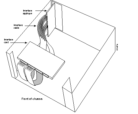
Inside the chassis, each applique connects to an interface card. The following figure shows typical cabling between a card and its applique. For clarity, the figure omits card cages.

The topmost slot contains an environmental monitor card that monitors the interior chassis environment and provides nonvolatile random-access memory (NVRAM). Some routers contain an optional memory card, which is mounted above the environmental monitor card. The second slot always contains a processor card.
In the AGS+ backplane, seven slots support Multibus interface cards; only the five lower slots support ciscoBus interface cards.
When ciscoBus interface cards are installed, a ciscoBus controller card must be installed in Multibus slot 7. Note that ciscoBus slots are numbered in relation to the ciscoBus controller card--slots 0 and 2 are immediately above the controller card, and slots 1 and 3 are below the controller card, as follows:

The following example illustrates how AGS+ cards connect to the appliques at the rear panel. This sample configuration contains the following cards:
In the sample configuration, the slot assignments would look like this:

The rear panel would look like this:

The rear panel illustrated contains console and auxiliary ports and four individual blank plates. Note that the ports labeled Serial 6 and Serial 7 are unused X.21 connectors.The Ethernet and serial applique plates support several interface cards, and a single interface card connects to multiple applique plates. Specifically, CSC-2E2T connects to both the Ethernet applique and the serial applique. Also notice that the Token Ring, HSSI, and FDDI appliques contain ground straps, which protect the interfaces from electromagnetic interference (EMI).
The following table shows how the sample configuration CSC-2E2T, CSC-4T, and CSC-C2MEC6 ports connect to applique connectors:
| Interface Card | Ports on Card | Ethernet Applique Connectors | Serial Applique Connectors |
|---|---|---|---|
| CSC-2E2T | Ethernet 0 and 1
Serial 0 and 1 | Ethernet 0 and 1 |
Serial 0 and 1 |
| CSC-4T | Serial 0-3 | - | Serial 2-5 |
| CSC-C2MEC6 | Ethernet 0-5 | Ethernet 2-7 | - |
![]() | Caution This caution symbol means reader be careful. You are capable of doing something that might result in equipment damage or loss of data. |
![]() | Warning This warning symbol means danger. You are in a situation that could cause bodily injury. Before you work on any equipment, be aware of the hazards involved with electrical circuitry and be familiar with standard practices for preventing accidents. The warning symbol also means that you can see the warning in multiple languages in "Translated Safety Warnings." |
Waarschuwing Dit waarschuwingssymbool betekent gevaar. U verkeert in een situatie die lichamelijk letsel kan veroorzaken. Voordat u aan enige apparatuur gaat werken, dient u zich bewust te zijn van de bij elektrische schakelingen betrokken risico's en dient u op de hoogte te zijn van standaard maatregelen om ongelukken te voorkomen. Het waarschuwingssymbool betekent ook dat u de waarschuwing in meerdere talen in "Translated Safety Warnings" kunt vinden.
Varoitus Tämä varoitusmerkki merkitsee vaaraa. Olet tilanteessa, joka voi johtaa ruumiinvammaan. Ennen kuin työskentelet minkään laitteiston parissa, ota selvää sähkökytkentöihin liittyvistä vaaroista ja tavanomaisista onnettomuuksien ehkäisykeinoista. Varoitusmerkki tarkoittaa myös sitä, että varoitus esiintyy useilla kielillä osassa "Translated Safety Warnings".
Attention Ce symbole d'avertissement indique un danger. Vous vous trouvez dans une situation pouvant causer des blessures ou des dommages corporels. Avant de travailler sur un équipement, soyez conscient des dangers posés par les circuits électriques et familiarisez-vous avec les procédures couramment utilisées pour éviter les accidents. Le symbole d'avertissement signifie également que cet avis se trouve traduit dans plusieurs langues dans la section «Translated Safety Warnings».
Warnung Dieses Warnsymbol bedeutet Gefahr. Sie befinden sich in einer Situation, die zu einer Körperverletzung führen könnte. Bevor Sie mit der Arbeit an irgendeinem Gerät beginnen, seien Sie sich der mit elektrischen Stromkreisen verbundenen Gefahren und der Standardpraktiken zur Vermeidung von Unfällen bewußt. Das Warnsymbol bedeutet auch, daß Sie die Warnung in verschiedenen Sprachen unter "Translated Safety Warnings" lesen können.
Avvertenza Questo simbolo di avvertenza indica un pericolo. La situazione potrebbe causare infortuni alle persone. Prima di lavorare su qualsiasi apparecchiatura, occorre conoscere i pericoli relativi ai circuiti elettrici ed essere al corrente delle pratiche standard per la prevenzione di incidenti. Il simbolo di avvertenza indica inoltre che l'avvertenza viene presentata in diverse lingue in "Translated Safety Warnings".
Advarsel Dette varselsymbolet betyr fare. Du befinner deg i en situasjon som kan føre til personskade. Før du utfører arbeid på utstyr, må du vare oppmerksom på de faremomentene som elektriske kretser innebærer, samt gjøre deg kjent med vanlig praksis når det gjelder å unngå ulykker. Dette varselsymbolet betyr også at du kan lese advarselen på flere språk i «Translated Safety Warnings».
Aviso Este símbolo de aviso indica perigo. Encontra-se numa situação que lhe poderá causar danos físicos. Antes de começar a trabalhar com qualquer equipamento, familiarize-se com os perigos relacionados com circuitos eléctricos, e com quaisquer práticas comuns que possam prevenir possíveis acidentes. Este símbolo serve também para indicar que poderá ler este tipo de aviso em várias línguas na secção: "Translated Safety Warnings."
¡Atención! Este símbolo de aviso significa peligro. Existe riesgo para su integridad física. Antes de manipular cualquier equipo, considerar los riesgos que entraña la corriente eléctrica y familiarizarse con los procedimientos estándar de prevención de accidentes. Este símbolo de aviso también significa que la misma advertencia aparece en varios idiomas bajo el título "Translated Safety Warnings".
Varning! Denna varningssymbol signalerar fara. Du befinner dig i en situation som kan leda till personskada. Innan du utför arbete på någon utrustning måste du vara medveten om farorna med elkretsar och känna till vanligt förfarande för att förebygga skador. Denna varningssymbol innebär också att du kan se varningsmeddelandet på flera språk i "Translated Safety Warnings".
Because any device that uses electricity must be treated with respect, follow these guidelines to ensure general safety:
Electrostatic discharge (ESD) can damage equipment and impair electrical circuitry. It occurs when electronic components are improperly handled and can result in complete or intermittent failures. Always follow ESD-prevention procedures when removing and replacing components. Ensure that the chassis is electrically connected to earth ground. Wear an ESD-preventive wrist strap, ensuring that it makes good skin contact. Connect the clip to an unpainted surface of the chassis frame to safely ground unwanted ESD voltages. If no wrist strap is available, ground yourself by touching the metal chassis.
![]() | Caution For safety, periodically check the resistance value of the ESD-preventive wrist strap, which should be between 1 and 10 megohms. |
This publication guides you through the hardware installation of the AGS+ router. The procedures assume a routine installation, which means that the factory has installed all interface cards, and you are not changing the factory configuration.
The recommended order of procedures is as follows:
If you need to perform tasks other than those described in this publication (for example, adding a memory or interface card), see the AGS+ Hardware Installation and Maintenance publication and the configuration notes for the specific cards and appliques. These publication are available on UniverCD, or printed copies can be ordered separately.
The router can be used as a tabletop or rack-mounted system in a data processing or lab environment. Because the large cooling fan in the chassis is somewhat noisy, the router is not intended for an office environment.
When you select a location, use the following guidelines:
Keep the chassis in the shipping container until you are ready to begin the installation.
Unpack all items and inspect them for shipping damage. If anything appears to be damaged, immediately contact your customer service representative. Notice that the shipping container includes a warranty sheet, a service and support card, and instructions for ordering Cisco documentation. Any optional publications you specified on your order are also included.
Assemble the following tools and parts:
In addition, you might need the following equipment:
If the chassis does not require rack-mounting, simply position the chassis on a bench or table using the guidelines in the section "Selecting a Location." Then connect the AGS+ to site AC power and proceed to the next section, "Making External Connections."
Warning 
Two people are required to lift the chassis. Grasp the chassis underneath the lower edge and lift with both hands. To prevent injury, keep your back straight and lift with your legs, not your back. To prevent damage to the chassis and components, never attempt to lift the chassis with the handles on the power supplies or on the interface processors, or by the plastic panels on the front of the chassis. These handles were not designed to support the weight of the chassis. (To see translated versions of this warning, refer to page 33.)
Warning 
To prevent bodily injury when mounting or servicing this unit in a rack, you must take special precautions to ensure that the system remains stable.
The following guidelines are provided to ensure your safety:
(To see translated versions of this warning, refer to page 35.)
To rack-mount the chassis, take the following steps:
Step 1 Assemble the tools: medium-sized flat-blade screwdriver, medium slotted screws and rack-mount flanges (provided), rack-mount screws (you supply), and a suitable screwdriver for the rack-mount screws.
Step 2 Place the chassis on a stable surface with the front panel facing you.
Step 3 Attach one rack-mount flange to each side of the chassis with the slotted screws provided.
Step 4 Using the rack-mount screws you supply, mount the chassis in the rack or wiring closet.
![]() | Caution Two chassis can be rack-mounted with tops and bottoms flush with each other; however, this is not recommended. |
After you have installed the chassis, connect a console device and the network.
Either the console port or the auxiliary port must be connected to an asynchronous device in order to communicate with the AGS+.
The console port is a female, data communications equipment (DCE), DB-25 receptacle for connecting an ASCII terminal. Before you connect the console port, set up the terminal as follows: 9600 baud, 8 data bits, no parity, and 2 stop bits.
The optional auxiliary port is a male, data terminal equipment (DTE), DB-25 receptacle for connection to a modem or other DCE device (such as a CSU/DSU or another router).
Connect the console and auxiliary ports, as follows:

Each ciscoBus Token Ring applique (APP-LTR2) contains two connectors for Token Ring adapter cables. Two appliques are installed so you can use all four ports supplied by the CSC-C2CTR interface card.
Adapter cables connect the applique to a MAU, as follows:

FDDI appliques support single or dual attachment with single-mode or multimode fiber cables. Single-mode uses separate transmit and receive cables; multimode uses one integrated transmit/receive cable for each physical interface (one for PHY A and one for PHY B). One end of the multimode cable contains a media interface connector (MIC) that mates with the multimode connector on the applique.
Four types of appliques are available:
The standard connection scheme for dual attachment is as follows:
![]() | Warning Invisible laser radiation may be emitted from the aperture ports of the single-mode FDDI products when no fiber cable is connected. Avoid exposure and do not stare into open apertures. This product meets the Class 1 Laser Emission Requirement from Center for Devices and Radiological Health (CDRH) FDDI. (To see translated versions of this warning, refer to page 39.) |
The aperture port contains an FDDI warning label, as follows:

For single-mode dual attachment (APP-LSS), connect to the primary and secondary rings using four single-mode cables, as follows:

For mixed-mode attachment, connect to the primary and secondary rings using multimode and single-mode cables, as shown in the next two figures.
The following figure shows connection to APP-LSM:

The following figure shows connection to APP-LMS:

The multimode dual attachment (APP-LMM) is shown in the figure on page 21, which illustrates optical bypass switch connection.
Connect the optical bypass switch as follows:
Step 1 Connect the cable coming in from the primary ring (from PHY B at the preceding station) to the PHY A receive port on the network (ring) side of the bypass switch.
Step 2 Connect the cable coming in from the secondary ring (from PHY A at the preceding station) to the PHY B receive port on the network (ring) side of the bypass switch.
Step 3 Connect the optical bypass switch to the FDDI applique using an A-to-A and B-to-B scheme. Unless the documentation that accompanies the bypass switch instructs otherwise, consider the switch an extension of the applique ports. (The network cables are already connected to the bypass switch following the standard B-to-A/A-to-B scheme.)
Step 4 Connect the bypass switch control cable to the DIN optical bypass port on the applique.
The AGS+ supports two types of Ethernet appliques, which can be distinguished by their connectors:
For 15-pin port connection, slide the metal bracket over the two posts on the cable connector or tighten the thumbscrews to secure the cable in the port and provide strain relief. Note that some transceivers connect directly to the 15-pin connector on the applique and do not require an interface cable.
A transceiver connection to the 15-pin AUI Ethernet applique looks like this:

A 10BaseT transceiver connection to the 15-pin AUI Ethernet applique looks like this:

A multiport transceiver connection to the 15-pin AUI Ethernet applique looks like this:

A 10BaseT transceiver connection to the RJ-45 10BaseT applique looks like this:

The HSSI applique (APP-LHS) mates with interface cable CAB-HSI1. Both ends of the HSSI cable are the same; connect it to the DSU as follows:

To verify the operation of the HSSI port, or to build a larger node, use a null modem cable (CAB-HNUL) between the HSSI ports on two routers:

The two routers must be in the same location, and can be two AGS+ routers or an AGS+ and a Cisco 7000 series router. When you configure the ports, you must enable the internal transmit clock on the HSSI interface in both routers with the hssi internal-clock command. When you disconnect the cable, use the no hssi internal-clock command. For command descriptions, refer to the Router Products Configuration Guide publication, which is available on UniverCD, or a printed copy can be ordered separately.
The serial adapter cable and the applique determine the electrical interface type and mode. For serial cables and appliques, refer to the following table:
| Media | Mode | Gender1 | Cable | Applique2 |
|---|---|---|---|---|
| EIA/TIA-2323 | DTE | Male | CAB-R23 | APP-JR1, APP-LR2, APP-LR4, APP-LR6, APP-LR8 |
| EIA/TIA-232 | DCE | Female | CAB-R23 | APP-JS1, APP-LS2, APP-LS4, APP-LS6, APP-LS8 |
| EIA/TIA-232 SDLC4 | DCE/DTE | Female | CAB-R23 | APP-JNZ1, APP-LNZ2, APP-LNZ3, APP-LNZ4, APP-LNZ6, APP-LNZ8 |
| EIA/TIA-449 | DCE | Male | CAB-R44 | APP-LF1, APP-LF2, APP-LF4, |
| EIA/TIA-449 | DTE | Female | CAB-R44 | APP-LG1, APP-LG2, APP-LG4, |
| X.21 | DCE | Female or male | CAB-X2CF | APP-JI1, APP-LI1, APP-LI4, APP-LI2, APP-LI8 |
| V.35 | DTE | Female | CAB-VFT | APP-JI1, APP-LX2, APP-LX4, APP-LX6, APP-LX8 |
| V.35 | DCE | Female | CAB-VCF | APP-JI1, APP-LX2, APP-LX4, APP-LX6, APP-LX8 |
| V.35 NRZI | DTE | Female | CAB-VTM CAB VTF | APP-JVNZ1, APP-JVNZ2, APP-JVNZ4, APP-JVNZ6, APP-JVNZ8 |
| V.35 NRZI | DCE | Female | CAB-VTM CAB VTF | APP-JVNZ1, APP-JVNZ2, APP-JVNZ4, APP-JVNZ6, APP-JVNZ8 |
| G.7035 | - | - | (Local third-party) | APP-JG71, APP-LG72, APP-LG74, APP-LG76, APP-LG78 |
Connect serial cables as shown here. Note that the interface type and mode are indicated directly above each chassis connector. On the AGS+ rear panel, the connectors are labeled Serial 0, Serial 1, and so forth.

When you connect serial devices, consider the adapter cables as an extension of the router for external connections. Therefore, use DTE cables to connect the router to remote DCE devices such as modems or DSUs, and use DCE cables to connect the router to remote DTE devices such as a host, PC, or another router.
A pair of metric thumbscrews is included with each cable. If you connect to a remote device that uses metric hardware, replace the standard 4-40 thumbscrews at the network end of the cable with the M3 metric thumbscrews.
For G.703 applications, connect a local G.703 cable to the applique, which is available only in the United Kingdom. The applique is shown below:

Take the following steps to check your installation:
Step 1 Verify that the power cable is attached correctly.
Step 2 Verify that all interface cables are attached correctly and that all available cable strain relief is used correctly.
Step 3 Verify that the console terminal has been set for 9600 baud, 8 data bits, no parity, and 2 stop bits.
Step 4 Turn ON the power switch at the rear panel.
Step 5 Once the router has booted, use the show ver command to verify that the router recognizes all installed interfaces.
Step 6 Refer to the following additional publications to configure the router or troubleshoot your installation:
These and other publications are available on UniverCD, Cisco's online library of product information. To order UniverCD or paper documentation, refer to Ordering Cisco Documentation, which is in the warranty pack that accompanied your AGS+.
This completes the AGS+ hardware installation process.
Following are the specifications for the AGS+ chassis:
| Description | Specifications |
| Multibus backplane | 9 slots (because of CSC-ENVM and processor card requirements, 7 slots or fewer are available)1 |
| ciscoBus backplane | 5 slots (one is used by the CSC-CCTL2 card) |
| Dimensions (H x W x D) | 10 x 17.5 x 20'' (25.4 x 44.5 x 50.8 cm) |
| Weight | 56 lb (25.45 kg) |
| Power dissipation, maximum | Input: 750W (2562 Btu2/hr) Output: 500W (1708 Btu/hr) |
| Input voltage and frequency | U.S.: 120 or 220 VAC3 (standard), 50-60 Hz U.K.: 240 VAC, 50-60 Hz |
| Current rating | U.S.: 7A @ 110 VAC; 3.5A @ 240 VAC U.K.: 5A @ 230 VAC |
| Current and DC voltages available | U.S.: 55A @ +5V; 10A @ +12V; 6A @ -5V; 10A @ -12V U.K.: 60A @ +5V; 10A @ +12V; 6A @ -12V; 6A @ -5V |
| Cooling | One 160 cfm4 blower |
| Blower noise | 63 dBa5 |
| Rear panel connector areas | 4 large plates and 5 individual plates6 |
| Additional hardware | 19" rack-mount kit |
Cisco Systems declaration of operating conditions:
The AGS+ is designed to meet the requirements of NET1 and NET2.
Interconnection directly, or by way of other apparatus, of ports marked:
"Safety Warning -- See instructions for use"
with ports marked or not so marked may produce hazardous conditions on the network and that advice should be obtained from a competent engineer before such a connection is made.
The ports marked "Ethernet," have a safety warning applied to them as follows:
"These ports do not provide isolation sufficient to satisfy the requirement of EN60950; apparatus connected to these ports should either have been approved to EN60950 or have previously been evaluated against British Telecommunications plc (Post Office) Technical Guides 2 or 26 and given permission to attach; any other usage will invalidate any approval given to this apparatus."
This apparatus must be connected to a mains socket outlet with a protective earth contact.
Connection of Power Supply. The AGS+ is intended for use when supplied with power from a supply providing 220-240 VAC, 50/60 Hz.
Other usage will invalidate any approval given to this apparatus if as a result it ceases to comply with EN60950:1992.
The AGS+ is brought into service by the supplier.
This section repeats in multiple languages the warnings in this guide. In addition, this section contains translated warnings that can be used with other documentation related to the AGS+, such as the AGS+ Hardware Installation and Maintenance manual and the configuration notes for AGS+ components.
Warning 
Two people are required to lift the chassis. Grasp the chassis underneath the lower edge and lift with both hands. To prevent injury, keep your back straight and lift with your legs, not your back. To prevent damage to the chassis and components, never attempt to lift the chassis with the handles on the power supplies or on the interface processors, or by the plastic panels on the front of the chassis. These handles were not designed to support the weight of the chassis.
Waarschuwing Er zijn twee mensen nodig om het frame op te tillen. Het frame dient onder de onderste rand vastgegrepen en met beide handen omhooggetild te worden. Om te voorkomen dat u letsel oploopt, dient u uw rug recht te houden en met behulp van uw benen, niet uw rug, te tillen. Om schade aan het frame en de onderdelen te voorkomen, mag u nooit proberen om het frame op te tillen aan de handvatten op de voedingen of op de interface-processors of aan de kunststof panelen aan de voorkant van het frame. Deze handvatten zijn niet ontworpen om het gewicht van het frame te dragen.
Varoitus Asennuspohjan nostamiseen tarvitaan kaksi henkilöä. Ota ote asennuspohjan alareunasta ja nosta molemmin käsin. Pitäen selkäsi suorana nosta jalkojen (ei selän) avulla, jotta välttäisit loukkaantumista. Älä yritä nostaa asennuspohjaa virtalähteen tai liitäntäprosessorin kahvoista tai asennuspohjan etuosan muovipaneeleista, jotta estät asennuspohjan ja rakenneosien vaurioitumisen. Näitä kahvoja ei ole suunniteltu kestämään asennuspohjan painoa.
Attention Il faut deux personnes pour soulever le châssis. Le saisir par son rebord inférieur et soulever des deux mains. Pour éviter tout trauma de la région lombaire, garder le dos droit et soulever la charge en redressant les jambes. Pour éviter d'endommager le châssis et ses composants, ne jamais tenter de le soulever par les poignées des blocs d'alimentation ou des processeurs d'interface, ni par les panneaux en plastique à l'avant du châssis. Ces poignées ne sont pas prévues pour supporter le poids du châssis.
Warnung Zum Anheben des Chassis werden zwei Personen benötigt. Fassen Sie das Chassis unterhalb der unteren Kante an und heben es mit beiden Händen an. Um Verletzungen zu vermeiden, ist der Rücken aufrecht zu halten und das Gewicht mit den Beinen, nicht mit dem Rücken, anzuheben. Um Schäden an Chassis und Bauteilen zu vermeiden, heben Sie das Chassis nie an den Kunststoffabdeckungen vorne am Chassis oder mit den Griffen am Netzgerät oder an den Schnittstellenprozessoren an. Diese Griffe sind nicht so konstruiert, daß sie das Gewicht des Chassis tragen könnten.
Avvertenza Il telaio va sollevato da due persone. Afferrare il telaio al di sotto del bordo inferiore e sollevare con entrambe le mani. Per evitare infortuni, mantenere la schiena diritta e sollevare il peso con le gambe, non con la schiena. Per evitare danni al telaio ed ai componenti, non provare mai a sollevare il telaio tramite le maniglie sugli alimentatori o sui processori di interfaccia oppure tramite i pannelli in plastica sulla parte anteriore del telaio. Queste maniglie non sono state progettate per sostenere il peso del telaio.
Advarsel Det er nødvendig med to personer for å løfte kabinettet. Ta tak i kabinettet under den nedre kanten, og løft med begge hender. Unngå personskade ved å holde ryggen rett og løfte med bena, ikke ryggen. Unngå skade på kabinettet og komponentene ved å aldri prøve å løfte kabinettet etter håndtakene på strømforsyningsenhetene, grensesnittprosessorene eller i plastpanelene foran på kabinettet. Disse håndtakene er ikke beregnet på å tåle vekten av kabinettet.
Aviso São necessárias duas pessoas para levantar o chassis. Agarre o chassis imediatamente abaixo da margem inferior, e levante-o com ambas as mãos. Para evitar lesões, mantenha as suas costas direitas e levante o peso com ambas as pernas, sem forçar as costas. Para prevenir danos no chassis e nos seus componentes, nunca tente levantá-lo pelas asas das unidades abastecedoras de energia, nem pelos processadores de interface, ou pelos painéis plásticos localizados na frente do chassis. Estas asas não foram criadas para suportar o peso do chassis.
¡Atención! Se necesitan dos personas para levantar el chasis. Sujete el chasis con las dos manos por debajo del borde inferior y levántelo. Para evitar lesiones, mantenga la espalda recta y levántelo con la fuerza de las piernas y no de la espalda. Para evitar daños al chasis y a sus componentes, no intente nunca levantar el chasis por las asas de las fuentes de alimentación o de los procesadores de interfase, ni por los paneles de plástico situados en el frontal del chasis. Las asas no han sido diseñadas para soportar el peso del chasis.
Varning! Det krävs två personer för att lyfta chassit. Fatta tag i chassit under den nedre kanten och lyft med båda händerna. För att undvika skador skall du hålla ryggen rak och lyfta med benen, inte ryggen. Chassit och delarna kan skadas om du försöker lyfta chassit i handtagen på strömförsörjningsenheterna eller gränssnittsprocessorerna, eller i plastpanelerna på chassits framsida. Handtagen är inte konstruerade för att hålla chassits tyngd.
Warning 
To prevent bodily injury when mounting or servicing this unit in a rack, you must take special precautions to ensure that the system remains stable. The following guidelines are provided to ensure your safety:
Waarschuwing Om lichamelijk letsel te voorkomen wanneer u dit toestel in een rek monteert of het daar een servicebeurt geeft, moet u speciale voorzorgsmaatregelen nemen om ervoor te zorgen dat het toestel stabiel blijft. De onderstaande richtlijnen worden verstrekt om uw veiligheid te verzekeren:
Varoitus Kun laite asetetaan telineeseen tai huolletaan sen ollessa telineessä, on noudatettava erityisiä varotoimia järjestelmän vakavuuden säilyttämiseksi, jotta vältytään loukkaantumiselta. Noudata seuraavia turvallisuusohjeita:
Attention Pour éviter toute blessure corporelle pendant les opérations de montage ou de réparation de cette unité en casier, il convient de prendre des précautions spéciales afin de maintenir la stabilité du système. Les directives ci-dessous sont destinées à assurer la protection du personnel :
Warnung Zur Vermeidung von Körperverletzung beim Anbringen oder Warten dieser Einheit in einem Gestell müssen Sie besondere Vorkehrungen treffen, um sicherzustellen, daß das System stabil bleibt. Die folgenden Richtlinien sollen zur Gewährleistung Ihrer Sicherheit dienen:
Avvertenza Per evitare infortuni fisici durante il montaggio o la manutenzione di questa unità in un supporto, occorre osservare speciali precauzioni per garantire che il sistema rimanga stabile. Le seguenti direttive vengono fornite per garantire la sicurezza personale:
Advarsel Unngå fysiske skader under montering eller reparasjonsarbeid på denne enheten når den befinner seg i et kabinett. Vær nøye med at systemet er stabilt. Følgende retningslinjer er gitt for å verne om sikkerheten:
Aviso Para se prevenir contra danos corporais ao montar ou reparar esta unidade numa estante, deverá tomar precauções especiais para se certificar de que o sistema possui um suporte estável. As seguintes directrizes ajudá-lo-ão a efectuar o seu trabalho com segurança:
¡Atención! Para evitar lesiones durante el montaje de este equipo sobre un bastidor, o posteriormente durante su mantenimiento, se debe poner mucho cuidado en que el sistema quede bien estable. Para garantizar su seguridad, proceda según las siguientes instrucciones:
Varning! För att undvika kroppsskada när du installerar eller utför underhållsarbete på denna enhet på en ställning måste du vidta särskilda försiktighetsåtgärder för att försäkra dig om att systemet står stadigt. Följande riktlinjer ges för att trygga din säkerhet:
Warning 
Invisible laser radiation may be emitted from the aperture ports of the single-mode FDDI card when no cable is connected. Avoid exposure and do not stare into open apertures. Following is an example of the warning label that appears on the product:

Waarschuwing Wanneer geen kabel aangesloten is, kan er onzichtbare laserstraling geëmitteerd worden uit de apertuurpoorten van de enkelvoudige-modus FDDI-kaart ("Fiber Distributed Data Interface" = "Interface van door glasvezels gedistribueerde gegevens"). Vermijd blootstelling en staar niet in de open aperturen
Varoitus Yksitoimintoisen FDDI-kortin avoimista porteista saattaa vapautua näkymättömiä lasersäteitä kaapelin ollessa irrotettuna. Vältä säteilyä ja avoimiin aukkoihin katsomista.
Attention Des rayons laser invisibles peuvent s'échapper des ouvertures prévues pour la carte d'interface des données distribuées par fibres optiques monomode (Fiber Distributed Data Interface ou FDDI) quand un câble n'est pas connecté. Eviter toute exposition et ne pas approcher les yeux des ouvertures.
Warnung Wenn kein Kabel angeschlossen ist, wird möglicherweise unsichtbare Laserstrahlung von den Steckanschlüssen der Monomode-FDDI-Karte (Glasfaserdatenübertragungs-Schnittstelle; Fiber Distributed Data Interface) ausgestrahlt. Schützen Sie sich vor Strahlung, und blicken Sie nicht direkt in offene Steckanschlüsse.
Avvertenza Radiazioni laser invisibili potrebbero essere emesse dalle porte di apertura della scheda FDDI (Fiber Distributed Data Interface - Interfaccia di dati distribuiti a fibre) a modo singolo quando il cavo non è stato collegato. Evitare l'esposizione a tali radiazioni e non fissare alcuna porta aperta.
Advarsel Usynlig laserstråling kan emitteres fra åpningsutgangene på FDDI-kort med kabel av monomodusfiber når de ikke er tilkoblet en ledning. Unngå utsettelse for stråling, og stirr ikke inn i åpne åpninger.
Aviso Radiação laser invisível poderá ser emitida através das portas de abertura da placa FDDI (Interface de Dados Distribuídos por Fibra Óptica) de modo simples, mesmo quando não houver nenhum cabo ligado. Evite exposição e não espreite por estas aberturas.
¡Atención! La tarjeta FDDI modo sencillo puede emitir radiaciones láser invisibles por los orificios de los puertos cuando no se haya conectado ningún cable. Evitar la exposición y no mirar fijamente los orificios abiertos.
Varning! Osynlig laserstrålning kan avges från portöppningarna för FDDI-kortet för enkelmodsfiber när ingen kabel är ansluten (FDDI: Fiber Distributed Data Interface = gränssnitt för dataöverföring med fiberoptik). Utsätt dig inte för denna strålning och titta inte in i öppningarna.
Warning 
Before working on a system that has an on/off switch, turn OFF the power and unplug the power cord.
Waarschuwing Voordat u aan een systeem werkt dat een aan/uit schakelaar heeft, dient u de stroomvoorziening UIT te schakelen en de stekker van het netsnoer uit het stopcontact te halen.
Varoitus Ennen kuin teet mitään sellaiselle järjestelmälle, jossa on kaksiasentokytkin, katkaise siitä virta ja kytke virtajohto irti.
Attention Avant de travailler sur un système équipé d'un commutateur marche-arrêt, mettre l'appareil à l'arrêt (OFF) et débrancher le cordon d'alimentation.
Warnung Bevor Sie an einem System mit Ein/Aus-Schalter arbeiten, schalten Sie das System AUS und ziehen das Netzkabel aus der Steckdose.
Avvertenza Prima di lavorare su un sistema dotato di un interruttore on/off, spegnere (OFF) il sistema e staccare il cavo dell'alimentazione.
Advarsel Slå AV strømmen og trekk ut strømledningen før det utføres arbeid på et system som er utstyrt med en av/på-bryter.
Aviso Antes de começar a trabalhar num sistema que tem um interruptor on/off, DESLIGUE a corrente eléctrica e retire o cabo de alimentação da tomada.
¡Atención! Antes de utilizar cualquier sistema equipado con interruptor de Encendido/Apagado (ON/OFF), cortar la alimentación y desenchufar el cable de alimentación.
Varning! Slå AV strömmen och dra ur nätsladden innan du utför arbete på ett system med strömbrytare.
Warning 
Do not work on the system or connect or disconnect cables during periods of lightning activity.
Waarschuwing Tijdens onweer dat gepaard gaat met bliksem, dient u niet aan het systeem te werken of kabels aan te sluiten of te ontkoppelen.
Varoitus Älä työskentele järjestelmän parissa äläkä yhdistä tai irrota kaapeleita ukkosilmalla.
Attention Ne pas travailler sur le système ni brancher ou débrancher les câbles pendant un orage.
Warnung Arbeiten Sie nicht am System und schließen Sie keine Kabel an bzw. trennen Sie keine ab, wenn es gewittert.
Avvertenza Non lavorare sul sistema o collegare oppure scollegare i cavi durante un temporale con fulmini.
Advarsel Utfør aldri arbeid på systemet, eller koble kabler til eller fra systemet når det tordner eller lyner.
Aviso Não trabalhe no sistema ou ligue e desligue cabos durante períodos de mau tempo (trovoada).
¡Atención! No operar el sistema ni conectar o desconectar cables durante el transcurso de descargas eléctricas en la atmósfera.
Varning! Vid åska skall du aldrig utföra arbete på systemet eller ansluta eller koppla loss kablar.
Warning 
Do not touch the power supply when the power cord is connected. For systems with a power switch, line voltages are present within the power supply even when the power switch is off and the power cord is connected. For systems without a power switch, line voltages are present within the power supply when the power cord is connected.
Waarschuwing U dient de voeding niet aan te raken zolang het netsnoer aangesloten is. Bij systemen met een stroomschakelaar zijn er lijnspanningen aanwezig in de voeding, zelfs wanneer de stroomschakelaar uitgeschakeld is en het netsnoer aangesloten is. Bij systemen zonder een stroomschakelaar zijn er lijnspanningen aanwezig in de voeding wanneer het netsnoer aangesloten is.
Varoitus Älä kosketa virtalähdettä virtajohdon ollessa kytkettynä. Virrankatkaisimella varustetuissa järjestelmissä on virtalähteen sisällä jäljellä verkkojännite, vaikka virrankatkaisin on katkaistu-asennossa virtajohdon ollessa kytkettynä. Järjestelmissä, joissa ei ole virrankatkaisinta, on virtalähteen sisällä verkkojännite, kun virtajohto on kytkettynä.
Attention Ne pas toucher le bloc d'alimentation quand le cordon d'alimentation est branché. Avec les systèmes munis d'un commutateur marche-arrêt, des tensions de ligne sont présentes dans l'alimentation quand le cordon est branché, même si le commutateur est à l'arrêt. Avec les systèmes sans commutateur marche-arrêt, l'alimentation est sous tension quand le cordon d'alimentation est branché.
Warnung Berühren Sie das Netzgerät nicht, wenn das Netzkabel angeschlossen ist. Bei Systemen mit Netzschalter liegen Leitungsspannungen im Netzgerät vor, wenn das Netzkabel angeschlossen ist, auch wenn das System ausgeschaltet ist. Bei Systemen ohne Netzschalter liegen Leitungsspannungen im Netzgerät vor, wenn das Netzkabel angeschlossen ist.
Avvertenza Non toccare l'alimentatore se il cavo dell'alimentazione ècollegato. Per i sistemi con un interruttore di alimentazione, tensioni di linea sono presenti all'interno dell'alimentatore anche quando l'interruttore di alimentazione è en posizione di disattivazione (off), se il cavo dell'alimentazione è collegato. Per i sistemi senza un interruttore, tensioni di linea sono presenti all'interno dell'alimentatore quando il cavo di alimentazione è collegato.
Advarsel Berør ikke strømforsyningsenheten når strømledningen er tilkoblet. I systemer som har en strømbryter, er det spenning i strømforsyningsenheten selv om strømbryteren er slått av og strømledningen er tilkoblet. Når det gjelder systemer uten en strømbryter, er det spenning i strømforsyningsenheten når strømledingen er tilkoblet.
Aviso Não toque na unidade abastecedora de energia quando o cabo de alimentação estiver ligado. Em sistemas com interruptor, a corrente eléctrica estará presente na unidade abatecedora, sempre que o cabo de alimentação de energia estiver ligado, mesmo quando o interruptor se encontrar desligado. Para sistemas sem interruptor, a tensão eléctrica dentro da unidade abatecedora só estará presente quando o cabo de alimentação estiver ligado.
¡Atención! No tocar la fuente de alimentación mientras el cable esté enchufado. En sistemas con interruptor de alimentación, hay voltajes de línea dentro de la fuente, incluso cuando el interruptor esté en Apagado (OFF) y el cable de alimentación enchufado. En sistemas sin interruptor de alimentación, hay voltajes de línea en la fuente cuando el cable está enchufado.
Varning! Vidrör inte strömförsörjningsenheten när nätsladden är ansluten. För system med strömbrytare finns det nätspänning i strömförsörjningsenheten även när strömmen har slagits av men nätsladden är ansluten. För system utan strömbrytare finns det nätspänning i strömförsörjningsenheten när nätsladden är ansluten.
Warning 
See the installation instructions before you connect the system to its power source.
Waarschuwing Raadpleeg de installatie-aanwijzingen voordat u het systeem met de voeding verbindt.
Varoitus Lue asennusohjeet ennen järjestelmän yhdistämistä virtalähteeseen.
Attention Avant de brancher le système sur la source d'alimentation, consulter les directives d'installation.
Warnung Lesen Sie die Installationsanweisungen, bevor Sie das System an die Stromquelle anschließen.
Avvertenza Consultare le istruzioni di installazione prima di collegare il sistema all'alimentatore.
Advarsel Les installasjonsinstruksjonene før systemet kobles til strømkilden.
Aviso Leia as instruções de instalação antes de ligar o sistema à sua fonte de energia.
¡Atención! Ver las instrucciones de instalación antes de conectar el sistema a la red de alimentación.
Varning! Läs installationsanvisningarna innan du kopplar systemet till dess strömförsörjningsenhet.
Warning 
Before opening the chassis, disconnect the telephone-network cables to avoid contact with telephone-network voltages.
Waarschuwing Voordat u het frame opent, dient u de verbinding met het telefoonnetwerk te verbreken door de kabels te ontkoppelen om zo contact met telefoonnetwerk-spanningen te vermijden.
Varoitus Vältä joutumista kosketuksiin puhelinverkostojännitteiden kanssa irrottamalla puhelinverkoston kaapelit ennen asennuspohjan aukaisemista.
Attention Avant d'ouvrir le châssis, débrancher les câbles du réseau téléphonique afin d'éviter tout contact avec les tensions d'alimentation du réseau téléphonique.
Warnung Bevor Sie das Chassis öffnen, ziehen Sie die Telefonnetzkabel aus der Verbindung, um Kontakt mit Telefonnetzspannungen zu vermeiden.
Avvertenza Prima di aprire il telaio, scollegare i cavi della rete telefonica per evitare di entrare in contatto con la tensione di rete.
Advarsel Før kabinettet åpnes, skal kablene for telenettet kobles fra for å unngå å komme i kontakt med spenningen i telenettet.
Aviso Antes de abrir o chassis, desligue os cabos da rede telefónica para evitar contacto com a tensão da respectiva rede.
¡Atención! Antes de abrir el chasis, desconectar el cableado dirigido a la red telefónica para evitar contacto con voltajes de la propia red.
Varning! Koppla loss ledningarna till telefonnätet innan du öppnar chassit så att kontakten med telefonnätsspänningen bryts.
Warning 
The ports labeled "Ethernet," "10BaseT," "Token Ring," "Console," and "AUX" are safety extra low voltage (SELV) circuits. SELV circuits should only be connected to other SELV circuits. Because the BRI circuits are treated like telephone-network voltage, avoid connecting the SELV circuit to the telephone-network-voltage (TNV) circuits.
Waarschuwing De poorten die "Ethernet", "10BaseT", "Token Ring", "Console" en "AUX" zijn gelabeld, zijn veiligheidscircuits met extra lage spanning (genaamd SELV = Safety Extra Low Voltage). SELV circuits mogen alleen met andere SELV circuits verbonden worden. Omdat de BRI circuits op dezelfde manier als telefoonnetwerk-spanning behandeld worden, mag u het SELV circuit niet verbinden met de Telefoonnetwerk-spanning (TNV) circuits.
Varoitus Portit, joissa on nimet "Ethernet", "10BaseT", "Token Ring", "Console" ja "AUX", ovat erityisen pienen jännityksen omaavia turvallisuuspiirejä (SELV-piirejä). Tällaiset SELV-piirit tulee yhdistää ainoastaan muihin SELV-piireihin. Koska perusluokan liitäntöjen (Basic Rate Interface- eli BRI-liitännät) jännite vastaa puhelinverkoston jännitettä, vältä SELV-piirin yhdistämistä puhelinverkoston jännitepiireihin (TNV-piireihin).
Attention Les ports étiquetés « Ethernet », « 10BaseT », « Token Ring », « Console » et « AUX » sont des circuits de sécurité basse tension (Safety Extra Low Voltage ou SELV). Les circuits SELV ne doivent être interconnectés qu'avec d'autres circuits SELV. Comme les circuits BRI sont considérés comme des sources de tension de réseau téléphonique, éviter de connecter un circuit SELV à un circuit de tension de réseau téléphonique (telephone-network-voltage ou TNV).
Warnung Die mit "Ethernet", "10BaseT", "Token Ring", "Console" und "AUX" beschrifteten Buchsen sind Sicherheitsschaltungen mit extraniedriger Spannung (Safety Extra Low Voltage, SELV). SELV-Schaltungen sollten ausschließlich an andere SELV-Schaltungen angeschlossen werden. Da die BRI-Schaltungen wie Telefonnetzspannung behandelt werden, ist die SELV-Schaltung nicht an Telefonnetzspannungsschaltungen (TNV) anzuschließen.
Avvertenza Le porte contrassegnate da "Ethernet", "10BaseT", "TokenRing", "Console" e "AUX" sono circuiti di sicurezza con tensione molto bassa (SELV). I circuiti SELV (Safety Extra Low Voltage - Tensione di sicurezza molto bassa) devono essere collegati solo ad altri circuiti SELV. Dato che i circuiti BRI vengono trattati come tensioni di rete telefonica, evitare di collegare il circuito SELV ai circuiti in cui è presente le tensione di rete telefonica (TNV).
Advarsel Utgangene merket "Ethernet", "10BaseT", "Token Ring", "Console" og "AUX" er lavspentkretser (SELV) for ekstra sikkerhet. SELV-kretser skal kun kobles til andre SELV-kretser. Fordi BRI-kretsene håndteres som telenettspenning, unngå å koble SELV-kretsen til kretser for telenettspenning (TNV).
Aviso As portas "Ethernet", "10BaseT", "Token Ring", "Console", and "AUX" são circuitos de segurança de baixa tensão (SELV). Estes circuitos deverão ser apenas ligados a outros circuitos SELV. Devido ao facto de os circuitos BRI (Interface de Ritmo Básico) serem tratados como sendo de tensão equivalente à da rede telefónica, evite ligar o circuito SELV aos circuitos TNV (tensão de rede telefónica).
¡Atención! Los puertos "Ethernet", "10BaseT", "Token Ring", "Console" y "AUX" son circuitos de baja señal (Safety Extra Low Voltage = SELV) que garantizan ausencia de peligro. Estos circuitos SELV deben ser conectados exclusivamente con otros también de tipo SELV. Puesto que los circuitos tipo BRI se comportan como aquéllos con voltajes de red telefónica, debe evitarse conectar circuitos SELV con circuitos de voltaje de red telefónica (TNV).
Varning! De portar som är märkta "Ethernet", "10BaseT", "Token Ring", "Console" och "AUX" är SELV-kretsar, d.v.s. skyddskretsar med extra låg spänning (SELV: Safety Extra-Low Voltage = skyddsklenspänning). SELV-kretsar får endast anslutas till andra SELV-kretsar. Eftersom BRI-kretsar behandlas liksom telefonnätsspänning bör SELV-kretsen inte anslutas till telefonnätsspänningskretsar (TNV-kretsar).
Warning 
The device is designed to work with TN power systems.
Waarschuwing Het apparaat is ontworpen om te functioneren met TN energiesystemen.
Varoitus Koje on suunniteltu toimimaan TN-sähkövoimajärjestelmien yhteydessä.
Attention Ce dispositif a été conçu pour fonctionner avec des systèmes d'alimentation TN.
Warnung Das Gerät ist für die Verwendung mit TN-Stromsystemen ausgelegt.
Avvertenza Il dispositivo è stato progettato per l'uso con sistemi di alimentazione TN.
Advarsel Utstyret er utfomet til bruk med TN-strømsystemer.
Aviso O dispositivo foi criado para operar com sistemas de corrente TN.
¡Atención! El equipo está diseñado para trabajar con sistemas de alimentación tipo TN.
Varning! Enheten är konstruerad för användning tillsammans med elkraftssystem av TN-typ.
This statement applies only to Norway and Sweden. This statement is listed in the following order:
Advarsel Apparatet skal kobles til en jordet stikkontakt.
Varning! Apparaten skall anslutas till jordat nätuttag.
|
|