This chapter describes the Cisco 3800 models, their components and features. The following sections are included:
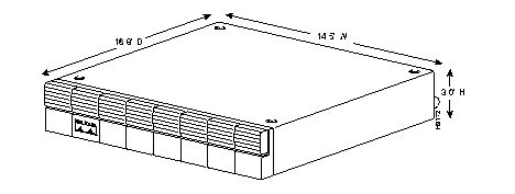
Cisco 3800 systems are members of a series of access products that provide multiservice switching access concentrator functionality to your site's network while introducing the ability to transport data, video, and voice traffic. The units can be used in an office or laboratory setting. (See Figure 1-1.) Managing a variety of data and voice traffic types, Cisco 3800 systems optimize your network's bandwidth with protocol synchronization and negotiation. Cisco 3800 models offer sub-T1 and E1 data and voice integration, interworking seamlessly with Cisco StrataCom IGX and IPX switches.
Figure 1-1: Cisco 3801 and Cisco 3803 Systems

Cisco 3800 product features are described in the following sections:
Hardware Features
- Can be installed and upgraded in the field--All Cisco 3800 series products install easily in the field. Option cards are simple to change and upgrade. Fan and power supplies must be replaced by a qualified field support technician.
- Variety of mounting options for each model--Rack-mounted, wall-mounted or desktop-mounted.
- Compact dimensions:
- Cisco 3801 measures 3 x 14.5 x 16.8 inches (H x W x D) weighing up to 15 lbs (6.8 kilos)
- Cisco 3803 measures 7 x 14.5 x 17.7 inches (H x W x D) weighing up to 27 lbs (12.3 kilos)
- Rocker switch for power--Located on the rear panel.
- Combo card--The main processing card with variations to accommodate a single- or multi-slot environment. An optional daughter card may be added for an additional T1/E1 and Ethernet port
- Expansion Router Module (ERM)--This module occupies one slot in a Cisco 3803 to provide additional Ethernet and Token Ring LAN interconnect capabilities in conjunction with the Combo card.
- Interchangeable cards between models--If you upgrade your cabinet size, you can use the same cards.
- Worldwide use supported--IEC 320 AC power receptacle accepts a variety of separately orderable international power cables.
- AC power autoranging--Cisco 3800 AC system accepts single-phase universal AC input voltage from 100-120 VAC to 200-240 VAC power.
- Distributed power reliability--Through on-card generation of regulated DC voltages from distributed -48V DC power.
- Port types available are as follows:
- Combo card--Four data ports with adapters accommodating five standard interface types, including V.35, RS-449, RS-232, X.21 and RS-530; two analog voice ports; one service and maintenance port.
- Daughter card--One T1/E1 port; one 10BaseT Ethernet port.
Network Management Features
- Configured directly or remotely:
- Directly configure your system by connecting a terminal to the service and maintenance port labeled SRV. Cisco IOS software boots automatically from system flash memory bringing you to the user interface recognized as an industry standard world-wide. You can use standard Cisco IOS software command language at the prompt.
- Remotely configure your system over an IP link from a Cisco StrataCom IPX or IGX switch product or any telnet client. Network configuration and maintenance software applications are documented for these products, such as SNMP, TFTP, telnet and code download. You can also use a simple WWW interface.
- Network topologies supported--Full interworking with Cisco StrataCom backbone equipment; Cisco StrataCom IGX and IPX switches; point-to-point connections;
- PSTN service--Connection to the Public Switched Telephone Network (PSTN) through a private branch exchange (PBX).
- IP connectivity--Cisco StrataView Plus accesses the Cisco 3800 through the IP network (an Ethernet 10BaseT port on the daughter card or through an FTC/FTM trunk connected to another Cisco 3800 node).
- Diagnostic support--Proprietary diagnostic support.
- Backbone connectivity--To Cisco StrataCom systems through the FTC/FTM card located in a Cisco StrataCom IGX or IPX switch.
- Token Ring support--Available by installing the optional Cisco 3800-ERM card.
- 10BaseT Ethernet LAN support--Available by installing the optional Ethernet daughter card or the optional Cisco 3800-ERM card.
- SVC-like support--Includes setting up voice ports to select a preset virtual circuit that mimics SVC requests to the backbone.
- Statistics and alarms--Accessed from StrataView Plus or manually.
Software Features
- Trunk features:
- May be allocated to one or more data connector
- Data rates supported from 56 kbps to 2.048 Mbps
- Provide Cisco 3800-to-Cisco 3800 connectivity and Cisco 3800-to-IPX/IGX connectivity via FTC/FTM port
- Point-to-point topology Cisco 3800 node interconnectivity supported
- End-to-end provisioning with IGX or IPX switches
- Seamless congestion management with IGX or IPX switches
- Performance: Up to 2 Mbps maximum on trunk
- A series of port protocols supported in Cisco IOS software including:
- Voice coding at:
- ADPCM, ITU G.726 standard at 16, 24 or 32k rates
- LDCELP, ITU G.728 standard at 16k rate (default)
- CSACELP, ITU G.729 standard at 8k rate
Note See the appendix
"Compliance Statements" for more information.
- Canadian lines: DOC approval for connection
- U.S. lines: FCC approval for connection
- UL/cUL/TUV for Safety
- IEC Safety
- CE Mark for EMC, Safety and Telecom. Complies with FCC part XV, subpart J, clause B requirements
Technical Specifications
The technical specifications of the Cisco 3800 series are listed in Table 1-1.
Table 1-1: Cisco 3800 System Technical Specifications
| Characteristic
| Specification
|
|---|
| Cisco 3801 capacity
| One slot with single-slot Combo card (3800-Combo-01) installed. A daughter card may be added to the configuration (3800-T1E1-EC)
|
| Cisco 3803 capacity
| Three slots with a Combo card (3800-Combo-01) in the bottom slot (0) with daughter card (3800-T1E1-EC) and a maximum of two ERMs or one other two-slot option card or any legal combination thereof:
- With zero ERM cards, a maximum of one 2-slot option card or two 1-slot option cards
- With one ERM, one 1-slot option card
|
|
Boot memory
| 512-KB Flash EPROM allows for in-system code updates
|
| Compact Flash memory
| 8 MB for code and configuration storage
|
| Local memory
| Local memory 16-MB DRAM SIMM
|
| Microprocessor
| Main CPU uses a Motorola MC68360
SPARC-lite RISC with local fast SRAM for real-time control
Mitel MT90810 FMIC
|
| Cisco 3801 dimensions (W x D x H)
| 14.5 x 16.8 x 3.0"
|
| Cisco 3803 dimensions (W x D x H)
| 14.5 x 17.7 x 7.0"
|
| Clearance requirements
| Allow adequate clearance at sides, top and bottom for airflow.
|
| Architecture
| PCIbus provides communication between feature cards and ATM switching using burst-mode transmission
MVIPbus provides transport of constant bit rate voice PCM data
Supports burst transfers of 1.0 Gbps maximum
|
| Cisco 3801 cabinet weight1
| 15 pounds (6.8 kilos) fully loaded
|
| Cisco 3803 cabinet weight1
| 27 pounds (12.27 kilos) fully loaded
|
| AC power input
| 100-240 VAC, 47-63 Hz
|
| AC power requirements2
| 6A maximum. @ 110V; 3A @ 220V
|
| AC input power connector
| AC power distribution is the same for all cabinets. It is an IEC 10A input connector. Five different power cords are available depending on country of destination.
|
| Operating temperature
| 32-104°F (0-40°C)
|
| Operating humidity
| 85% maximum, noncondensing at 50°C
|
| Shock
| Withstands 10 G, 10 ms. at 1/2 sine wave
|
| Vibration
| Withstands 1/4 G, 20-500 Hz.
|
| Heat transfer
| 1800 BTUs maximum.
|
The Cisco 3800 system can be ordered in modular form; you can order components to support your unique requirements. Components are described in the Table 1-2, Table 1-3, Table 1-4, Table 1-5, and Table 1-6. The following components of the system are available as separately orderable items:
Chassis and Turnkey Solutions
Note You can order all items directly or through a Cisco authorized resale agent.
Wall-mounting or rack-mounting kits are ordered optionally. Power cords must be specified but are provided at no charge when you order a Cisco 3800 chassis.
Table 1-2: Ordering Chassis and Turnkey Parts
| Part #
| Orderable Chassis or Turnkey Solution
| Comment
|
|---|
| 3801-AC-01
| AC powered single-slot Cisco 3800 unit with Combo card, Cisco 3810 chassis, power supply, four data/two voice ports
| Wall-mounts or rack-mounts optionally orderable, includes accessory kit
|
| 3810-AC
| Single-slot chassis, AC power
|
|
| 3830-AC
| Three-slot chassis, AC power
|
|
Cards
Note Order cards directly or through a Cisco authorized resales agent.
Table 1-3: Ordering Cards
| Part #
| Orderable Cards
| Comment
|
|---|
| 3800-Combo-01
| Combo card (mandatory--takes 1 slot) for single-card environments
| S/W image is a required option. CFRAD image provided at no charge
|
| 3800-ERM
| Expansion Router Module (ERM) (optional--takes 1 slot) with:
- One Ethernet port
- One Token Ring port
|
Supported by Cisco 3803 or Cisco 3880; requires one serial interface port of the Cisco 3800 Combo card; includes the cable CAB-D25M-530FC and its own Cisco IOS software image
|
| 3800-T1E1-EC
| Single T1/E1 line and single 10BaseT Ethernet line daughter card
| Supported by all models.
|
Mounting Assemblies
Note Order
mounting assemblies directly or through a Cisco authorized resales agent. All mounting can be performed by the customer.
Table 1-4: Ordering Mounting Assemblies
| Part #
| Orderable Mounting Assembly
|
|---|
| 3810-RWK
| Rack-mount or wall-mount kit, Cisco 3801 model
|
| 3830-RWK
| Rack-mount or wall-mount kit, Cisco 3803 model
|
Cables
Note Order accessories through a Cisco authorized resales agent. All cables can be installed by the customer. Interface cable pinouts are defined in the appendix
"Cisco 3800 Cable Pinouts."
Table 1-5: Ordering Cables
| Customer Order #
| Orderable Cables
| Comment
|
|---|
| CAB-D25M-V35MT
| Cisco 3800 DCE-to-V.35 DTE Cable
| Female, 34-pin, 10 ft.
|
| CAB-D25M-V35FC
| Cisco 3800 Console Cable
| Male, 34-pin, 10 ft.
|
| CAB-D25M-449FC
| Cisco 3800 DCE-to-RS-449 DCE Cable
| Female, DB-37, 10 ft.
|
| CAB-D25M-449MT
| Cisco 3800 DCE-to-RS-449 DTE Cable
| Male, DB-37, 10 ft.
|
| CAB-D25M-232FC
| Cisco 3800 DCE-to-RS-232 DCE Cable
| Female, 10 ft.
|
| CAB-D25M-232MT
| Cisco 3800 DCE-to-RS-232 DTE Cable
| Male
|
| CAB-X21FC
| Cisco 3800 DCE-to-X.21/V11 DCE Cable
| Female, 10 ft.
|
| CAB-X21MT
| Cisco 3800 DCE-to-X.21/V11 DTE Cable
| Male, 10 ft.
|
| CAB-D25M-539MT
| Cisco 3800 DCE-to-RS-530 DTE Cable on Cisco 3800-ERM
| Male, DB-25, 10 ft.
|
| CAB-D25M-530FC
| Cisco 3800 DCE-to-RS-530 DCE Cable
| Female, DB-25, 24 in.
|
| CAB-AC
| AC Power Cord, US
| Default, 10 ft.
|
| CAB-ACE
| AC Power Cord, Europe
| All, 10 ft.
|
| CAB-ACI
| CD12 Power Cord, Italy
| All, 10 ft.
|
| CAB-ACU
| AC Power Cord, UK
| All, 10 ft.
|
| CAB-ACA
| AC Power Cord, Australia
| All, 10 ft.
|
Software
Table 1-6: Ordering Software Images
| Customer Order #
| Orderable Software Image
| Size
|
|---|
| SF381DSN-11.2.XP
| c3800-ainr-mz
| 3.5 MB
|
| SF381F-11.2.XP
| c3800-f-mz
| 2.5 MB
|
| SF381LF-11.2.XP
| c3800-fin-mz
| 2.5 MB
|
| SF381A-11.2.XP
| c3800-j-mz
| 4 MB
|
Note As Cisco IOS software is enhanced and upgraded, new versions will be available. The orderable part number will change to reflect the version.
The Cisco 3801 is a low-cost entry model for small, remote offices. (See Figure 1-2.) This nonexpandable single-card unit can be wall-mounted in the same location as your site's telephone or networking equipment. It can also rest on a table or desktop. Rack-mounting hardware is available with a separately orderable shelf.
Figure 1-2: Cisco 3801

Cisco 3801 Features
The features of the Cisco 3801 are as follows:
- Standard hardware, software, and network management features described earlier in the chapter are provided by the Combo card (3800-Combo-01).
- A DB-15 T1/E1 port and an RJ-45 Ethernet port are added by installing the T1/E1 and Ethernet daughter card upgrade (3800-T1E1-EC).
Figure 1-3 illustrates the rear panel, which includes four serial interface ports, two voice ports, one service and maintenance port and, if a daughter card is installed, its T1/E1 and Ethernet ports.
Figure 1-3: Cisco 3801 Upgraded with a T1/E1 and Ethernet Daughter Card

The Cisco 3801 has a small 40W AC power supply providing -48V DC to the Combo card. Replacing the power supply is a task for a trained Cisco field service technician. The power supply is fan-cooled to ensure proper operation in an environment with an ambient temperature between 32 and 104°F (0 and 40°C).
Frame Bonding Connection
A mounting ground conductor is located to the left of the power switch. To properly connect it, place a starwasher between it and the chassis and use a ring terminal to terminate the grounding conductor.
The Cisco 3803 can be used in small, remote sites where expandability is required. (See Figure 1-4.) This medium-sized unit normally sits on a tabletop, although rack-mounting and wall-mounting are also options.
Figure 1-4: Cisco 3803

The Cisco 3803 is a mid-sized model for sites needing expandability. In addition to the Cisco 3801 features listed in the section "Features" earlier in this chapter, the Cisco 3803 provides support for additional Combo cards and other options such as the Cisco 3800-ERM card, described later in this chapter.
The Cisco 3803 has three horizontally oriented internal slots and an industrialized PCI and MVIP bus backplane. Cards insert from the rear of the unit. Installation, cabling, upgrade and maintenance are described in the chapter "Installing Cisco 3800 Cards."
Note Blank filler panels are installed in the top two slots of the unit shown in
Figure 1-5. Optional cards such as the one-slot ERM (Cisco 3800-ERM) can be installed in these slots.
Figure 1-5: Cisco 3803 Upgraded with a T1/E1 and Ethernet Daughter Card

Cisco options available for the Cisco 3803 include the Expansion Router Module (ERM) and the Combo card. The functions and behaviors of these optional cards are described in the chapter "Installing Cisco 3800 Cards." All cards communicate through serial interface cables.
Cards can be replaced by the installer in the field. The Combo card (3800-Combo-01) can be used in all models.
The Cisco 3803 is cooled by a single fan to ensure proper operation in an environment with an ambient temperature between 32 and 104°F (0 and 40°C).
Cisco 3803 120W AC Power Supply
All Cisco 3803 AC units are equipped with a single 120W power supply. The power supply can be replaced in the field by factory-trained and qualified Cisco personnel.
Frame Bonding Connection
A mounting ground conductor is located above the power switch on the Cisco 3803. To properly connect it, place a starwasher between it and the chassis and use a ring terminal to terminate the grounding conductor.
Cisco 3800 series systems use Cisco IOS software. Flash memory is 8 MB, providing enough space for two copies of the software image you select. Software images available are as follows:
- c3800-ainr-mz, 3.5MB, model number SF381DSN-11.2.XP
- c3800-f-mz, 2.5MB, model number SF381F-11.2.XP
- c3800-fin-mz, 2.5MB, model number SF381LF-11.2.XP
- c3800-j-mz, 4MB, model number SF381A-11.2.XP
The Cisco 3800 operates as an access subrate multiplexer in a network. The following topologies are supported:
Note Example configurations are described in the publication
Cisco 3800 Series Software Configuration Guide and Command Reference.
Simple topologies such as point-to-point connections between Cisco 3800 units or a Cisco StrataCom IPX or IGX switch are supported. (See Figure 1-6.)
Figure 1-6: Cisco 3800 Systems Connected Point to Point

More complex topologies include interworking with Cisco StrataCom IGX or IPX switches or to the public PSTN through a BPX system through a Frame Relay cloud. As many as 28 Cisco 3800 systems can be networked using this configuration in a mesh. (See Figure 1-7.)
Note Service to the PSTN is provided through a Cisco StrataCom IGX or IPX switch, Cisco StrataCom BPX service node, and DSU or CSU device.
Figure 1-7: Cisco 3800 Systems Connected in a Mesh
