Introduction
This appendix provides additional information on the tie line signalling standards and the FastPAD's E&M interface. The material presented here supplements the information provided in Chapter 7.
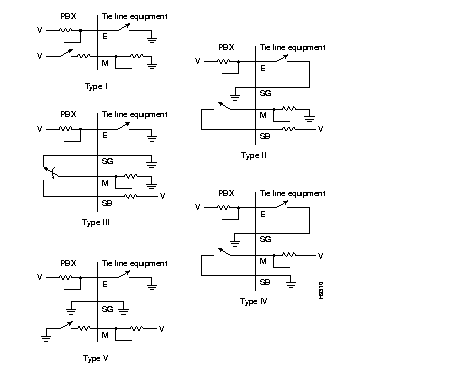
Signalling Types
The FastPAD supports five E&M signalling standards (Types I through V) for PBX tie line interfaces. These conventions, as defined by AT&T specifications, are described below.
With each signalling type, the PBX supplies one signal, known as the M signal (for Mouth), and accepts one signal, known as the E signal (for Ear). Conversely, the tie line equipment (e.g., the FastPAD) accepts the M signal from the PBX and provides the E signal to the PBX. The M signal accepted by the tie line equipment at one end of a tie circuit becomes the E signal output by the remote tie line interface.
Each of the five types is illustrated in Figure G-1. The illustrations in this figure are abstracted from the specifications to show the essential components of the signalling circuitry. In this Figure G-1, the symbol V refers to battery voltage, which can be 25 Vdc to 65 Vdc, and is usually (nominally) -48 Vdc. Each of the illustrations in the figure show the PBX's E&M interface on the left, and the corresponding tie line equipment interface on the right.
Type I
With the Type I interface the tie line equipment generates the E signal to the PBX by grounding the E lead. The PBX detects the E signal by sensing the increase in current through a resistive load (this is indicated in the Figure G-1 by the unconnected node branching from the right side of the E resistor). Similarly, the PBX generates the M signal by sourcing a current to the tie line equipment, which detects it via a resistive load.
The Type I interface requires that the PBX and tie line equipment share a common signalling ground reference. This can be achieved by connecting signal ground from the PBX to the SG lead (pin 8) of the RJ45 connector.
Type II
The Type II interface requires no common ground; instead, each of the two signals has its own return. For the E signal, the tie line equipment permits current to flow from the PBX; the current returns to the PBX's ground reference. Similarly, the PBX closes a path for current to generate the M signal to the tie line equipment.
Type III
A variation of Type II, Type III uses the SG lead to provide common ground. With this configuration, the PBX drops the M signal by grounding it, rather than by opening a current loop.
Type IV
Type IV is symmetric and requires no common ground. Each side closes a current loop to signal; the flow of current is detected via a resistive load to indicate the presence of the signal.
Type V
Type V is a simplified version of Type IV. This is also a symmetric interface, using only two wires. Type V requires a common ground between the PBX and the tie line equipment; this is provided via the SG leads.
Figure G-1: E&M Signalling Types

Application Examples
In examples below the term "attached device" refers to tie line equipment such as the FastPAD.
E&M Type I
- Idle Condition. The E lead is biased by the PBX at -48 Vdc. The M lead is biased at 0 Vdc by the attached device (FastPAD).
- PBX Initiated Call. The PBX supplies -48 Vdc to the M lead, signalling to the attached device that it wants a connection. The attached device grounds the E lead, signalling the response.
- Attached Device Initiated Call. The attached device grounds the E lead, signalling to the PBX that it wants a connection. The PBX supplies -48 Vdc to the M lead, signalling the response.
- PBX Initiated Disconnect. The PBX initiates disconnection by opening the M lead. The M lead is pulled to 0 Vdc, as biased by the attached device. In response, the attached device opens the E lead, which is pulled to -48 Vdc, as biased by the PBX.
- Attached Device Initiated Disconnect. The attached device initiates the disconnect by opening the E lead. The E lead is pulled to -48 Vdc as biased by the PBX. In response, the PBX opens the M lead. The M lead, which is pulled to 0 Vdc, as biased by the attached device.
E&M Type II
- Idle Condition. The E lead is biased by the PBX at -48 Vdc. The M lead is biased at -48 Vdc by the attached device (FastPAD).
- PBX Initiated Call. The PBX grounds the M lead, signalling to the attached device that it wants a connection. The attached device grounds the E lead, signalling the response.
- Attached Device Initiated Call. The attached device grounds the E lead, signalling to the PBX that it wants a connection. The PBX grounds the M lead, signalling the response.
- PBX Initiated Disconnect. The PBX initiates disconnection by opening the M lead. The M lead is pulled to -48 Vdc, as biased by the attached device. In response, the attached device opens the E lead, which is pulled to -48 Vdc, as biased by the PBX.
- Attached Device Initiated Disconnect. The attached device initiates the disconnect by opening the E lead. The E lead is pulled to -48 Vdc as biased by the PBX. In response, the PBX opens the M lead. The M lead, which is pulled to -48 Vdc, as biased by the attached device.
E&M Type V
- Idle Condition. The E lead is biased by the PBX at -48 Vdc. The M lead is biased at -48 Vdc by the attached device (FastPAD).
- PBX Initiated Call. The PBX grounds the M lead, signalling to the attached device that it wants a connection. The attached device grounds the E lead, signalling the response.
- Attached Device Initiated Call. The attached device grounds the E lead, signalling to the PBX that it wants a connection. The PBX grounds the M lead, signalling the response.
- PBX Initiated Disconnect. The PBX initiates disconnection by opening the M lead. The M lead is pulled to -48 Vdc, as biased by the attached device. In response, the attached device opens the E lead, which is pulled to -48 Vdc, as biased by the PBX.
- Attached Device Initiated Disconnect. The attached device initiates the disconnect by opening the E lead. The E lead is pulled to -48 Vdc as biased by the PBX. In response, the PBX opens the M lead. The M lead, which is pulled to -48 Vdc, as biased by the attached device.
FastPAD E&M Interface
The FastPAD's E&M interface is designed to connect with that of a PBX tie line port, and provide appropriate end-to-end signalling support for a variety of applications. The following paragraphs describe this interface in detail.
- FastPAD Circuits and E&M Signalling. The FastPAD generates the E signal to the PBX in response to an inbound signal at the remote FastPAD. That signal depends on the application of the remote unit. The local FastPAD will generate the E signal in the following applications:
- The remote FastPAD is configured for E&M signalling, and detects an active M signal, The remote unit uses the FastPAD OPX option, and detects an off hook condition on its two-wire loop-start or ground-start circuit. The remote unit uses the FastPAD SLT option, and detects a ring signal on its two-wire loop-start or ground-start circuit.