|
|
Product Numbers:
ACS-3620RM-19=, ACS-3620RM-24=, ACS-3640RM-19=, ACS-3640RM-24=
CPAACS-3620RM-19=, CPAACS-3620RM-24=, CPAACS-3640RM-19=, CPAACS-3640RM-24=
This document describes how to rack-mount a Cisco 3620 or 3640 router or a Cisco 600-Watt Redundant AC Power System (RPS) (PWR600-AC-RPS). Instructions are also included for wall-mounting a Cisco 3620 or 3640 router.
This document includes the following sections:
Follow these guidelines to ensure general safety:
Safety warnings appear throughout this publication in procedures that, if performed incorrectly, may harm you. A warning symbol precedes each safety warning.
Warning 
This warning symbol means danger. You are in a situation that could cause bodily injury. Before you work on any equipment, be aware of the hazards involved with electrical circuitry and be familiar with standard practices for preventing accidents. To see translations of the warnings that appear in this publication, refer to the Regulatory Compliance and Safety Information document that accompanied this device.
Waarschuwing Dit waarschuwingssymbool betekent gevaar. U verkeert in een situatie die lichamelijk letsel kan veroorzaken. Voordat u aan enige apparatuur gaat werken, dient u zich bewust te zijn van de bij elektrische schakelingen betrokken risico's en dient u op de hoogte te zijn van standaard maatregelen om ongelukken te voorkomen. Voor vertalingen van de waarschuwingen die in deze publicatie verschijnen, kunt u het document Regulatory Compliance and Safety Information (Informatie over naleving van veiligheids- en andere voorschriften) raadplegen dat bij dit toestel is ingesloten.
Varoitus Tämä varoitusmerkki merkitsee vaaraa. Olet tilanteessa, joka voi johtaa ruumiinvammaan. Ennen kuin työskentelet minkään laitteiston parissa, ota selvää sähkökytkentöihin liittyvistä vaaroista ja tavanomaisista onnettomuuksien ehkäisykeinoista. Tässä julkaisussa esiintyvien varoitusten käännökset löydät laitteen mukana olevasta Regulatory Compliance and Safety Information -kirjasesta (määräysten noudattaminen ja tietoa turvallisuudesta).
Attention Ce symbole d'avertissement indique un danger. Vous vous trouvez dans une situation pouvant causer des blessures ou des dommages corporels. Avant de travailler sur un équipement, soyez conscient des dangers posés par les circuits électriques et familiarisez-vous avec les procédures couramment utilisées pour éviter les accidents. Pour prendre connaissance des traductions d'avertissements figurant dans cette publication, consultez le document Regulatory Compliance and Safety Information (Conformité aux règlements et consignes de sécurité) qui accompagne cet appareil.
Warnung Dieses Warnsymbol bedeutet Gefahr. Sie befinden sich in einer Situation, die zu einer Körperverletzung führen könnte. Bevor Sie mit der Arbeit an irgendeinem Gerät beginnen, seien Sie sich der mit elektrischen Stromkreisen verbundenen Gefahren und der Standardpraktiken zur Vermeidung von Unfällen bewußt. Übersetzungen der in dieser Veröffentlichung enthaltenen Warnhinweise finden Sie im Dokument Regulatory Compliance and Safety Information (Informationen zu behördlichen Vorschriften und Sicherheit), das zusammen mit diesem Gerät geliefert wurde.
Avvertenza Questo simbolo di avvertenza indica un pericolo. La situazione potrebbe causare infortuni alle persone. Prima di lavorare su qualsiasi apparecchiatura, occorre conoscere i pericoli relativi ai circuiti elettrici ed essere al corrente delle pratiche standard per la prevenzione di incidenti. La traduzione delle avvertenze riportate in questa pubblicazione si trova nel documento Regulatory Compliance and Safety Information (Conformità alle norme e informazioni sulla sicurezza) che accompagna questo dispositivo.
Advarsel Dette varselsymbolet betyr fare. Du befinner deg i en situasjon som kan føre til personskade. Før du utfører arbeid på utstyr, må du vare oppmerksom på de faremomentene som elektriske kretser innebærer, samt gjøre deg kjent med vanlig praksis når det gjelder å unngå ulykker. Hvis du vil se oversettelser av de advarslene som finnes i denne publikasjonen, kan du se i dokumentet Regulatory Compliance and Safety Information (Overholdelse av forskrifter og sikkerhetsinformasjon) som ble levert med denne enheten.
Aviso Este símbolo de aviso indica perigo. Encontra-se numa situação que lhe poderá causar danos físicos. Antes de começar a trabalhar com qualquer equipamento, familiarize-se com os perigos relacionados com circuitos eléctricos, e com quaisquer práticas comuns que possam prevenir possíveis acidentes. Para ver as traduções dos avisos que constam desta publicação, consulte o documento Regulatory Compliance and Safety Information (Informação de Segurança e Disposições Reguladoras) que acompanha este dispositivo.
¡Advertencia! Este símbolo de aviso significa peligro. Existe riesgo para su integridad física. Antes de manipular cualquier equipo, considerar los riesgos que entraña la corriente eléctrica y familiarizarse con los procedimientos estándar de prevención de accidentes. Para ver una traducción de las advertencias que aparecen en esta publicación, consultar el documento titulado Regulatory Compliance and Safety Information (Información sobre seguridad y conformidad con las disposiciones reglamentarias) que se acompaña con este dispositivo.
Varning! Denna varningssymbol signalerar fara. Du befinner dig i en situation som kan leda till personskada. Innan du utför arbete på någon utrustning måste du vara medveten om farorna med elkretsar och känna till vanligt förfarande för att förebygga skador. Se förklaringar av de varningar som förkommer i denna publikation i dokumentet Regulatory Compliance and Safety Information (Efterrättelse av föreskrifter och säkerhetsinformation), vilket medföljer denna anordning.
Follow these guidelines when working on equipment powered by electricity:
![]() | Warning To ensure your safety and the safety of others, be sure the power is OFF and the power cord is unplugged before working on the router. |
![]() | Warning Do not work on the system or connect or disconnect cables during periods of lightning activity. |
![]() | Warning Before working on equipment that is connected to power lines, remove jewelry (including rings, necklaces, and watches). Metal objects will heat up when connected to power and ground and can cause serious burns or weld the metal object to the terminals. |
Electrostatic discharge (ESD) can damage equipment and impair electrical circuitry. It occurs when electronic printed circuit cards are improperly handled and can result in complete or intermittent failures. Always follow ESD prevention procedures when removing and replacing cards. Ensure that the router chassis is electrically connected to earth ground. Wear an ESD-preventive wrist strap, ensuring that it makes good skin contact. Connect the clip to an unpainted surface of the chassis frame to safely channel unwanted ESD voltages to ground. To properly guard against ESD damage and shocks, the wrist strap and cord must operate effectively. If no wrist strap is available, ground yourself by touching the metal part of the chassis.
![]() | Caution For safety, periodically check the resistance value of the antistatic strap, which should be between 1 and 10 megohms (Mohm). |
You can mount the chassis in a 19-, 23-, or 24-inch equipment rack. The following information will help you plan your equipment rack configuration:
This section describes how to rack-mount and wall-mount Cisco 3600 series routers. If you have a Cisco RPS, skip this section and proceed to the section "Rack-Mounting the Cisco 600-Watt Redundant AC Power System," on page 12.
If you are planning to rack-mount or wall-mount your router, do so before making network and power connections. If you need to install network modules or WAN interface cards, you can do so either before or after rack-mounting or wall-mounting the router, whenever you have better access to the rear panel of the router.
This section explains how to rack-mount the Cisco 3600 series router chassis. The illustrations in this section show the Cisco 3640 chassis, although the procedure is the same whether you have a Cisco 3620 or 3640 router and regardless of the size of the brackets.
To rack-mount a Cisco 3600 series router, you will need the following tools and equipment (which are not included):
Each router ships with one set of brackets. Brackets for 19-inch racks are shipped unless you specify 23-inch or 24-inch brackets at the time of your order. Figure 1 shows brackets for the Cisco 3620 router, and Figure 2 shows brackets for the Cisco 3640 router.


To install the router in a rack, attach the brackets in one of the following ways:



After you attach the brackets to the chassis, you can mount it in a rack. Using your own screws, attach the chassis to the rack as shown in Figure 6.

Attach the cable guides to the rack-mounting brackets on each side of the chassis as shown in Figure 7.

If you are planning to wall-mount your router, do so before making network and power connections. If you need to install network modules or WAN interface cards, you can do so either before or after mounting the router, whenever you have better access to the rear of the router.
You need the following tools and equipment to install a Cisco 3600 series router on a wall:
Cisco Systems does not supply the board or screws.
Each router ships with one set of brackets. Brackets for 19-inch racks are shipped unless you specify 23-inch or 24-inch brackets at the time of your order. The Cisco 3620 router requires 19-inch rack brackets to mount on a wall, and the Cisco 3640 router requires 23-inch or 24-inch rack brackets to mount on a wall. Figure 8 shows the wall-mount brackets.

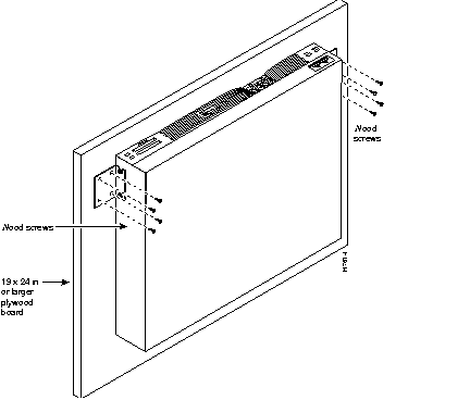
Take these steps to mount the router on a wall (refer to Figure 11 for the Cisco 3620 and Figure 12 for the Cisco 3640):
Step 1 Attach the brackets to each side of the chassis.


Step 2 Using the brackets as a pattern, mark and drill holes on the board where you will fasten the router. Do not attach the router to the board yet.
Step 3 Locate the wall studs where you plan to attach the router.
![]() | Caution The router must be fastened securely to two studs. |
Step 4 Drill wall-mount screw holes through the plywood board and studs.
Step 5 Mount the plywood board to the wall, using your own 3/16 x 2 1/2-inch or larger wood screws.
Step 6 Using your own screws, approximately #6 x 1/2-inch (depending on the thickness of the board), fasten the router to the board by the mounting brackets.


This section describes how to rack-mount the Cisco RPS. The illustrations in this section show how to attach the brackets for use in 23- or 24-inch equipment racks, although the procedure is the same regardless of the size of the brackets. If you have a Cisco 3600 series router, go back to the section "Rack-Mounting and Wall-Mounting Cisco 3600 Series Routers," on page 5.
To rack-mount the Cisco RPS, you will need the following tools and equipment (which are not included):
The Cisco RPS ships with one set of 19-inch rack-mount brackets. (You can order 23- or 24-inch brackets separately. Figure 13 shows the rack-mount brackets.)

To install the Cisco RPS in a rack, attach the brackets in one of the following ways:


After the brackets are secured to the chassis, you can rack-mount it. Using your own screws, attach the chassis to the rack as shown in Figure 17.

Cisco Connection Online (CCO), formerly Cisco Information Online (CIO), is Cisco Systems' primary, real-time support channel. Maintenance customers and partners can self-register on CCO to obtain additional content and services.
Available 24 hours a day, 7 days a week, CCO provides a wealth of standard and value-added services to Cisco's customers and business partners. CCO services include product information, software updates, release notes, technical tips, the Bug Navigator, configuration notes, brochures, descriptions of service offerings, and download access to public and authorized files.
CCO serves a wide variety of users through two interfaces that are updated and enhanced simultaneously--a character-based version and a multimedia version that resides on the World Wide Web (WWW). The character-based CCO supports Zmodem, Kermit, Xmodem, FTP, and Internet e-mail, and is excellent for quick access to information over lower bandwidths. The WWW version of CCO provides richly formatted documents with photographs, figures, graphics, and video, as well as hyperlinks to related information.
You can access CCO in the following ways:
For a copy of CCO's Frequently Asked Questions (FAQ), contact cco-help@cisco.com. For additional information, contact cco-team@cisco.com.

|
|